格力申请双面女王商标

#格力申请御龄魔杖商标#

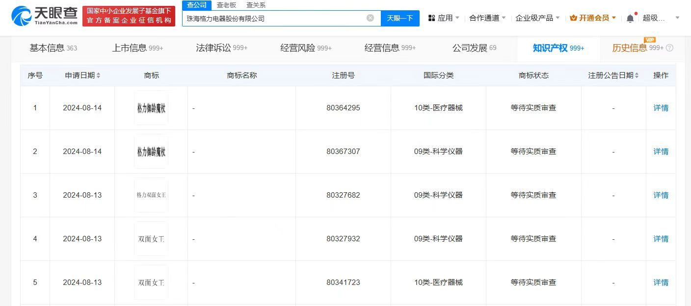
天眼查App显示,近日,珠海格力电器股份有限公司申请注册多枚“双面女王”“格力御龄魔杖”“格力双面女王”商标,国际分类涉及医疗器械、科学仪器,当前商标状态均为等待实质审查。

格力申请双面女王商标

格力申请双面女王商标

格力申请双面女王商标

天眼查信息:https://www.tianyancha.com/company/33822284/zhishi

本文来自投稿,不代表创造权威IP 赋能创业者——IP百创立场,如若转载,请注明出处:创造权威IP 赋能创业者——IP百创

(0)
打赏 微信扫一扫 微信扫一扫 支付宝扫一扫 支付宝扫一扫
上一篇 2024年9月2日
下一篇 2024年9月2日

相关推荐

  • 杰华特在苏州西安成立公司

    天眼查App显示,近日,杰瓦特微电子(苏州)有限公司、杰华特微电子(西安)有限公司成立,注册资本分别为2000万人民币、1000万人民币,法定代表人均为黄必亮,经营范围均含集成电路制造;集成电路芯片及产品制造、集成电路芯片及产品销售、集成电路设计、电子产品销售等,均由杰华特全资持股。 天眼查信息: https://www.tianyancha.com/com…

    2024年7月25日
  • 众泰汽车被强制执行9001万

    天眼查法律诉讼信息显示,近日,众泰汽车及旗下湖南江南汽车制造有限公司、湖南江南汽车制造有限公司重庆分公司新增一条被执行人信息,执行标的9001万余元,涉及租赁合同纠纷案件,执行法院为重庆市璧山区人民法院。 众泰汽车股份有限公司成立于1998年8月,法定代表人为胡泽宇,注册资本约50.4亿人民币,由江苏深商控股集团有限公司、浙商银行股份有限公司金华分行、深圳市…

    2024年7月10日
  • 核心业务下滑,基本盘动摇?伊利能否突破“瓶颈期”?

    人口出生率持续走低、市场竞争近乎白热化,乳制品行业,深陷需求锐减的泥沼,头部乳企伊利亦未能幸免。2024 年前三季财报显示,伊利总营收为 890.39 亿元,同比下降 8.59%;净利润为108.68亿元,同比增长 15.87%。 为了应对市场挑战,伊利试图实施生育补贴计划,刺激市场需求、拓展市场份额,打破市场困局。伊利股份发布公告,4月将推出16亿元生育补…

    2025年4月15日
  • 天齐锂业宁德时代盛新锂能合资

    甲基卡矿区电网项目公司成立# 天眼查App显示,近日,四川天盛时代新能源有限公司成立,法定代表人为余光亚,注册资本3亿人民币,经营范围为供电业务,发电业务、输电业务、供(配)电业务,技术服务、技术开发、技术咨询、技术交流、技术转让、技术推广。股东信息显示,该公司由天齐锂业旗下四川天齐盛合锂业有限公司、宁德时代旗下雅江县斯诺威矿业发展有限公司、盛新锂能旗下雅江…

    2024年7月19日
  • 未履行875万案款 #碧桂园地产成老赖#

    天眼查法律诉讼信息显示,近日,因有履行能力而拒不履行生效法律文书确定义务,碧桂园地产集团有限公司、六安碧桂园房地产开发有限公司、安徽湖滨建设集团有限公司被六安市金安区人民法院列为失信被执行人(老赖),涉及建设工程施工合同纠纷案件,被执行人的履行情况为“全部未履行”。生效法律文书确定的义务显示,被告六安碧桂园房地产开发有限公司应支付原告工程折价损失补偿款875…

    2024年8月13日

发表回复

您的电子邮箱地址不会被公开。 必填项已用*标注

联系我们

邮件:939297903@qq.com

工作时间:周一至周五,9:30-18:30,节假日休息

关注微信