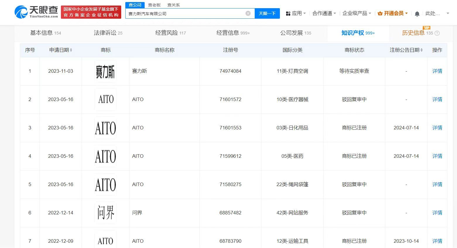
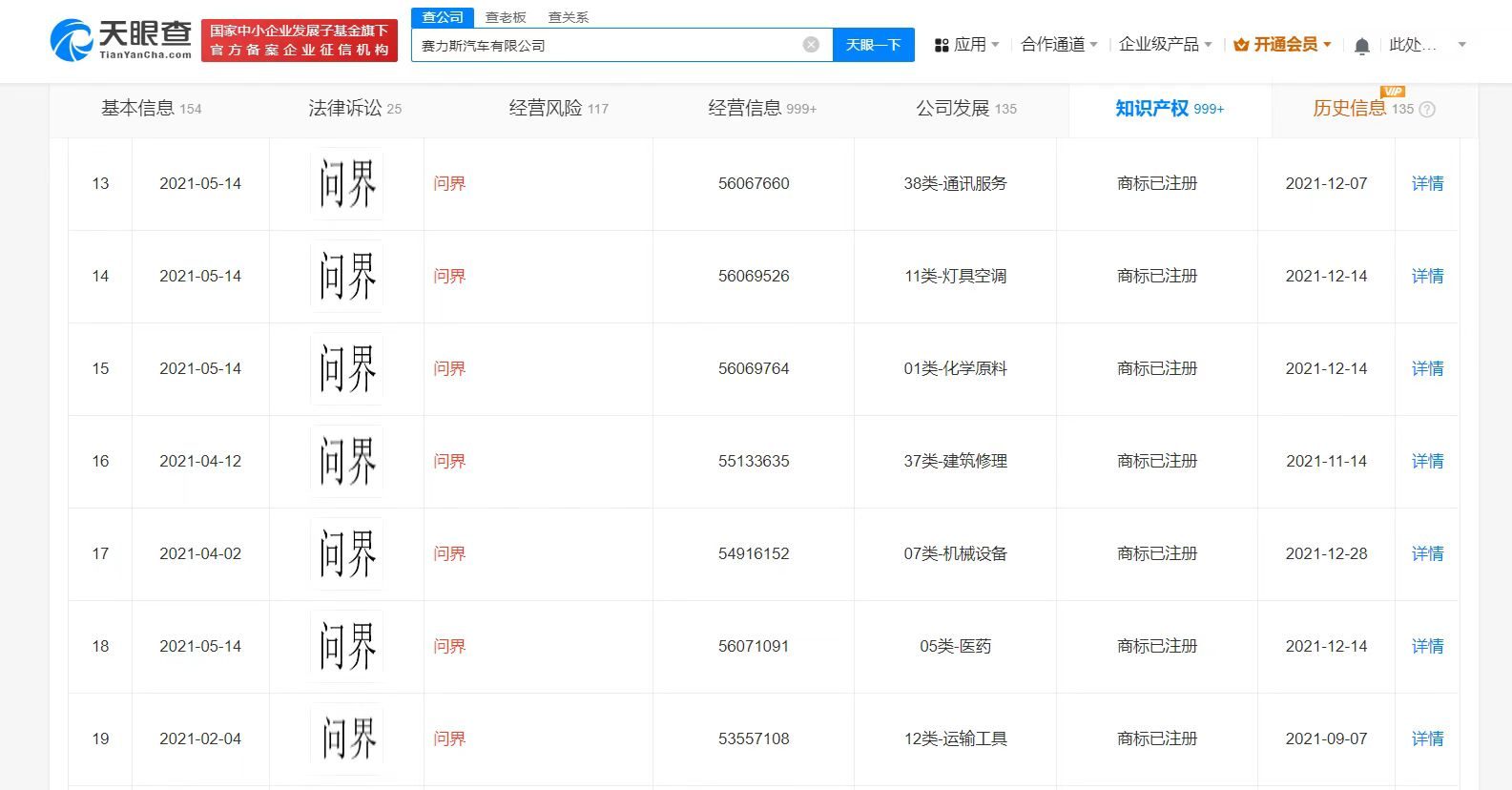
华为已将问界商标转让至赛力斯

#赛力斯已获得数百枚问界系列商标#

天眼查知识产权信息显示,近日,华为技术有限公司将持有的数百枚“问界”“AITO”“AITO SELECT”“DESIGN FOR AITO”等文字和图形商标转让至赛力斯汽车有限公司,商标国际分类涉及运输工具、科学仪器、广告销售等。

华为已将问界商标转让至赛力斯

华为已将问界商标转让至赛力斯

华为已将问界商标转让至赛力斯

华为已将问界商标转让至赛力斯

据媒体报道,不久前,赛力斯宣布其控股子公司赛力斯汽车有限公司拟收购华为技术有限公司及其关联方持有的已注册或申请中的919项问界等系列文字和图形商标,收购价款合计25亿元。

天眼查信息:https://www.tianyancha.com/company/24416401/zhishi

本文来自投稿,不代表创造权威IP 赋能创业者——IP百创立场,如若转载,请注明出处:创造权威IP 赋能创业者——IP百创

(0)
打赏 微信扫一扫 微信扫一扫 支付宝扫一扫 支付宝扫一扫
上一篇 2024年9月2日
下一篇 2024年9月2日

相关推荐

  • 中远海运金风科技合资公司在沧州成立新公司

    天眼查App显示,近日,沧州城工新能源有限公司成立,法定代表人为孙超,注册资本910万人民币,经营范围含太阳能发电技术服务、风力发电技术服务等。股东信息显示,该公司由天津远海金风新能源有限公司全资持股,后者由中远海运(天津)有限公司、金风科技(002202)旗下北京金风零碳能源有限公司和金风投资控股有限公司共同持股。 天眼查信息:https://www.ti…

    行业动态 2024年9月5日
  • 行稳致远,进而有为,爱奇艺秋季悦享会有感

    宏观层面把握行业趋势、内容风向,微观层面升级创作思维、内容品质及挖掘IP潜能,而这正是爱奇艺进入“Next level”的核心支撑。

    2024年9月26日
  • 山姆在北京房山成立新公司注册资本300万美元

    天眼查App显示,近日,北京房山沃尔玛山姆超市有限公司成立,法定代表人为郑硕怀,注册资本300万美元,经营范围包括食品互联网销售、酒类经营、食品经营管理、商业综合体管理服务等。股东信息显示,该公司由山姆(上海)投资有限公司全资持股。 天眼查信息:https://www.tianyancha.com/company/7850975105

    2025年11月18日
  • 天眼查315数据:#利哥供应链曾因销售不合规饮料被罚#

    #直播间里的儿子们# #315曝光苦情戏直播局中局#央视315晚会曝光苦情戏直播“局中局”,“儿子”们专门骗老人买“神药”。其中,利哥供应链被点名。天眼查App显示,利哥(临沂)商贸有限公司成立于2021年5月,法定代表人为王凯,注册资本200万人民币,经营范围包括五金产品批发;日用百货销售;化妆品零售等,由王凯全资持股。风险信息显示,该公司曾因销售标签不符…

    2023年3月15日
  • 一季度美团骑手收入涨12%北上广破1万元,社保正逐步拓展覆盖

    5月26日美团披露2025年一季度骑手收入情况,全国范围内高频骑手的月均收入在7230元至10100元之间。以熟练骑手组成的乐跑骑手为例,这类骑手的月收入均值最高,在北上广深等高线城市可达12593元。根据美团研究院调研数据,2024年月均有单骑手数量为336万。 美团相关人士表示,自2024年9月以来,美团已连续9个月对外披露骑手收入和保障各项数据,公开透…

    2025年5月26日

发表回复

您的电子邮箱地址不会被公开。 必填项已用*标注

联系我们

邮件:939297903@qq.com

工作时间:周一至周五,9:30-18:30,节假日休息

关注微信