王文银及正威集团等被强执3.8亿

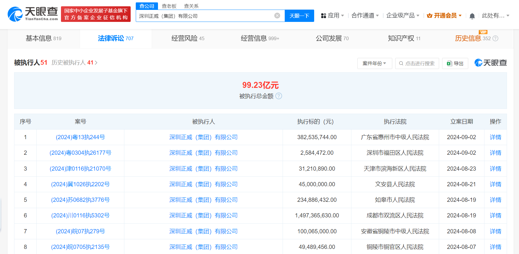
天眼查法律诉讼信息显示,9月2日,深圳正威(集团)有限公司新增2条被执行人信息,执行标的合计3.85亿余元,被执行人还包括惠州博威新材料有限公司、惠州驰威新材料有限公司、王文银等,执行法院为广东省惠州市中级人民法院、深圳市福田区人民法院。

王文银及正威集团等被强执3.8亿

王文银及正威集团等被强执3.8亿

风险信息显示,深圳正威(集团)有限公司现存51条被执行人信息,被执行总金额超99亿元。此外,该公司还存在多个限制消费令、失信被执行人(老赖)及终本案件信息。

天眼查信息:https://www.tianyancha.com/company/15100408/sifa

本文来自投稿,不代表创造权威IP 赋能创业者——IP百创立场,如若转载,请注明出处:创造权威IP 赋能创业者——IP百创

(0)
打赏 微信扫一扫 微信扫一扫 支付宝扫一扫 支付宝扫一扫
上一篇 2024年9月3日
下一篇 2024年9月3日

相关推荐

  • 去中心化不仅是伪命题,还暗藏老板们所未知的玄机

    最近沸沸扬扬的东方甄选内斗事件终于落下了帷幕,对此很多人从不同角度做了各种各样的分析。不过,笔者认为,其本质是去中心化与中心化的冲突。 董宇辉带货额占东方甄选的50%以上,这引发了东方小孙为代表的管理团队的警惕,希望能去中心化,但是最终的结果大家都看到了:去中心化的努力失败了。而之所以董宇辉最终留在了东方甄选,是因为俞敏洪敏锐地看到了管理团队去中心化的问题,…

    互联网 2023年12月26日
  • 华人运通投资公司申请破产审查

    天眼查法律诉讼信息显示,8月28日,华人运通投资有限公司新增一则破产审查案件,申请人为该公司,经办法院为莱西市人民法院。 华人运通投资有限公司成立于2022年1月,法定代表人为丁磊,注册资本5亿美元,由Human Horizons Limited全资持股。据报道,近期,华人运通(江苏)技术有限公司以其资产不能清偿全部到期债务,但具备重整价值和重整可能性为由,…

    2024年8月28日
  • 王文银及正威集团等被强执3.8亿

    天眼查法律诉讼信息显示,9月2日,深圳正威(集团)有限公司新增2条被执行人信息,执行标的合计3.85亿余元,被执行人还包括惠州博威新材料有限公司、惠州驰威新材料有限公司、王文银等,执行法院为广东省惠州市中级人民法院、深圳市福田区人民法院。 风险信息显示,深圳正威(集团)有限公司现存51条被执行人信息,被执行总金额超99亿元。此外,该公司还存在多个限制消费令、…

    2024年9月3日 下午3:11
  • 小杨哥疯狂“进击”美瞳生意

    欧普康视与三只羊,大概对这个领域的潜力怀着无比的期待。

    2023年8月16日
  • 全红婵带火直播“拆乌龟”,树脂小玩具令人上头“硬控”全网

    由奥运跳水冠军全红婵引爆的“乌龟对对碰”游戏逐渐成为直播平台新宠,凯旋归国后,全红婵在抖音上晒出了她的乌龟大军,大大小小五颜六色的有上百只。 据悉,“乌龟对对碰”是近期在网络直播平台上流行的一种盲盒玩法。消费者需先购买数包盲袋或者盲盒,并许愿一种颜色。主播现场拆开包含不同颜色的树脂乌龟盲袋。玩法的核心在于“对对碰”,如拆出的乌龟颜色与买家许愿的颜色一致,或拆…

    2024年8月23日

发表回复

您的电子邮箱地址不会被公开。 必填项已用*标注

联系我们

邮件:939297903@qq.com

工作时间:周一至周五,9:30-18:30,节假日休息

关注微信