融创等被强制执行6亿

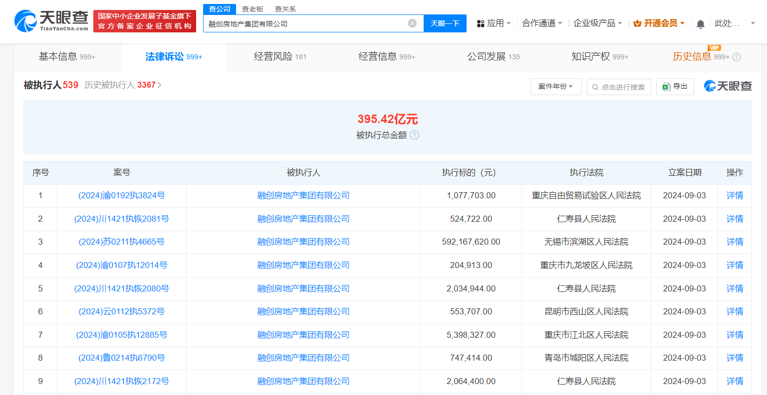
天眼查法律诉讼信息显示,9月3日,融创房地产集团有限公司新增9条被执行人信息,执行标的合计6亿人民币,涉及票据纠纷、融资租赁合同纠纷、票据追索权纠纷等案件,部分案件被执行人还包括江北区俊沅建筑设备租赁部、融创西南房地产开发(集团)有限公司等,执行法院为重庆自由贸易试验区人民法院、仁寿县人民法院、无锡市滨湖区人民法院等。

融创等被强制执行6亿

融创等被强制执行6亿

风险信息显示,融创房地产集团有限公司现存539条被执行人信息,被执行总金额超395亿元。此外,该公司还存在多条限制消费令、失信被执行人(老赖)及终本案件信息。

天眼查信息:https://www.tianyancha.com/company/1684115751/sifa

本文来自投稿,不代表创造权威IP 赋能创业者——IP百创立场,如若转载,请注明出处:创造权威IP 赋能创业者——IP百创

(0)
打赏 微信扫一扫 微信扫一扫 支付宝扫一扫 支付宝扫一扫
上一篇 2024年9月5日
下一篇 2024年9月5日

相关推荐

  • 梦泪成AG超玩会股东

    #梦泪入股AG超玩会公司# 天眼查App显示,近日,AG超玩会关联公司全玩汇(成都)网络科技有限公司发生工商变更,新增肖闽辉(游戏ID:梦之泪伤,简称梦泪)为股东,认缴出资额约130.88万人民币。同时,该公司注册资本由约719.86万人民币增至约850.74万人民币。据悉,肖闽辉为王者荣耀职业选手,AG超玩会俱乐部打野。 全玩汇(成都)网络科技有限公司成立…

    2024年6月26日
  • 乙游已被注册为商标

    #乙游商标已被抢注##派克特删除diss# 近日,派克特在微博发歌diss乙游引发关注,但随后恋与深空游戏公司叠纸发布声明要求派克特道歉,派克特随后删除该视频。 天眼查App显示,“乙游”已被南京某科技公司注册为商标,该商标国际分类为网站服务,申请于2021年,于2022年6月完成注册。公开信息显示,乙游指乙女向游戏,是一种以女性群体为目标受众的恋爱模拟类游…

    2024年8月27日
  • 年度AI十大趋势报告出炉!MEET2025智能未来大会带你玩转科技新世界

    今天上午,MEET2025智能未来大会在北京隆重召开。

    2024年12月11日
  • 爱奇艺“开炮”红果!短剧之战,风波又起!

    视频“时长之战”,风波又起。近日,一则有关“排他性协议”的争论性言论,再次把长短视频平台间的冲突摆到了明面上。 在首届中国电视剧制作产业大会上,爱奇艺创始人、CEO龚宇表示,“有些平台利用市场的主导地位,签一些排他性协议。而且不是一部剧的排他,是这个公司在协议期内所有内容不能跟其他方再合作了。这件事会抑制行业的发展,是微短剧行业的。” 龚宇此番言论直指红果滥…

    2025年2月27日
  • #美团在苏州成立新科技公司# 注册资本3000万美元

    天眼查App显示,近日,苏州摩拜科技有限公司成立,法定代表人为孙可青,注册资本3000万美元,经营范围含共享自行车服务、电动自行车销售、智能机器人的研发、物联网技术研发、人工智能基础软件开发、网络与信息安全软件开发、信息技术咨询服务、物联网应用服务、信息咨询服务等。股东信息显示,该公司由美团旗下Xigua Limited全资持股。 天眼查信息:https:/…

    2024年7月5日

发表回复

您的电子邮箱地址不会被公开。 必填项已用*标注

联系我们

邮件:939297903@qq.com

工作时间:周一至周五,9:30-18:30,节假日休息

关注微信