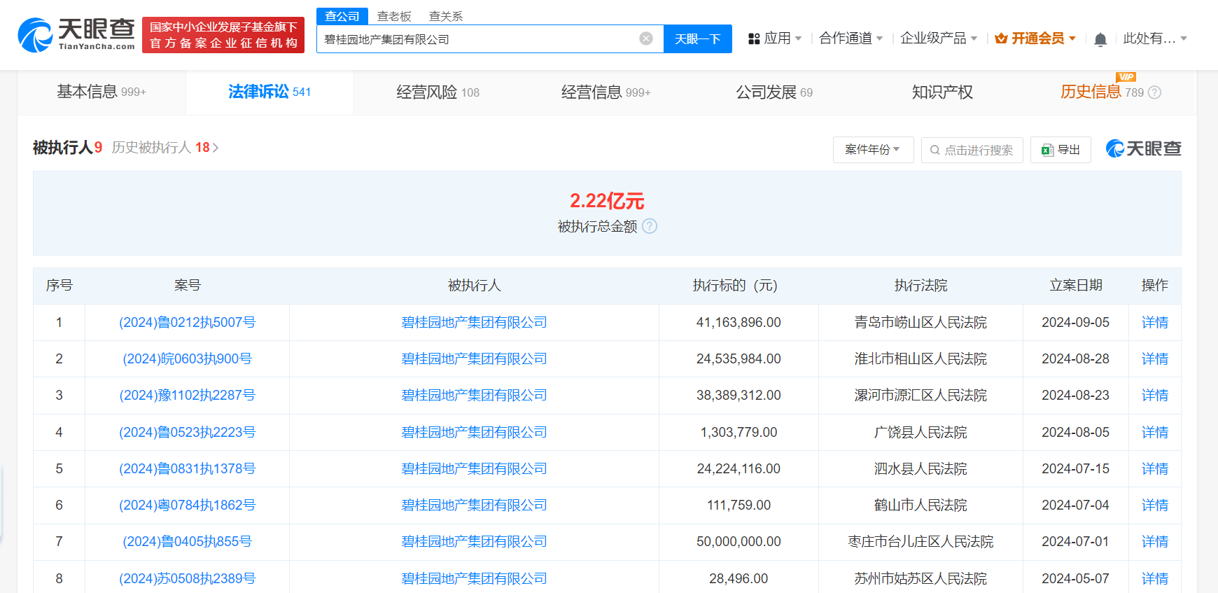
碧桂园地产被强制执行4116万

天眼查法律诉讼信息显示,近日,碧桂园地产集团有限公司、日照市沁园房地产开发有限公司、临沂市碧桂园房地产开发有限公司新增一条被执行人信息,执行标的4116万余元,执行法院为青岛市崂山区人民法院。

碧桂园地产被强制执行4116万

碧桂园地产被强制执行4116万

风险信息显示,碧桂园地产集团有限公司现存9条被执行人信息,被执行总金额超2.2亿元。此外,该公司还存在多条限制消费令、失信被执行人(老赖)及股权冻结信息。

天眼查信息:https://www.tianyancha.com/company/3053723260/sifa

本文来自投稿,不代表创造权威IP 赋能创业者——IP百创立场,如若转载,请注明出处:创造权威IP 赋能创业者——IP百创

(0)
打赏 微信扫一扫 微信扫一扫 支付宝扫一扫 支付宝扫一扫
上一篇 2024年9月6日
下一篇 2024年9月6日

相关推荐

  • 英伟达推下一代机器人整套平台型产品,AI的下一波浪潮已被锁定?

    为加速全球人形机器人的发展,NVIDIA 今日宣布,为全球机器人制造商、AI 模型开发者和软件制造商提供一套服务、模型以及计算平台,以开发、训练和构建下一代人形机器人。 整套产品包括用于机器人仿真和学习的全新 NVIDIA NIM 微服务和框架、用于运行多阶段机器人工作负载的 NVIDIA OSMO 编排服务,以及支持 AI 和仿真的远程操作工作流,该工作流…

    2024年8月1日
  • 中国铝业换帅完成工商变更

    #史志荣任中国铝业董事长# 天眼查App显示,近日,中国铝业发生工商变更,董建雄卸任法定代表人、董事长,由史志荣接任,同时监事发生变更。 中国铝业股份有限公司成立于2001年9月,注册资本约170.2亿,由中国铝业集团有限公司、中国证券金融股份有限公司、中国人寿保险股份有限公司等共同持股。今年6月,该公司发布公告称,董建雄因工作需要申请辞职,后经选举,史志荣…

    2024年9月9日
  • 出品方已注册白蛇浮生商标

    #陈昊宇陈丽君乘船亮相白蛇首映# 据媒体报道,近日,陈昊宇、陈丽君乘船撑伞亮相《白蛇:浮生》杭州西湖首映。据悉,该片是追光动画《白蛇》系列第三部。 天眼查知识产权显示,出品方关联公司雪人追日文化传播(北京)有限公司已于去年8月申请注册多枚“白蛇浮生”商标,国际分类含办公用品、餐饮住宿、教育娱乐等,目前多数商标已成功注册。 天眼查信息:https://www….

    2024年7月31日
  • 重新定义“实验室”,揭开华为的运动健康大棋局

    10年的十年很短,短到仿佛弹指一挥间;10年的时间又很长,长到很难坚持做一件事。 华为从2014年入局智能穿戴,距今已经有十年,可谓是“十年磨一剑”。最近的行业数据展现了这种坚持的结果:据Counterpoint报告,2023年第三季度全球智能手表出货量同比增长9%,其中华为实现同比增长56%,高端智能手表出货量增幅高达122%,出货量增幅全球第一。在国内,…

    互联网 2023年12月18日
  • 招聘“娱乐化”,BOSS直聘重塑雇主文化新生态

    在信息爆炸、自媒体风靡的当下,Z世代青年逐渐迈入职场大门,新一代的年轻人才在求职时也在用新的标准对企业进行考察。根据咨询公司Enchanting的数据,超过90%的年轻求职者会主动调查公司的背景和负面新闻,认为企业口碑是影响他们入职决定的首要因素。除了薪资、晋升路径、涨薪模式等求职者普遍关注的要素之外,现在的年轻人不仅对企业文化大加拷问,也对老板的个人领导风…

    2024年9月5日

发表回复

您的电子邮箱地址不会被公开。 必填项已用*标注

联系我们

邮件:939297903@qq.com

工作时间:周一至周五,9:30-18:30,节假日休息

关注微信