万达集团所持2.9亿股权被冻结

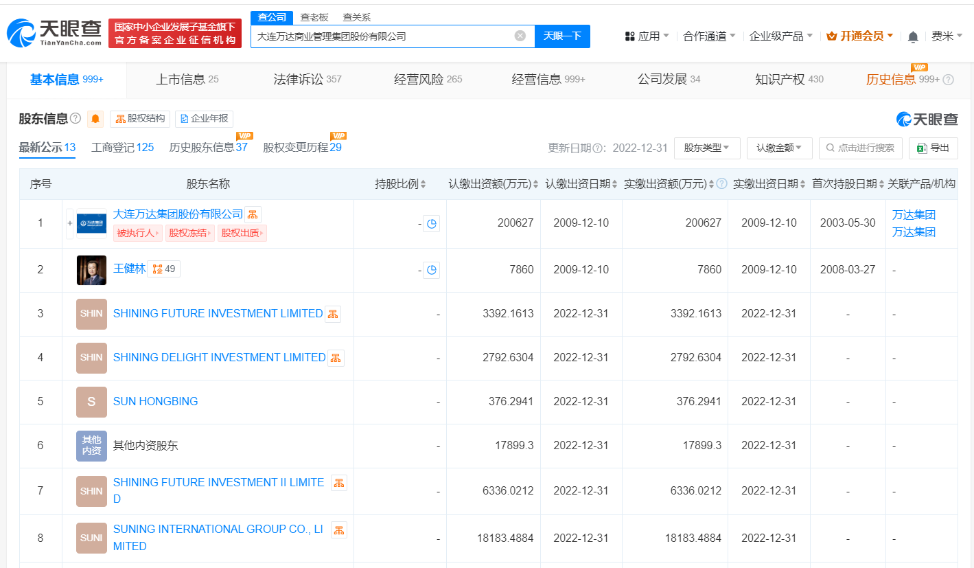
天眼查法律诉讼信息显示,近日,大连万达商业管理集团股份有限公司新增一条股权冻结信息,被执行人为大连万达集团股份有限公司,冻结股权数额2.9亿余元,冻结期限自2024年9月6日至2027年9月5日,执行法院为成渝金融法院。

万达集团所持2.9亿股权被冻结

万达集团所持2.9亿股权被冻结

万达集团所持2.9亿股权被冻结

大连万达商业管理集团股份有限公司成立于2002年9月,法定代表人为肖广瑞,注册资本约271.6亿人民币,由大连万达集团股份有限公司、王健林等共同持股。天眼风险信息显示,该公司现存多条股权冻结和被执行人信息。

天眼查信息:https://www.tianyancha.com/company/3157384770/sifa

本文来自投稿,不代表创造权威IP 赋能创业者——IP百创立场,如若转载,请注明出处:创造权威IP 赋能创业者——IP百创

(0)
打赏 微信扫一扫 微信扫一扫 支付宝扫一扫 支付宝扫一扫
上一篇 2024年9月9日
下一篇 2024年9月9日

相关推荐

  • 国企混改基金等入股新微集团

    天眼查App显示,近日,上海新微科技集团有限公司发生工商变更,新增中国国有企业混合所有制改革基金有限公司、交银金融资产投资有限公司、工融金投(北京)新兴产业股权投资基金合伙企业(有限合伙)等为股东,同时公司注册资本由约2.8亿人民币增至约4.7亿人民币。 上海新微科技集团有限公司成立于1995年7月,法定代表人为赵宇,经营范围含半导体器件与集成电路的设计、投…

    2024年9月14日
  • 深圳正威等被强制执行3.8亿

    天眼查法律诉讼信息显示,9月10日至11日,深圳正威(集团)有限公司新增4条被执行人信息,执行标的合计3.8亿余元,部分案件被执行人还包括正威东南(福建)控股有限公司、新疆韬威新材料科技有限公司等,执行法院为乌鲁木齐铁路运输中级法院、福建省宁德市中级人民法院。 风险信息显示,深圳正威(集团)有限公司现存50余条被执行人信息,被执行总金额超107亿元。此外,该…

    2024年9月12日
  • 华为已将问界商标转让至赛力斯

    #赛力斯已获得数百枚问界系列商标# 天眼查知识产权信息显示,近日,华为技术有限公司将持有的数百枚“问界”“AITO”“AITO SELECT”“DESIGN FOR AITO”等文字和图形商标转让至赛力斯汽车有限公司,商标国际分类涉及运输工具、科学仪器、广告销售等。 据媒体报道,不久前,赛力斯宣布其控股子公司赛力斯汽车有限公司拟收购华为技术有限公司及其关联方…

    行业动态 2024年9月2日
  • 上海世茂建设被强制执行4.6亿

    #上海世茂建设累计被执行超427亿# 天眼查法律诉讼信息显示,9月18日,上海世茂建设有限公司新增2条被执行人和恢复执行信息,执行标的合计4.6亿余元,涉及合同纠纷等案件,部分案件被执行人还包括尚悦(天津)建材贸易有限责任公司,执行法院为福建省福州市中级人民法院、成都市双流区人民法院。 天眼风险信息显示,上海世茂建设有限公司现存100条被执行人信息,被执行总…

    2024年9月19日
  • 工银投资等在陕西成立产业发展并购基金出资额20亿

    天眼查App显示,近日,陕西战新产业发展并购投资基金合伙企业(有限合伙)成立,执行事务合伙人为工银资本管理有限公司、西部优势资本投资有限公司,出资额20亿人民币,经营范围为以自有资金从事投资活动,创业投资,私募股权投资基金管理、创业投资基金管理服务。合伙人信息显示,该基金由西部优势资本投资有限公司、长安汇通集团有限责任公司、工银金融资产投资有限公司、长安汇通…

发表回复

您的电子邮箱地址不会被公开。 必填项已用*标注

联系我们

邮件:939297903@qq.com

工作时间:周一至周五,9:30-18:30,节假日休息

关注微信