跑路90多户业主公司已经营异常

#跑路90多户业主公司涉多个合同纠纷##装修公司跑路90多户业主损失超300万#

据报道,9月9日,湖北武汉不少消费者反映,他们找的一家装修公司突然关门了,导致90多户人家里的装修成了“半拉子”工程。

跑路90多户业主公司已经营异常

跑路90多户业主公司已经营异常

跑路90多户业主公司已经营异常

跑路90多户业主公司已经营异常

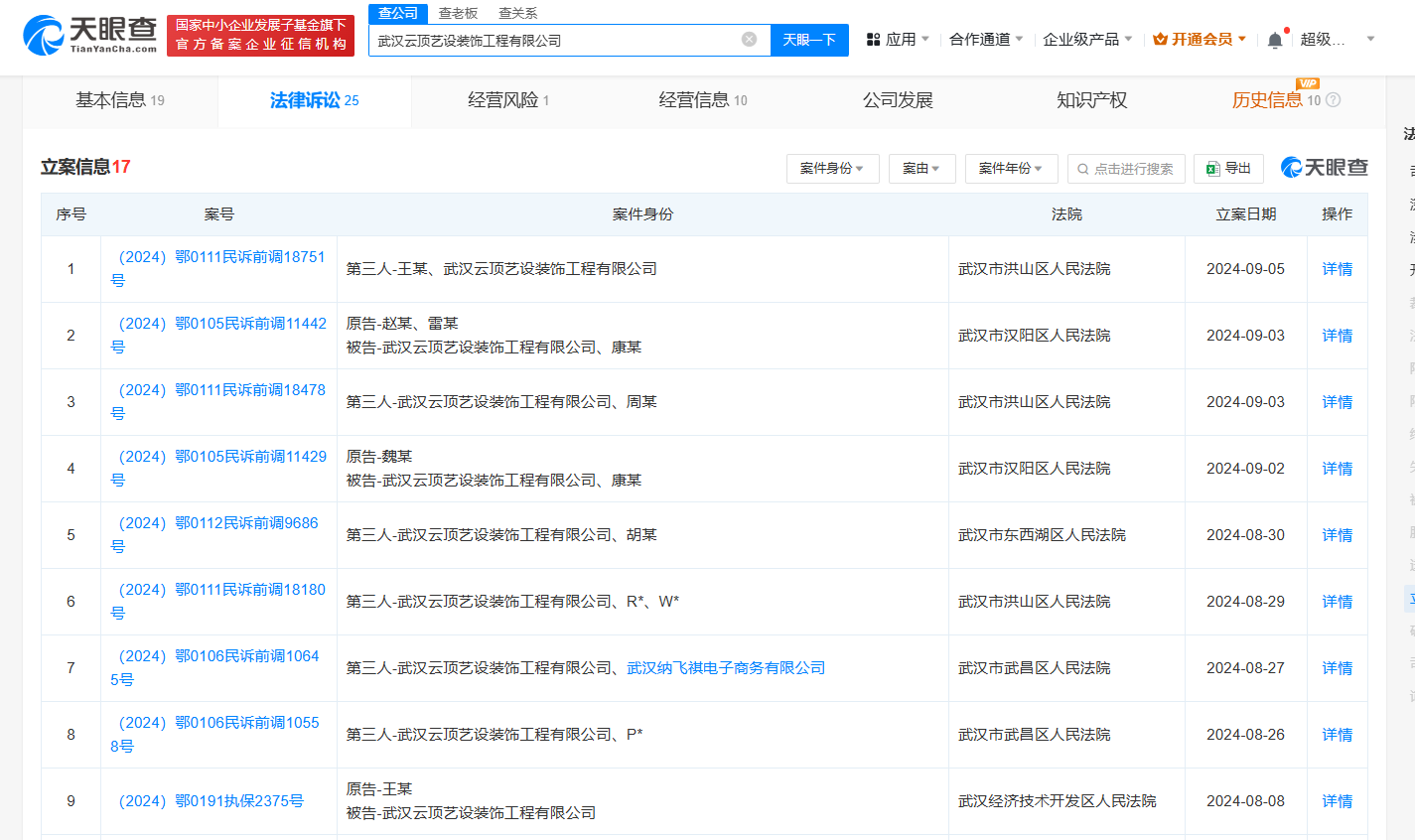
天眼查App显示,涉事公司武汉云顶艺设装饰工程有限公司成立于2022年3月,法定代表人、执行董事、经理兼财务负责人为康剑,注册资本100万人民币,经营范围包括建设工程设计、住宅室内装饰装修、专业设计服务、建筑材料销售等,由康剑全资持股。风险信息显示,近日,该公司因通过登记的住所或者经营场所无法联系,被武汉市武昌区市场监督管理局列入经营异常名录。立案信息显示,近期,该公司新增多个装饰装修合同纠纷、买卖合同纠纷等案件。

天眼查信息:https://www.tianyancha.com/company/5428946489/sifa

本文来自投稿,不代表创造权威IP 赋能创业者——IP百创立场,如若转载,请注明出处:创造权威IP 赋能创业者——IP百创

(0)
打赏 微信扫一扫 微信扫一扫 支付宝扫一扫 支付宝扫一扫
上一篇 2024年9月10日
下一篇 2024年9月10日

相关推荐

  • 腾讯XR全线撤退、PICO裁员,元宇宙“退潮”后“一地鸡毛”?

    作者| 袁佳琦 编辑| 明明 资本逐利和撤退的节奏同样“来去如风”,元宇宙成为“过去的风”。 先是海外高举高打元宇宙概念的厂商亟需止损。Meta公司2月披露的2022财年第四季度财报显示:Reality Labs(现实实验室)业务部门营收7.27亿美元,同比(21年四季度8.77亿美元)下降17.1%;净亏损42.79亿美元,同比(21年四季度33.04亿美…

    行业动态 2023年2月21日
  • 天眼查315数据:爱美之心岂能遭人“惦记”,8.51%的医美相关企业曾出现经营异常

    #315曝光不可注射的美容针##妆字号美容针或致毁容#央视315晚会曝光不可注射的美容针,妆字号美容针或致毁容。天眼查数据显示,我国目前有近13.4万余家医美相关企业。从地域分布上看,广东、山东以及河北三地,医美相关企业数量最多,分别拥有2.4万余家,1.1万余家以及8800余家。天眼查风险数据显示,从事医美相关的业务企业中,3.25%的相关企业曾出现法律诉…

    行业动态 2023年3月15日
  • 王凯名下一影视公司注销

    #王凯名下得舍影视上海公司注销# 天眼查App显示,近日,得舍影视(上海)有限公司经营状态由存续变更为注销。 该公司成立于2017年10月,法定代表人为陈诚,监事为王凯,注册资本100万人民币,经营范围包括影视文化艺术交流活动策划、影视剧策划及咨询、舞台剧策划、市场营销策划、摄影摄像服务等,由王凯全资持股。 天眼查信息:https://www.tianyan…

    2024年9月14日
  • #广汽能源科技在浙江成立新公司# 注册资本2500万

    天眼查App显示,近日,广汽能源科技(浙江)有限公司成立,法定代表人为刘志辉,注册资本2500万人民币,经营范围含集中式快速充电站、电动汽车充电基础设施运营、新能源汽车换电设施销售、储能技术服务、新能源汽车整车销售等。股东信息显示,该公司由广汽集团(601238)旗下广汽能源科技有限公司全资持股。 天眼查信息:https://www.tianyancha.c…

    行业动态 2024年9月3日
  • 庞麦郎曾发起维权败诉

    #华数传媒曾因合同纠纷起诉庞麦郎##庞麦郎 华晨宇# 3月30日,庞麦郎转发李荣浩维权微博并提及华晨宇引关注。 天眼查法律诉讼信息显示,此前,庞明涛(庞麦郎)曾多次发起网络侵权责任纠纷、肖像权纠纷等案件,被告涉及多个公司。其中,庞明涛起诉广州书馆互联网有限公司、上海艾夫邑乐文化传播有限公司、汉中时空传媒有限公司等案件,庞明涛撤回上诉。此外,庞明涛起诉汉中玉冠…

    行业动态 2026年3月30日

发表回复

您的电子邮箱地址不会被公开。 必填项已用*标注

联系我们

邮件:939297903@qq.com

工作时间:周一至周五,9:30-18:30,节假日休息

关注微信