辅仁药业等被恢复执行1210万

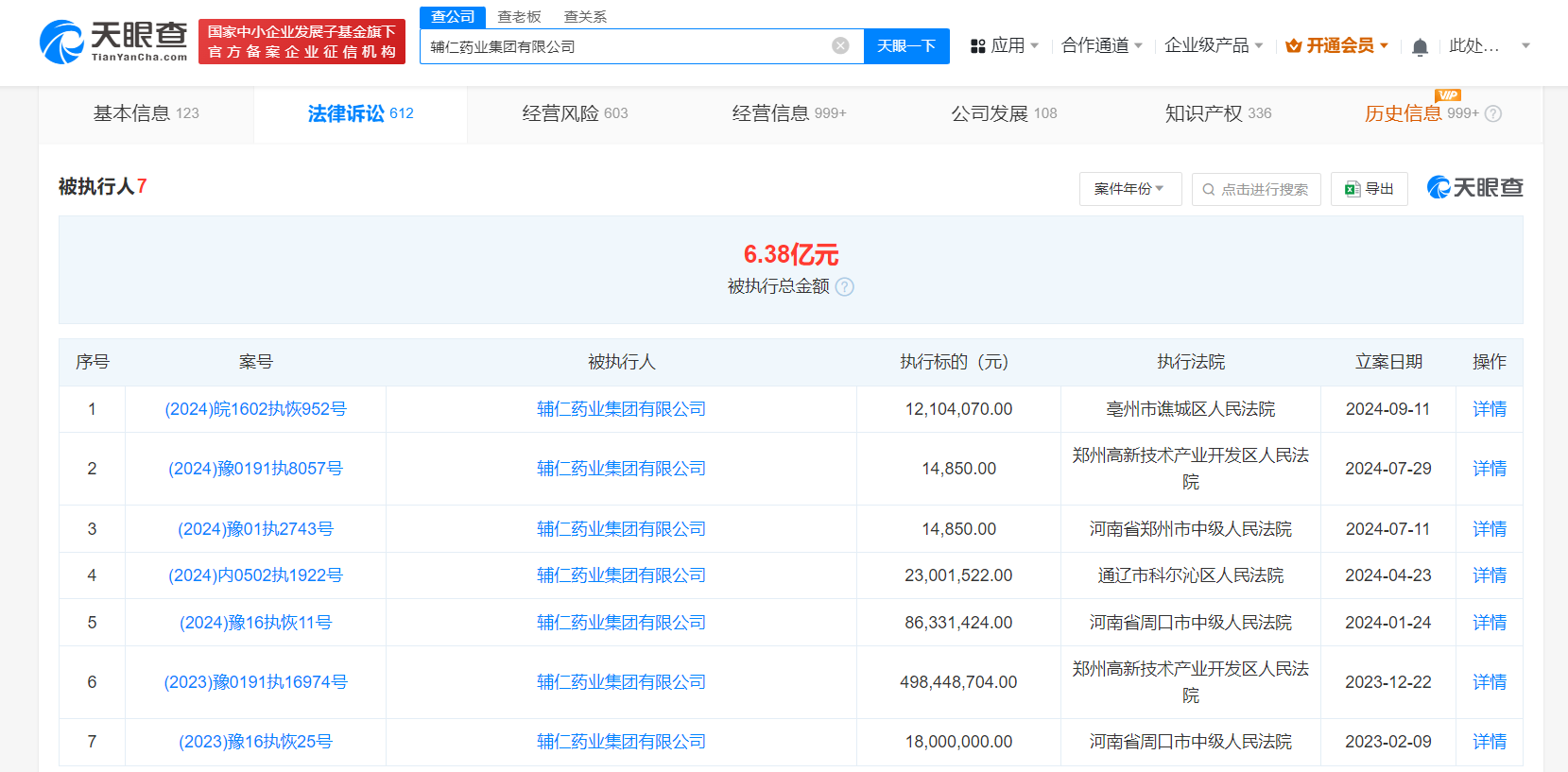
天眼查法律诉讼信息显示,近日,辅仁药业集团有限公司、河南辅仁堂制药有限公司、亳州市济荣堂中药材销售有限公司新增一条恢复执行信息,执行标的1210万余元,涉及票据纠纷案件,执行法院为亳州市谯城区人民法院。

辅仁药业等被恢复执行1210万

辅仁药业等被恢复执行1210万

辅仁药业等被恢复执行1210万

辅仁药业集团有限公司成立于1997年1月,法定代表人为朱文臣,注册资本4亿人民币,由辅仁科技控股(北京)集团股份有限公司全资持股。风险信息显示,该公司现存7条被执行人信息,被执行总金额超6亿元,此外还存在多条失信被执行人(老赖)、终本案件及股权冻结信息。

天眼查信息:https://www.tianyancha.com/company/6978284/sifa

本文来自投稿,不代表创造权威IP 赋能创业者——IP百创立场,如若转载,请注明出处:创造权威IP 赋能创业者——IP百创

(0)
打赏 微信扫一扫 微信扫一扫 支付宝扫一扫 支付宝扫一扫
上一篇 2024年9月12日
下一篇 2024年9月12日

相关推荐

  • 华润新能源投资公司增资至207亿

    天眼查App显示,近日,华润新能源投资有限公司发生工商变更,注册资本由100亿人民币增至约207.37亿人民币。 该公司成立于2011年5月,法定代表人为彭峰,经营范围含投资风电、光伏发电、垃圾发电等新能源领域;设立科研开发中心或部门,从事新产品及高新技术的研究开发;承接母公司和关联公司的服务外包业务等。股东信息显示,该公司由注册于香港的华润电力新能源投资有…

    行业动态 2024年6月25日
  • #银河通用机器人在宜宾成立新公司# 注册资本100万

    天眼查工商信息显示,近日,宜宾银河通用机器人有限公司成立,法定代表人为姚腾洲,注册资本100万人民币,经营范围包括服务消费机器人制造、服务消费机器人销售、智能机器人的研发等。股东信息显示,该公司由北京银河通用机器人有限公司全资持股。 天眼查信息:https://www.tianyancha.com/company/7714589380

    2025年9月10日
  • 从量产到优质主义,优酷动漫2022全力以赴“好内容”

    ​作者| 赤木瓶子 回顾2022年,“量产”和“焕新”是国产动漫行业的关键词,这也给视频平台在选品上新、技术升级、宣发运营等维度提出了更多要求。优酷动漫在2022年交出一份不错的成绩单。复盘优酷动漫在2022年的布局动作,我们得以窥见动漫产业的行进一角。 产能维稳,剧场化运营成效几何? 优酷动漫在过去一年里产量颇丰,共有超过270部动漫作品上新。 除了大量优…

    行业动态 2023年1月17日
  • 陈梦父母公司已注册陈梦名字商标

    #陈梦父母公司已注册HOPEWANG商标##陈梦已开办乒乓球学校# 据报道,陈梦在巴黎奥运会上取得2枚金牌,随后,其在2022年11月开办的陈梦(国科大)乒乓球特色学校再次引发关注。 天眼查App显示,青岛梦海圆文化传播有限公司已成功注册1枚“陈梦”商标,国际分类为教育娱乐。近期,该公司申请的健身器材、日化用品类“HOPE WANG”商标已成功注册。该公司成…

    2024年8月13日
  • 赵文琪关联羽墨美甲被加盟商起诉

    #羽墨美甲被起诉# 天眼查天眼风险信息显示,近日,甄某与杭州羽墨品牌管理有限公司新增开庭公告,原告为甄某,案由为特许经营合同纠纷,该案将于9月23日在杭州市拱墅区人民法院开庭审理。 此前,曾在《爱情公寓》中饰演秦羽墨的演员赵文琪发视频自曝被合伙人欺骗利用,主营美甲品牌“羽墨美学”的实缴资金及加盟费不翼而飞。

    2025年9月18日

发表回复

您的电子邮箱地址不会被公开。 必填项已用*标注

联系我们

邮件:939297903@qq.com

工作时间:周一至周五,9:30-18:30,节假日休息

关注微信