上海世茂建设等被强制执行10.3亿

#上海世茂建设累计被执行超422亿#

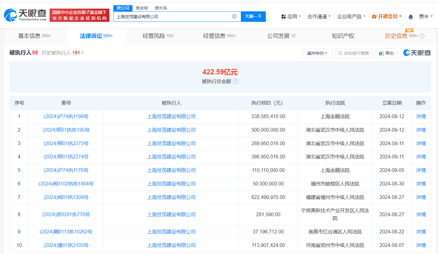
天眼查法律诉讼信息显示,9月12日,上海世茂建设有限公司新增2条被执行人和恢复执行信息,执行标的合计10.3亿余元,涉及金融借款合同纠纷等案件,被执行人还包括长沙世茂房地产有限公司、银川世茂新体验置业有限公司、西藏世茂企业发展有限公司等,执行法院为上海金融法院、湖北省武汉市中级人民法院。

上海世茂建设等被强制执行10.3亿

上海世茂建设等被强制执行10.3亿

天眼风险信息显示,上海世茂建设有限公司现存90余条被执行人信息,被执行总金额超422亿元。此外,该公司还存在多条限制消费令、失信被执行人(老赖)及终本案件信息。

天眼查信息:https://www.tianyancha.com/company/25272498/sifa

本文来自投稿,不代表创造权威IP 赋能创业者——IP百创立场,如若转载,请注明出处:创造权威IP 赋能创业者——IP百创

(0)
打赏 微信扫一扫 微信扫一扫 支付宝扫一扫 支付宝扫一扫
上一篇 2024年9月13日
下一篇 2024年9月13日

相关推荐

  • #北京市人工智能产投基金等入股加速进化# 后者为人形机器人研发商

    天眼查App显示,近日,北京加速进化科技有限公司发生工商变更,原股东北京雅瑞智友投资合伙企业(有限合伙)、青岛雅瑞利贞咨询服务合伙企业(有限合伙)退出,新增北京机器人产业发展投资基金(有限合伙)、北京市人工智能产业投资基金(有限合伙)、无锡博智未来产业投资基金合伙企业(有限合伙)为股东,同时注册资本由约288万人民币增至约331万人民币。 该公司成立于202…

    2025年8月8日
  • 为放贷它们疯了?月薪八万工作和医美开始叠buff了……

    柴油们啊!套路贷竟然又迭代升级了!央视刚刚报道的一则案例,让小柴再一次看到了它们为了放贷搞钱,到底有多丧心病狂了! 原来让无数人跌向深渊的求职培训贷和让很多小仙女走上歧途的美容整形贷,竟然牵手一起叠起了buff了! 甚至是招聘平台、招聘公司、美容机构和网贷机构,老鸨们达成生态联盟,开始联手做局了。这嚣张程度和各环节高配合度,让小柴一度以为自己做梦到了缅北。 …

    2024年11月18日
  • 科大讯飞等入股数立得科技

    天眼查App显示,近日,北京数立得科技有限公司发生工商变更,新增科大讯飞旗下安徽讯飞云创科技有限公司、蔡瑞君、刘云淮、北京直真信息技术有限公司为股东,同时公司注册资本由100万人民币增至约111.1万人民币。 北京数立得科技有限公司成立于2019年4月,法定代表人为朱淑珍,经营范围含软件开发、应用软件服务、计算机系统服务、企业管理、市场调查、公共关系服务等,…

    2024年10月15日
  • 比亚迪仰望在乌鲁木齐成立销售公司

    天眼查App显示,近日,乌鲁木齐仰望汽车销售有限公司成立,法定代表人为谢麒麟,注册资本100万人民币,经营范围含新能源汽车整车销售、汽车销售、充电桩销售、贸易经纪、汽车零部件及配件制造、二手车经纪等。股权全景穿透图显示,该公司由深圳仰望汽车销售有限公司全资持股,后者为比亚迪汽车工业有限公司全资子公司。 天眼查信息:https://www.tianyancha…

    行业动态 2024年8月2日
  • 五粮液集团入股康定市温泉酒店公司# 后者增资至8.08亿

    天眼查工商信息显示,近日,康定市五康温泉酒店有限公司发生工商变更,新增五粮液集团旗下成都五粮液建设投资有限公司为股东,注册资本由1.58亿人民币增至8.08亿人民币,增幅约411%,沈智杰卸任法定代表人,由颜江接任,同时,多位主要人员发生变更。 康定市五康温泉酒店有限公司成立于2024年10月,经营范围包括酒店管理、住宿服务、餐饮服务、洗浴服务等。股东信息显…

    2026年3月11日

发表回复

您的电子邮箱地址不会被公开。 必填项已用*标注

联系我们

邮件:939297903@qq.com

工作时间:周一至周五,9:30-18:30,节假日休息

关注微信