宁德时代申请咖啡商标

#宁德时代申请宁咖啡商标#

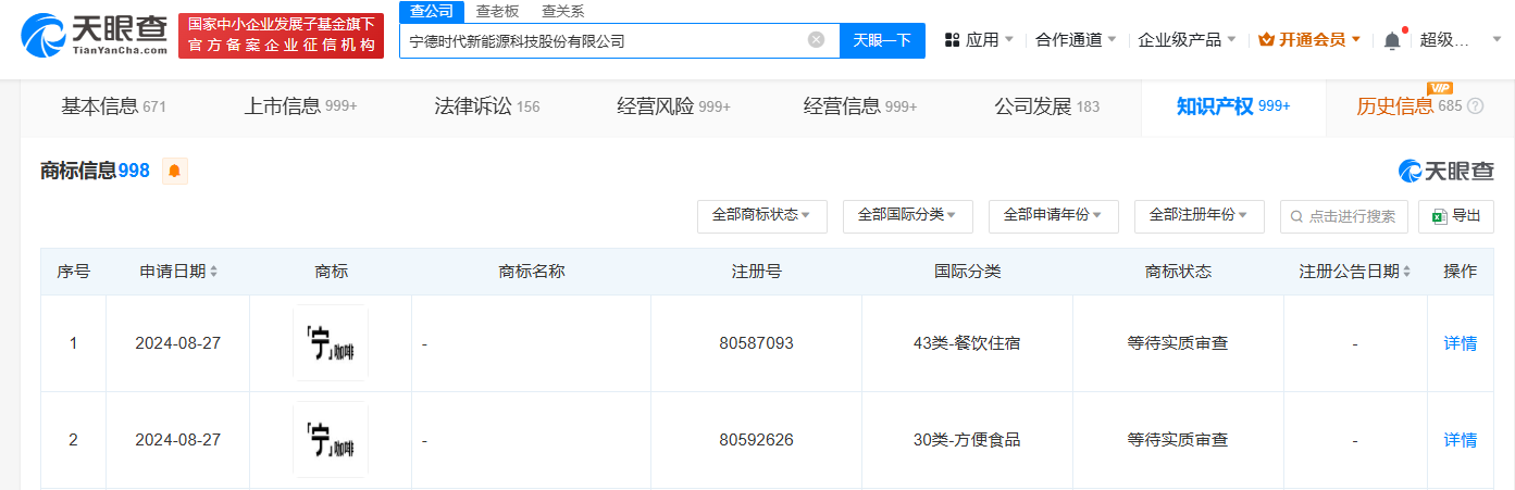
天眼查知识产权信息显示,近日,宁德时代新能源科技股份有限公司申请注册两枚“宁咖啡”商标,国际分类为方便食品、餐饮住宿,当前商标状态为等待实质审查。

宁德时代申请咖啡商标

宁德时代申请咖啡商标

据媒体报道,近日,对于售卖“超充美式”“续航拿铁”“零碳水仙”“零碳玉露”等6种咖啡,宁德时代方面人士表示,这些只在宁德时代成都线下展厅——新能源生活广场提供,“是配套产品,不是主力”。

天眼查信息:https://www.tianyancha.com/company/2343820668/zhishi

本文来自投稿,不代表创造权威IP 赋能创业者——IP百创立场,如若转载,请注明出处:创造权威IP 赋能创业者——IP百创

(0)
打赏 微信扫一扫 微信扫一扫 支付宝扫一扫 支付宝扫一扫
上一篇 2024年9月13日
下一篇 2024年9月13日

相关推荐

  • 深圳正威等被强制执行3.8亿

    天眼查法律诉讼信息显示,9月10日至11日,深圳正威(集团)有限公司新增4条被执行人信息,执行标的合计3.8亿余元,部分案件被执行人还包括正威东南(福建)控股有限公司、新疆韬威新材料科技有限公司等,执行法院为乌鲁木齐铁路运输中级法院、福建省宁德市中级人民法院。 风险信息显示,深圳正威(集团)有限公司现存50余条被执行人信息,被执行总金额超107亿元。此外,该…

    2024年9月12日
  • 佳能与芒果TV达成战略合作,EOS C80应用于芒果TV S+级综艺制作

    佳能EOSC80以更强的画质适配能力、更智能的对焦与操控,以及更专业的拍摄稳定性,为不可重拍的综艺录制现场提供了底层保障,EOS C80以其轻量便携的体积与强大可靠的性能,成为连接技术与优质内容之间那座关键的桥梁。

    2025年6月13日
  • 联想AI基础设施发布六大创新黑科技与两大重磅升级,打造AI算力发展“引擎”

    5月7日, 联想中国基础设施业务群在联想创新科技大会(Lenovo Tech World 2025)上宣布正式推出六大创新技术与两大重磅升级。据悉,这也是继去年发布五大创新技术之后,面对AI技术的持续创新和用户需求的快速变化,联想从算力性能与效能、核心算法、算力服务等多个维度再次发布六大创新技术:AI推理加速算法集、AI编译优化器、AI训推慢节点故障预测与自…

    2025年5月9日
  • 华为哈勃入股润开鸿

    天眼查App显示,近日,江苏润开鸿数字科技有限公司发生工商变更,新增华为旗下深圳哈勃科技投资合伙企业(有限合伙)为股东,注册资本由2亿人民币增至约2.1亿人民币,同时部分主要人员发生变更。 江苏润开鸿数字科技有限公司成立于2022年10月,法定代表人为周红卫,经营范围含软件开发、信息技术咨询服务、数据处理和存储支持服务、电子产品销售、计算机软硬件及辅助设备批…

    行业动态 2024年7月1日
  • 全球第一大RWA原创Web3品牌Xbitoeth的深度解析

    Xbitoeth(原Xcart.io)全球第一个以“Crypto”为精神图腾的Web3原生潮牌,聚焦于“web3生活美学范式革命”,目前社区汇聚了Web3行业内众多的比特币赛道OG、加密艺术家。团队致力于消除Crypto与传统世界的隔阂、探索区块链在真实商业环境中的实际用例。 数字世界的黎明: 一片无尽的虚拟世界,星星点点的光点组成了浩瀚的数字宇宙。中央是两…

    2024年8月21日

发表回复

您的电子邮箱地址不会被公开。 必填项已用*标注

联系我们

邮件:939297903@qq.com

工作时间:周一至周五,9:30-18:30,节假日休息

关注微信