华图教育曾因违法广告被罚8千

#华图教育创始人易定宏多次被冻结股权##华图教育再因不雅广告翻车#

据媒体报道,近日,有用户在社交媒体反映,华图教育课堂的宣传标语以“如果你不努力,你的女儿可能被同龄人抱着;你努力,你抱着同龄人的女儿。”为噱头,内容不雅,价值观扭曲,存在“物化女性”“消费女性”之嫌。华图教育相关负责人表示:“该事件已及时反馈给领导,广告在第一时间下线了” 。

华图教育曾因违法广告被罚8千

华图教育曾因违法广告被罚8千

华图教育曾因违法广告被罚8千

华图教育曾因违法广告被罚8千

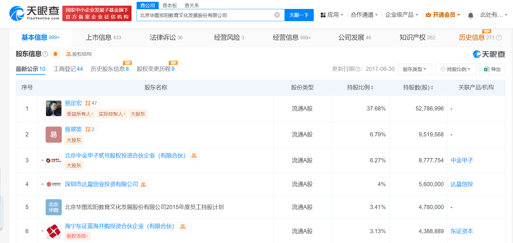
天眼查App显示,华图教育关联公司北京华图宏阳教育文化发展股份有限公司成立于2003年2月,法定代表人为易定宏,注册资本约4.2亿人民币,由易定宏、易翠英、北京中金甲子贰号股权投资合伙企业(有限合伙)、深圳市达晨创业投资有限公司等共同持股。风险信息显示,2022年3月,该公司曾因涉嫌发布违法广告,被唐山市路北区市场监督管理局罚款8000元。此外,该公司曾因在禁止吸烟场所提供烟具和附有烟草广告的物品且拒不改正被罚2000元。此外,该公司存在多条股权冻结信息,被执行人多为易定宏,冻结股权数额从约1.49亿人民币到10万人民币不等。

天眼查信息:https://www.tianyancha.com/company/4590240

本文来自投稿,不代表创造权威IP 赋能创业者——IP百创立场,如若转载,请注明出处:创造权威IP 赋能创业者——IP百创

(0)
打赏 微信扫一扫 微信扫一扫 支付宝扫一扫 支付宝扫一扫
上一篇 2024年9月13日
下一篇 2024年9月13日

相关推荐

  • 揭秘上海多校发臭午餐供应商

    #多校发臭午餐供应商曾涉及健康权纠纷# #多校发臭午餐供应商旗下11家企业注销##上海多校午餐撤菜是否发臭得说清楚# 据媒体报道,近日,上海多所学校的家长在社交媒体反映称孩子学校午餐中的虾仁炒蛋被紧急停止供应,引发关注与讨论。对此,提供该套餐的上海绿捷实业发展有限公司表示,不是所有批次都存在问题,不存在别的食品安全问题,因为公司也留样了,其将加强食品安全监管…

    2025年9月17日
  • 联想第五次创业,再次绕开核心科技

    今天上午,2025联想创新科技大会正式召开,完美印证了倪叔的观点: 联想第五次创业,再次绕开核心科技。 牛~ 大会一开场,联想集团董事长兼CEO杨元庆不咸不淡的说了一些关于AI的行业套话,然后隆重介绍了联想集团引以为傲的联想天禧个人智能体。对比友商们的智能体,联想天禧个人智能体有什么不同? 或者说,联想天禧个人智能体的核心亮点是什么? 答案是:DeepSee…

    2025年5月8日
  • 《异人》、《解密》失守“暑期档”:商业片大导的“创新困境”

    作者| Mia 编辑| 李寻欢 截至8月3日16时左右,2024年暑期档已经过去三分之二,全国总票房(含预售)突破80亿,观影人次近2亿。这个数字和去年破历史纪录的206.19亿元总票房相比,相去甚远。 乌尔善导演的《异人之下》和陈思诚导演《解密》先后上映,又先后票房失守。本周上映的《逆行人生》将成为最后一位种子选手,但据点映口碑,该片更接近于现实主义剧情片…

    行业动态 2024年8月8日
  • 闲鱼低碳生活让惊喜发生,打造双11新仪式感

    双11要来了,这个时候消费者在想什么?有人说,那当然是加购物车啊。没错,但加完购物车之后呢?是卖闲置给新品腾地。数据显示,近一个月,就有几千万用户前往闲鱼,给自己的手机估价。手机新品发布、大促等关键节点前上闲鱼卖闲置或拼单,俨然已经成为消费者的新传统。 基于这一新传统,可以看到,闲鱼从10月24日起,就顺势加码了双11期间的手机回收补贴。今天,又紧接着发布了…

    2022年11月1日
  • 超能小度加持,小度AI眼镜Pro让你“AI上头”

    2025年11月13日,百度世界大会“大模型如何重塑智能硬件新体验”分论坛上,小度AI眼镜Pro正式发布。除了丰富的AI功能外,该款新品更凭借时尚外观,重新定义了智能眼镜的美学标准,让用户的“出片率”与“上镜感”得到全面提升。 本次发布的小度AI眼镜Pro,共推出了波士顿、猫眼两款框型设计。其中,波士顿款摒弃了传统粗方框较笨重的样式,圆框的设计不论是男生还是…

    2025年11月13日

发表回复

您的电子邮箱地址不会被公开。 必填项已用*标注

联系我们

邮件:939297903@qq.com

工作时间:周一至周五,9:30-18:30,节假日休息

关注微信