#抖音旗下公司申请探饭商标

#字节跳动申请探饭商标#

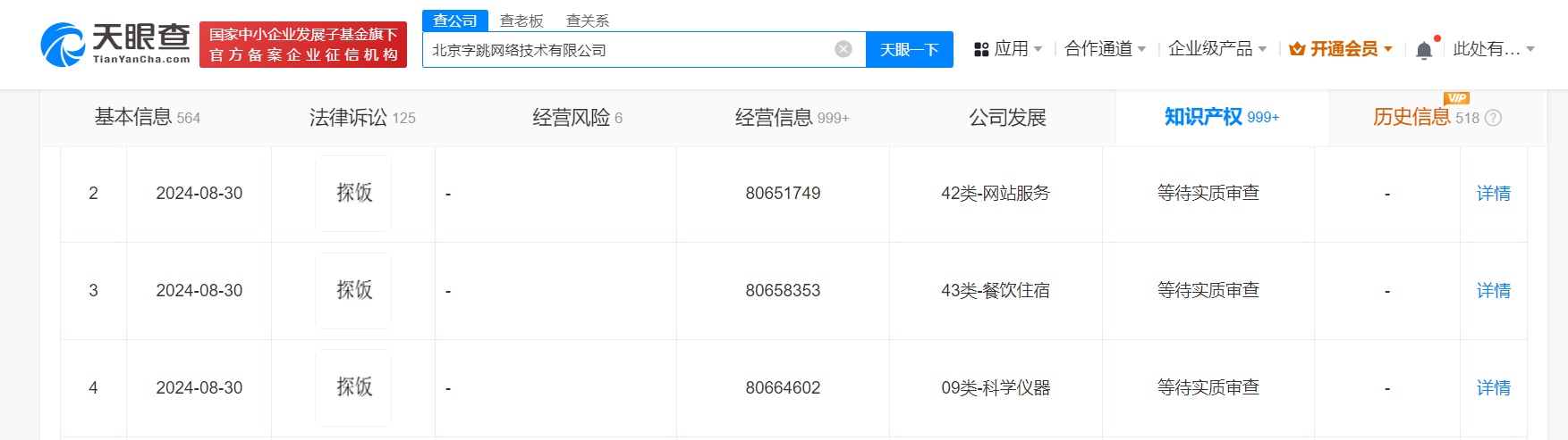
天眼查知识产权信息显示,近日,北京字跳网络技术有限公司申请注册三枚“探饭”商标,国际分类为科学仪器、餐饮住宿、网站服务,当前商标状态均为等待实质审查。

#抖音旗下公司申请探饭商标

#抖音旗下公司申请探饭商标

天眼查信息:https://www.tianyancha.com/company/3266848464/zhishi

本文来自投稿,不代表创造权威IP 赋能创业者——IP百创立场,如若转载,请注明出处:创造权威IP 赋能创业者——IP百创

(0)
打赏 微信扫一扫 微信扫一扫 支付宝扫一扫 支付宝扫一扫
上一篇 2024年9月19日
下一篇 2024年9月19日

相关推荐

  • 天眼查数据:#荐股骗局天顺私募冒名公司两年前已注销

    央视315晚会曝光警惕“荐股分成”骗局,“湖北天顺私募”被点名。 天眼查App显示,“湖北天顺私募”冒名公司湖北天顺证券投资咨询有限公司成立于2023年6月,法定代表人为郑佳炜,注册资本1000万人民币,经营范围包括证券投资咨询、第二类增值电信业务、以自有资金从事投资活动等,由郑佳炜全资持股。值得注意的是,该公司已于2024年7月注销。 天眼查信息:http…

    2026年3月16日
  • 决战AI智能体,华为、联想谁能成为中国最强代表?

    配图来自Canva可画 大模型技术爆火一年之后,虽然真正的杀手级应用尚未出现,但一个被人广泛预言的方向,正在越来越多地成为众多大佬口中的AI入口,它就是AI智能体。微软创始人比尔盖茨认为,AI将彻底改变用户使用电脑的方式,AI智能体将会像过去安卓、苹果OS和Windows一样,成为下一个平台。 在装有AI智能体的PC上,用户将不再需要点开单独的应用,而是把所…

    2024年6月3日
  • 逆势增长的蒙牛做对了哪些事

    中国牛奶行业承受的压力至少有一半以上来自于“渠道战争”。 渠道这件事,在过去这些年发生了剧烈的震荡,从本地化的鲜奶上门到线下商超,再到直播电商和即时零售,渠道的话语权越来越大,甚至潜移默化地具有了品牌推广价值,谁家的牛奶占领了某个渠道,就能瞬间放大销量。正是由于渠道升级,消费者的需求也被持续分层、放大,从好的一方面来说,消费者“喝牛奶”这件事有了更多的选择;…

    2025年9月1日
  • 升级价值主张 用友帮企业找到乘风破浪的“密码”

    近期,用友发布了其战略级产品用友BIP的全新价值主张,将其从原来的“企业数智化 用友BIP”升级为“用友BIP 成就数智企业”。用友这次价值主张升级看似变动不大,实则大有深意。 顺势而为的主动升级 从当前数智化发展的形势来看,各行业领先企业已进入了数智化加速发展的浪潮中,各行业数智化的推进速度、推进力度都有很大提升。在这种形势下,用友提出新的价值主张,是洞悉…

    2024年4月29日
  • 江苏中江科创产业发展公司成立#注册资本10亿元

    天眼查App显示,9月25日,江苏省中江科创产业发展有限公司成立,法定代表人为罗华,注册资本10亿人民币,经营范围含创业投资(限投资未上市企业)、以自有资金从事投资活动、股权投资、创业空间服务等。股东信息显示,该公司由江苏省铁路集团有限公司、南京金陵饭店集团有限公司、中国核工业华兴建设有限公司、中国江苏国际经济技术合作集团有限公司共同持股。 天眼查信息:ht…

    2024年9月26日

发表回复

您的电子邮箱地址不会被公开。 必填项已用*标注

联系我们

邮件:939297903@qq.com

工作时间:周一至周五,9:30-18:30,节假日休息

关注微信