易方达基金申请GPT商标

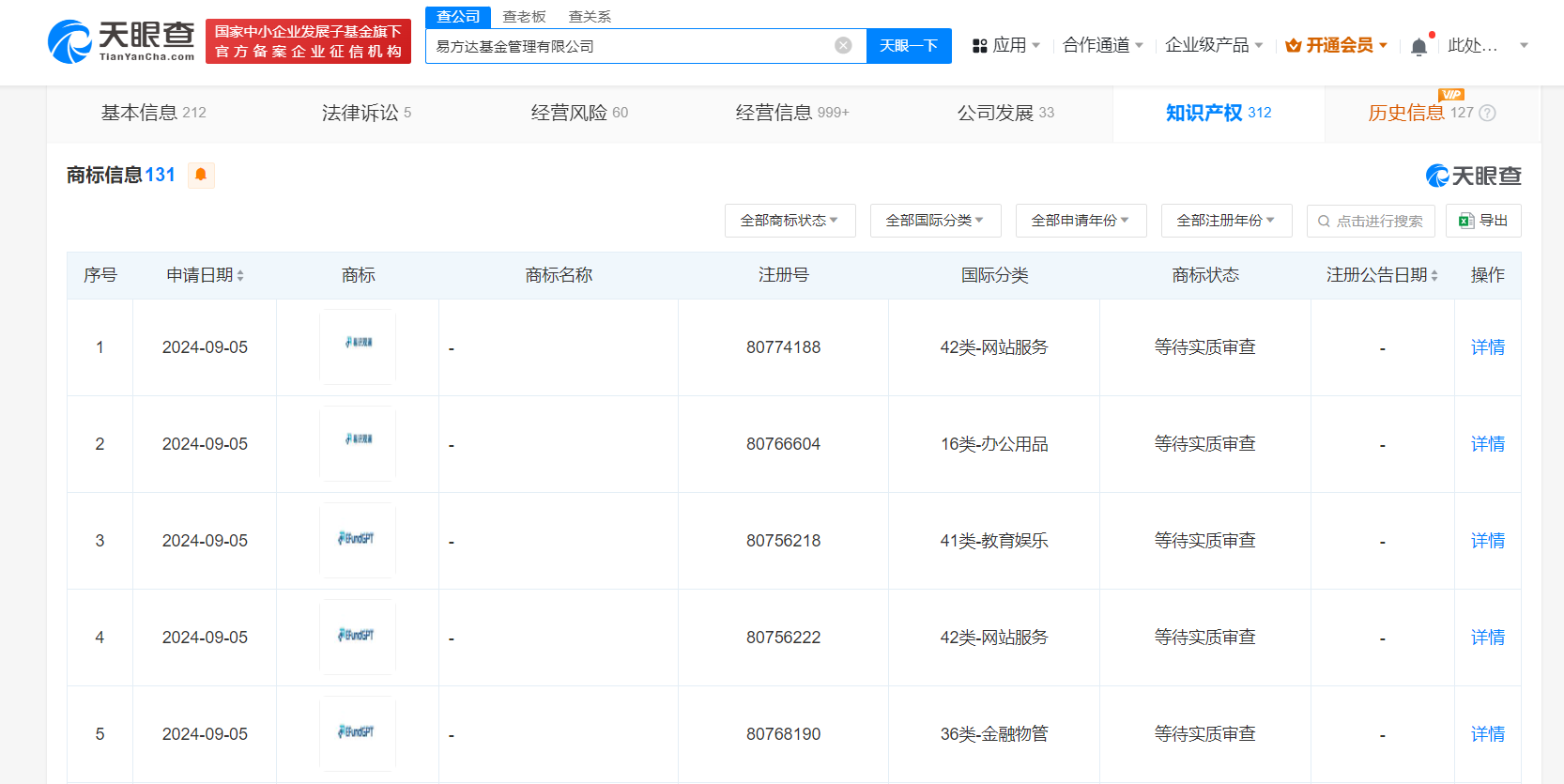
天眼查知识产权信息显示,近日,易方达基金管理有限公司申请注册多枚“EFundGPT”“易识观澜”商标,国际分类为科学仪器、金融物管、网站服务等,当前商标状态均为等待实质审查。

易方达基金申请GPT商标

易方达基金申请GPT商标

天眼查信息:https://www.tianyancha.com/company/213789726/zhishi

本文来自投稿,不代表创造权威IP 赋能创业者——IP百创立场,如若转载,请注明出处:创造权威IP 赋能创业者——IP百创

(0)
打赏 微信扫一扫 微信扫一扫 支付宝扫一扫 支付宝扫一扫
上一篇 2024年9月23日
下一篇 2024年9月23日

相关推荐

  • 在抖音,为2025剧综宣发找到确定性

    作者| Mia 当我们回味2025长剧与综艺的高光时刻时,会想起“技能五子棋”的魔性,房主任带来的感动,《藏海传》对古装男频的重塑,《生万物》“俺学”的洗脑…… 这一年,剧综市场呈现出了持续生长的韧性和更多元的爆发力。抖音已然成为剧宣和综宣的“重要辅助”,每时每刻都有剧综在抖音迎来自己的破圈时刻,并借助抖音实现流量沉淀和转化。 应当如何用好这个国民级口碑热度…

    行业动态 2026年1月14日
  • 2025,什么样的综艺和演员才能担起 S 级?

    在影视行业快速迭代的当下,“S级”已成为衡量综艺节目和演员价值的重要标尺。 但是,什么是S级?影视圈里人人都在说,却没人说得清,这始终是一个没有形成标准的,模糊的概念。 刚刚落幕的《演员请就位3》 “终极就位盛典”,或许给出了一个明确的答案。这档历时一整季的演技竞演综艺,汇聚了40多位演员,经历了面试、试戏、排练、竞演等重重考验,最终刘家祎脱颖而出,成为唯一…

    2025年6月25日
  • AR产业需要一个“中间人”,架起桥梁通往大众消费品

    热播电影《独行月球》中,沈腾重新诠释了“中间人”:不是拔尖也不是垫底,处在中间的舒适区。就这么一个人物,最后为地球挺身而出。 从这个概念能联想到一些有趣的现象。比如一直跑在科技行业前端的AR行业,大家都认为它属于未来,是下一代甚至是下几代的智能显示技术和终端计算平台。它在大众消费领域的“眼下”最大用武之地是什么呢? 今天视觉消费领域内,显示屏要么做得越来越大…

    2022年10月19日
  • 重磅新技术?#比亚迪申请注册云辇商标

    #比亚迪申请云辇商标#天眼查App显示,近期,比亚迪股份有限公司申请注册“云辇”“云辇-A”“云辇-P”商标,国际分类均为运输工具,当前商标状态均为申请中。据媒体报道,“云辇”或为比亚迪即将发布的全栈自研重磅技术,有关新能源汽车垂向智能融合。 天眼查信息:https://shangbiao.tianyancha.com/69102320t12

    2023年3月17日
  • 匹克集团旗下十余家分支机构已吊销或注销

    #匹克集团旗下多家公司已注销# #匹克中国关联公司近期更名# #盘点匹克集团商业版图##匹克被曝要求拒降薪员工写检讨# 据媒体报道,近日,匹克因未通知员工便实施全员阶梯式降薪,最高降幅达到50%,引发社会关注。有匹克员工透露,公司向拒绝降薪的员工发出“最后通牒”,要求其在10月14日前提交“反思检讨”,否则将面临停发9月份工资的处罚。 天眼查App显示,福建…

    2025年10月15日

发表回复

您的电子邮箱地址不会被公开。 必填项已用*标注

联系我们

邮件:939297903@qq.com

工作时间:周一至周五,9:30-18:30,节假日休息

关注微信