今年白酒相关企业注册量同比下降3成

#多方抢注龙茅商标被驳回无效##龙茅申购人次腰斩#

据报道,i茅台数据显示,今日53度、500ml装“龙茅”总申购人次约237.92万人次,该申购数据较前一日下降约12万人次,较今年初平均约500万人次下降超50%。而在申购人次“腰斩”的同时,“龙茅”、飞天茅台批价持续下跌,贵州茅台股价也不断刷新阶段低点,一度跌破1250元关口。

今年白酒相关企业注册量同比下降3成

今年白酒相关企业注册量同比下降3成

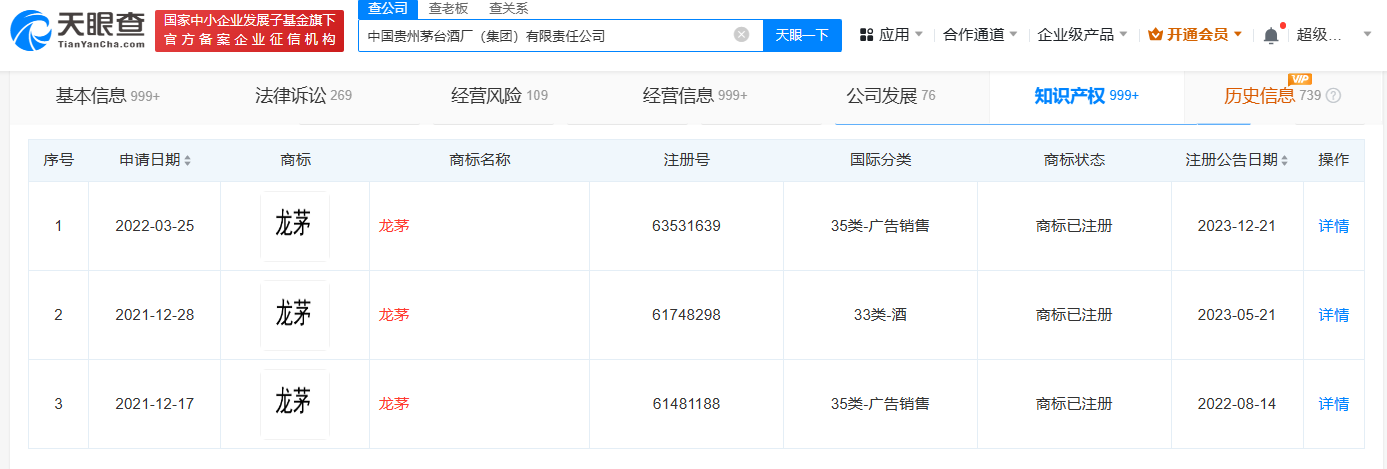
天眼查知识产权信息显示,中国贵州茅台酒厂(集团)有限责任公司已于2021年12月、2022年3月申请注册3枚“龙茅”商标,国际分类为酒、广告销售,上述商标均已成功注册。此外,“龙茅”商标还曾遭多方抢注,申请人包括实业公司、商贸公司、酒业公司等,国际分类涉及酒、医药、广告销售等,当前商标多处于无效状态。

今年白酒相关企业注册量同比下降3成

天眼查专业版数据显示,目前我国现存白酒相关的企业有约18.6万家。其中,今年以来新增注册相关企业3800余家,相比去年同期,下降31.4%。

天眼查信息:https://www.tianyancha.com/search/t401/p2?key=%E9%BE%99%E8%8C%85

本文来自投稿,不代表创造权威IP 赋能创业者——IP百创立场,如若转载,请注明出处:创造权威IP 赋能创业者——IP百创

(0)
打赏 微信扫一扫 微信扫一扫 支付宝扫一扫 支付宝扫一扫
上一篇 2024年9月23日
下一篇 2024年9月23日

相关推荐

  • 中国安全套市场,没有冈本对“杜蕾斯们”重要吗?

    来源:虎嗅APP|钱德虎 在4月开始的NBA季后赛,多数男性的目光都会被球队之间的激烈战况所吸引。 但观众们万万没想到的是,就在独行侠和太阳为了晋级而火力十足地厮杀时,另一场安全套行业关于“薄”的竞技也在暗地里打响了。 近日多位网友发现,曾被视为技术极客的冈本竟下场杀入NBA,在腾讯体育高频次投放广告。广告内容也足够简单直接,主题只有一个——“冈本,真正的0…

    2022年10月28日
  • 游戏IP的品牌之道:破圈与长青的营销密码​

    2024年前三季度,中国游戏IP市场实际销售收入已达1960亿元,其中客户端游戏IP占比高达62.3%,较去年同期大幅提升9个百分点,移动游戏IP占比24.3%。与此同时,用户调研结果显示,超90%的受访用户近一年中使用过IP相关产品。2024年1—9月,主要文娱领域流水TOP10产品中,TOP10游戏产品占据超七成份额。 这些来自2024年度游戏IP生态大…

    2024年11月8日
  • 中银资产、杭州高新创投等成立股权投资合伙企业# 出资额5亿

    天眼查App显示,近日,产融浙药中瀛扶摇(杭州)股权投资合伙企业(有限合伙)成立,执行事务合伙人为中银资本私募基金管理(北京)有限公司、浙江产融泽钥企业管理有限责任公司,出资额5亿人民币,经营范围为股权投资、创业投资,由中银金融资产投资有限公司、杭州高新创业投资有限公司、中银资本私募基金管理(北京)有限公司、浙江省医药健康产业集团有限公司、桐乡市产融慧盈股权…

    行业动态 2025年12月16日
  • 一桶康师傅剁椒鱼片汤面,把网友小脑干萎缩了……

    大家都是吃着「图片仅供参考」方便面长大的人,什么世面没见过?还真别说,今天这个关于方便的热搜创造的世面,咱还真没见过。 你看这不,一个新包装引发的一个话题——「康师傅鱼片汤面去版鱼片被群嘲」在微博热搜上,就被「群嘲」出了一千多万的阅读量。‍‍‍‍ 事情是这样的,一个月前,康师傅方便面推出了全新新品「剁椒鱼片汤面」,并展开了疯狂的营销攻势。‍ 比如在宣传图中,…

    2024年11月19日
  • 华为发布两款鸿蒙电脑,笔记本体验再次革新

    5月19日,华为在nova14系列及鸿蒙电脑新品发布会上,震撼推出全新鸿蒙电脑HUAWEI MateBook Pro与非凡大师家族全新成员HUAWEI MateBook Fold 非凡大师。其中HUAWEI MateBook Fold 非凡大师作为华为首个创新形态的电脑、迄今为止全球最轻薄商用折叠电脑、全球最大商用折叠屏电脑,以创新之姿突破笔记本行业边界,致…

    2025年5月19日

发表回复

您的电子邮箱地址不会被公开。 必填项已用*标注

联系我们

邮件:939297903@qq.com

工作时间:周一至周五,9:30-18:30,节假日休息

关注微信