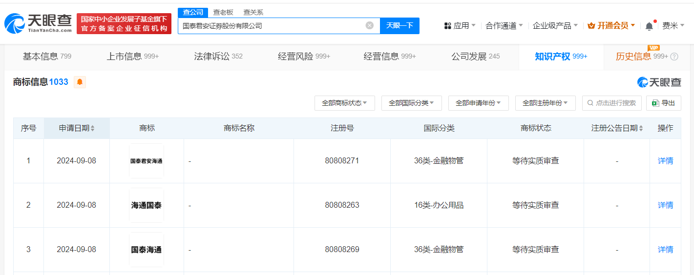
国泰君安申请国泰海通商标

天眼查知识产权信息显示,近日,国泰君安证券股份有限公司申请注册“国泰海通”“海通国泰”“国泰君安海通”商标,国际分类为金融物管、办公用品,当前商标状态均为等待实质审查。

国泰君安申请国泰海通商标

国泰君安申请国泰海通商标

国泰君安申请国泰海通商标

国泰君安申请国泰海通商标

据媒体报道,不久前,中国资本市场、证券行业迎来具有标志性意义的重大事件,国泰君安和海通证券双双发布停牌公告称,拟筹划重大资产重组。

天眼查信息:https://www.tianyancha.com/company/6775943/zhishi

本文来自投稿,不代表创造权威IP 赋能创业者——IP百创立场,如若转载,请注明出处:创造权威IP 赋能创业者——IP百创

(0)
打赏 微信扫一扫 微信扫一扫 支付宝扫一扫 支付宝扫一扫
上一篇 2024年9月24日
下一篇 2024年9月24日

相关推荐

  • 自动驾驶没有商业模式?

    商业化仍是难题,留给玩家们的时间不多了。

    2022年8月26日
  • 金开新能投资成立分布式光伏发电公司#注册资本100万

    天眼查App显示,近日,金开新能(本溪)分布式光伏发电有限公司成立,法定代表人为何昕,注册资本100万人民币,经营范围包括发电业务、输电业务、供(配)电业务。股权穿透图显示,该公司由金开新能科技有限公司全资持股,后者为金开新能源股份有限公司全资子公司。 天眼查信息:https://www.tianyancha.com/company/6013698723

    2023年4月4日
  • TJandClaire1分钟视频报价25万

    #TJandClaire商标已被抢注##相恋十年中美情侣博主分手# 12月27日晚,中美情侣博主“TJandClaire”发布视频,宣布分手,引发网友热议。 第三方数据显示,“TJandClaire”近30日掉粉1.94万。商业化水平显示,其1-20s视频广告报价为10.26万,21-60s、60s以上视频广告报价均为25.65万。 天眼查知识产权信息显示,…

    2025年12月31日
  • 许家印前妻多家实控企业已被吊销

    #许家印前妻丁玉梅实控10余家企业##许家印前妻丁玉梅更多资产曝光# 据媒体报道,11月26日,香港高等法院批准处于清算状态的中国恒大集团变更禁制令申请,允许其在泽西岛、直布罗陀、加拿大及新加坡四地,对许家印前妻丁玉梅提起司法程序,强制执行价值超2.2亿美元的境外资产。 天眼查任职信息显示,丁玉梅关联3家企业,其中2家为存续或开业状态,分别为广州创尔生物技术…

    2025年11月27日
  • #中新集团成立具身智能一期创投合伙企业# 出资额2.5亿

    天眼查工商信息显示,近日,苏州中新具身智能一期创业投资合伙企业(有限合伙)成立,执行事务合伙人为中新具身智能产业发展(苏州)有限公司,出资额2.5亿人民币,经营范围为创业投资。股权全景穿透图显示,该企业由中新集团旗下中新智地苏州工业园区有限公司、中新具身智能产业发展(苏州)有限公司共同出资。 天眼查信息:https://www.tianyancha.com/…

    2025年8月26日

发表回复

您的电子邮箱地址不会被公开。 必填项已用*标注

联系我们

邮件:939297903@qq.com

工作时间:周一至周五,9:30-18:30,节假日休息

关注微信