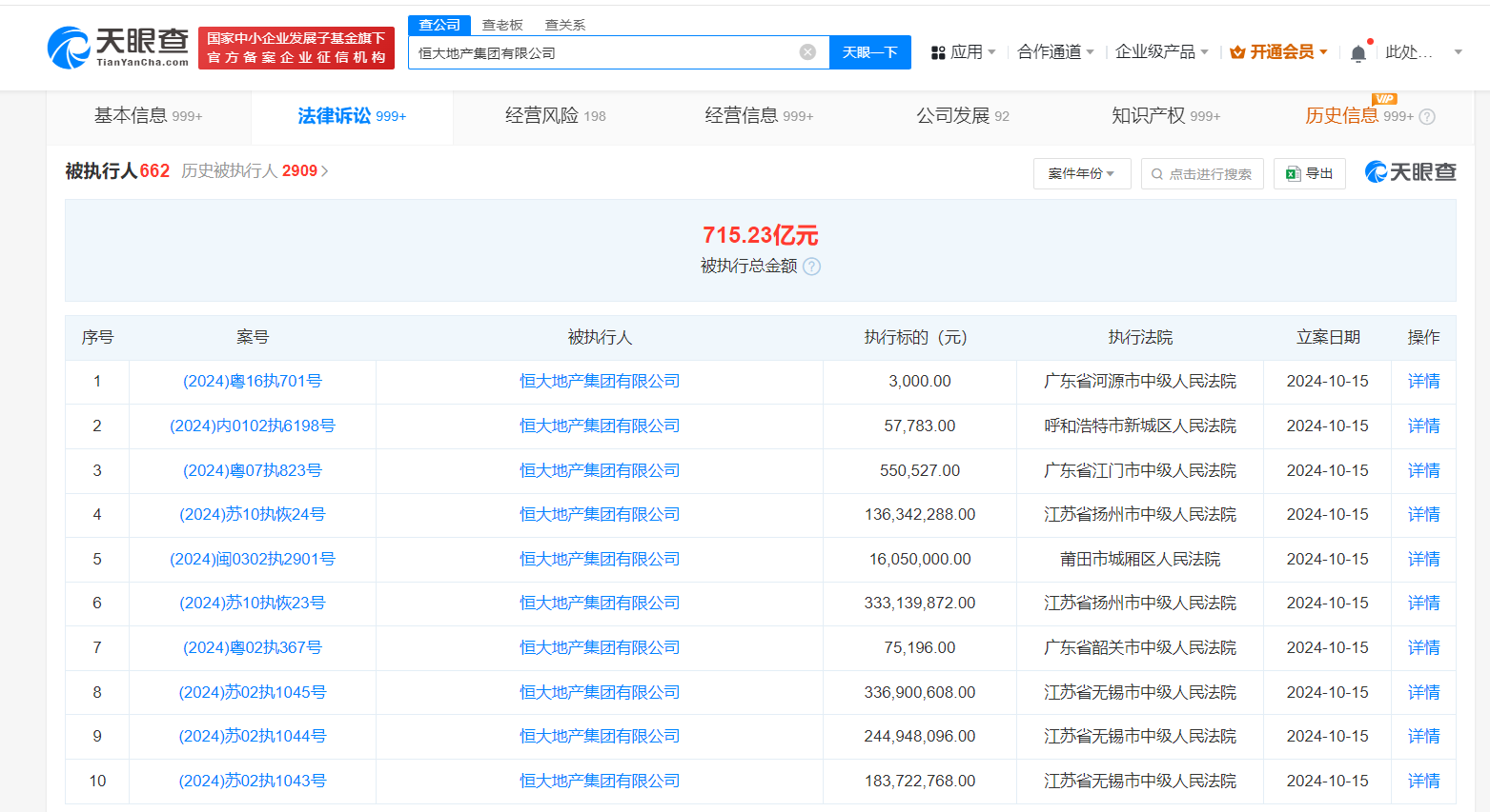
天眼查法律诉讼信息显示,10月15日,恒大地产集团有限公司新增10条被执行人信息,执行标的合计12.5亿余元,涉及票据纠纷、金融借款合同纠纷等案件,部分案件被执行人还包括仪征市恒昇房地产开发有限公司、恒大地产集团长沙置业有限公司等,执行法院为江苏省扬州市中级人民法院、江苏省无锡市中级人民法院等。


天眼风险信息显示,恒大地产集团有限公司现存660余条被执行人信息,被执行总金额超715亿元。此外,该公司还存在多条限制消费令、失信被执行人(老赖)及终本案件信息。
天眼查信息:https://www.tianyancha.com/company/7219966/sifa
本文来自投稿,不代表创造权威IP 赋能创业者——IP百创立场,如若转载,请注明出处:创造权威IP 赋能创业者——IP百创
微信扫一扫