多方曾抢注张雪峰商标

#张雪峰公司已成功注册个人商标##张雪峰被抢注商标的人索要100万#

10月21日,张雪峰发微博称:“我宁可成为中国知识产权界的一个标志性的反面案例,我也不会让抢注商标的坏人得逞,拿到一分钱!除非你承诺,把这个钱捐出去!”随后,张雪峰在微博评论区表示:“有抢注商标的人,抢注我的商标,找律师开价100万,让我买!”

多方曾抢注张雪峰商标

多方曾抢注张雪峰商标

多方曾抢注张雪峰商标

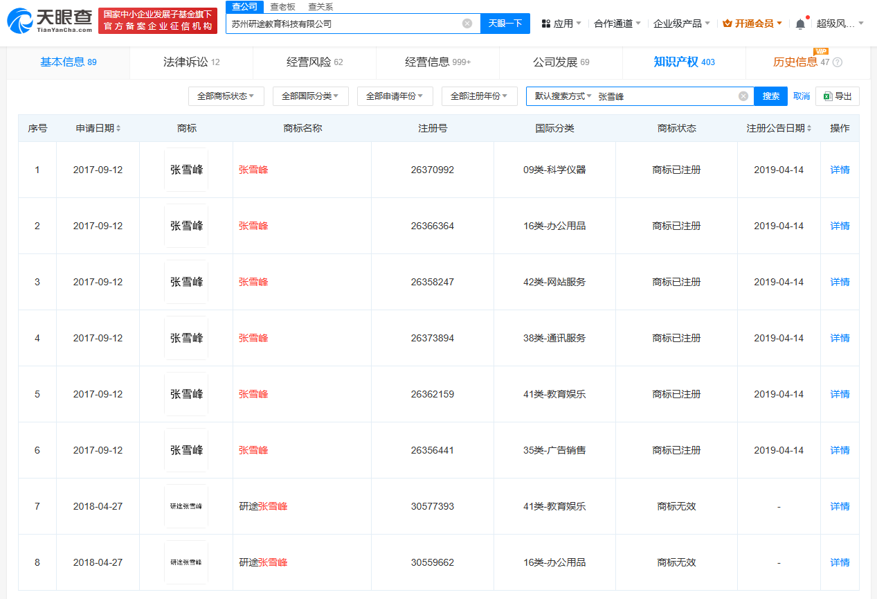
天眼查知识产权信息显示,张子彪(张雪峰)名下的苏州研途教育科技有限公司曾于2017年申请注册多枚“张雪峰”商标,国际分类涉及广告销售、教育娱乐、网站服务等,当前商标状态均为已注册。该公司还申请注册了两枚“研途张雪峰”商标,当前商标均处于无效状态。

此外,自然人张某某和北京某酒公司等曾申请注册“张雪峰”“张雪峰说得对”“张雪峰说得好”商标,国际分类涉及餐饮住宿、食品等,除自然人张某某申请的“张雪峰”商标已成功注册,其余申请多已被驳回。

天眼查信息:https://www.tianyancha.com/search/t401?key=%E5%BC%A0%E9%9B%AA%E5%B3%B0

本文来自投稿,不代表创造权威IP 赋能创业者——IP百创立场,如若转载,请注明出处:创造权威IP 赋能创业者——IP百创

(0)
打赏 微信扫一扫 微信扫一扫 支付宝扫一扫 支付宝扫一扫
上一篇 2024年10月22日
下一篇 2024年10月22日

相关推荐

  • 在一封私信里,找到了薇娅被女性消费者“偏爱”的秘密

    有人曾说直播电商好像以前的电视购物,其实仅从各自的侧重点来看,就有极大的不同。以前的电视购物就是卖货,而直播电商其实不仅拼产品,更多的是在比拼直播间之外的内容。 就比如,有人会对薇娅直播间有着极度“奇怪的忠诚”。虽然薇娅已经隐退直播间许久,但是在其丈夫董海锋的视频评论区中,“想念”是最常出现的关键词,而同样的场景还出现在“薇娅的女人”微博超话中。 其实也不难…

    2024年3月27日
  • #珠海市低空产业投资运营公司增资至1.54亿# 增幅54%

    天眼查工商信息显示,近日,珠海市低空产业投资运营有限公司发生工商变更,新增珠海红宝石建设开发集团有限公司为股东,注册资本由1亿人民币增至1.54亿人民币,增幅54%,同时,部分主要人员也发生变更。 珠海市低空产业投资运营有限公司成立于2013年10月,法定代表人为周斌,经营范围含通用航空服务、民用航空维修人员培训、飞行训练、民用机场运营、建设工程施工、以自有…

    行业动态 2025年8月20日
  • 一部饮食文化史,半部厨电产业进化论

    文 | 周天财经 周天财经 原创出品 导读:经济学家林毅夫在解读中国经济奇迹时,使用「后发优势」框架来阐述,从最初的服装、玩具等低端制造,逐渐积累了资本和技术乃至工程师红利,让这个经济体中,开始有了研发投入,产业开始不断升级,演化到复杂商品的组装和代工的中间态。直至目前,又从中间态进入到新能源汽车、消费电子、无人机、厨房家电等创新技术和自有品牌全面开花时代,…

    2024年4月20日
  • 苹果中国公司董事长变更

    天眼查App显示,近日,苹果电子产品商贸(北京)有限公司发生工商变更,麦克·约瑟夫·博德(Michael Joseph Boyd Jr)卸任法定代表人、董事长、经理,由伽泰杰(Tejas Kirit Gala)接任。 该公司成立于2007年12月,注册资本4500万美元,由Apple Operations International Limited全资持股。…

    行业动态 2023年3月8日
  • 霸王茶姬创始人维权获赔2000元

    #霸王茶姬创始人维权案胜诉# 天眼查天眼风险信息显示,近日,北京互联网法院向被告刘某公告送达民事判决书,涉及原告北京茶姬餐饮管理有限公司、创始人张俊杰与其网络侵权责任纠纷案件。法院判决被告刘某向北京茶姬餐饮管理有限公司、张俊杰赔礼道歉,赔偿张俊杰精神损害抚慰金2000元。 天眼查信息:https://www.tianyancha.com/judicialca…

    行业动态 2026年3月4日

发表回复

您的电子邮箱地址不会被公开。 必填项已用*标注

联系我们

邮件:939297903@qq.com

工作时间:周一至周五,9:30-18:30,节假日休息

关注微信