天眼查315数据:#骚扰电话涉事销氪公司已登记多款外呼软件#

#315曝光销氪公司大股东为微盟集团#

央视315晚会曝光操纵骚扰电话的问题,上海销氪信息科技有限公司被点名。

天眼查315数据:#骚扰电话涉事销氪公司已登记多款外呼软件#

天眼查315数据:#骚扰电话涉事销氪公司已登记多款外呼软件#

天眼查315数据:#骚扰电话涉事销氪公司已登记多款外呼软件#

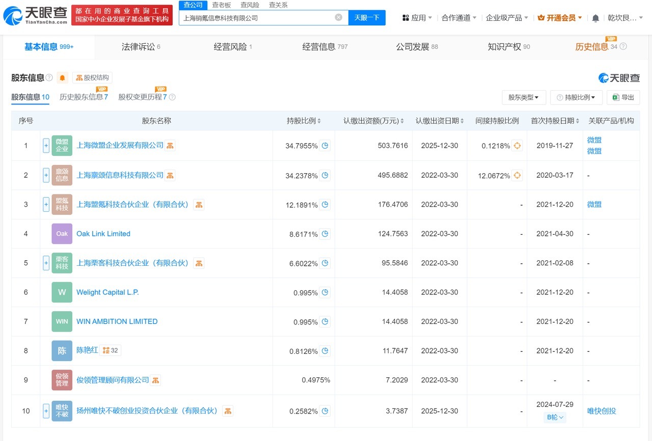
天眼查App显示,上海销氪信息科技有限公司成立于2019年11月,法定代表人为李皓,注册资本约1448万人民币,经营范围包括从事信息科技、手机智能软件科技、通信科技、计算机软硬件科技、网络科技领域内的技术开发、技术服务、技术转让、技术咨询等,由微盟集团旗下上海微盟企业发展有限公司、上海禀颂信息科技有限公司、上海盟氪科技合伙企业(有限合伙)、Oak Link Limited等共同持股。知识产权信息显示,该公司已登记销氪AI外呼线路调度平台、销氪AI外呼话术可视化平台等多款软件著作权。

天眼查信息:https://www.tianyancha.com/company/3392166764

本文来自投稿,不代表创造权威IP 赋能创业者——IP百创立场,如若转载,请注明出处:创造权威IP 赋能创业者——IP百创

(0)
打赏 微信扫一扫 微信扫一扫 支付宝扫一扫 支付宝扫一扫
上一篇 2025年3月16日
下一篇 2025年3月16日

相关推荐

  • 杨笠“京东”事件引发市场地震,性别议题如何不成“烫手山芋”?

    ​作者| 吴玖玖 编辑| 赤木瓶子 杨笠代言又又又翻车了,这次摊上事的是京东。 正值双十一促销期间,京东却面临其核心消费者群体——男性用户的广泛抵制,许多顾客选择退货甚至注销账户。 京东此番代言人选择,被调侃为关键时刻,给其它电商平台送人头。 杨笠代言遭遇抵制并非首次发生,但京东依然选择冒险,背后是对女性市场渴求的迫切与业绩增长压力下的战略考量。 但京东的此…

    行业动态 2024年10月22日
  • 星帅尔等在上海成立私募投资基金注册资本1亿

    天眼查App显示,近日,上海上电科星帅尔私募投资基金合伙企业(有限合伙)成立,执行事务合伙人为上海电科股权投资基金管理有限公司,出资额1亿人民币,经营范围包括以私募基金从事股权投资、投资管理、资产管理等活动。合伙人信息显示,该基金由星帅尔、上海电器科学研究所(集团)有限公司、上海电科股权投资基金管理有限公司共同出资。 天眼查信息:https://www.ti…

    2025年10月13日
  • 语雀数字花园,知识管理3.0

    提起知识库,你会想到什么? 网盘、文库、知乎、飞书……可能都沾点边,但又都不准确。 中国内地第一个提出“知识库”这个概念的产品,其实是语雀。所以真正最典型的知识库产品,也是语雀。 10月24日14:00,语雀知识大会开启直播,本次大会围绕“构建你的数字花园”展开。 这次大会我全程参与,和语雀的产品负责人镜同也进行了一次深度对话,对于语雀这款貌似极客、高手们更…

    2022年10月24日
  • 瑞士制表品牌艾美表官方入驻得物,独家首发联名新品

    运动是当前年轻人的新潮生活方式。在得物App,滑雪、滑板、骑行、赛车等由年轻人掀起的新运动潮流,启发国际品牌加深与得物App的多元化合作。3月18日,瑞士制表品牌艾美表在官方入驻得物App的基础之上,将特别版新款AIKON系列Tide Mahindra联名款在得物App独家首发。该款重磅新品由艾美表联合全球首个且唯一全电动方程式赛车赛事——ABB国际汽联电动…

    2023年3月17日
  • 《人世间》狂揽白玉兰5项大奖,阅文如何屡出精品?

    ​6月23日晚,“白玉兰绽放”上海电视节颁奖典礼在上海梅赛德斯奔驰文化中心举行,备受剧迷期待的第28届白玉兰奖各大奖项一一揭晓。国家广播电视总局副局长、党组成员朱咏雷,上海市委常委、宣传部部长赵嘉鸣,上海市副市长刘多,上海市政协副主席金兴明等领导出席了颁奖典礼。 本届上海电视节经过两年聚势凝力,白玉兰奖各类别的入围名单,呈现“质”、“量”双升的特点,展示出中…

    行业动态 2023年6月24日

发表回复

您的电子邮箱地址不会被公开。 必填项已用*标注

联系我们

邮件:939297903@qq.com

工作时间:周一至周五,9:30-18:30,节假日休息

关注微信