董宇辉公司申请兰知春序商标

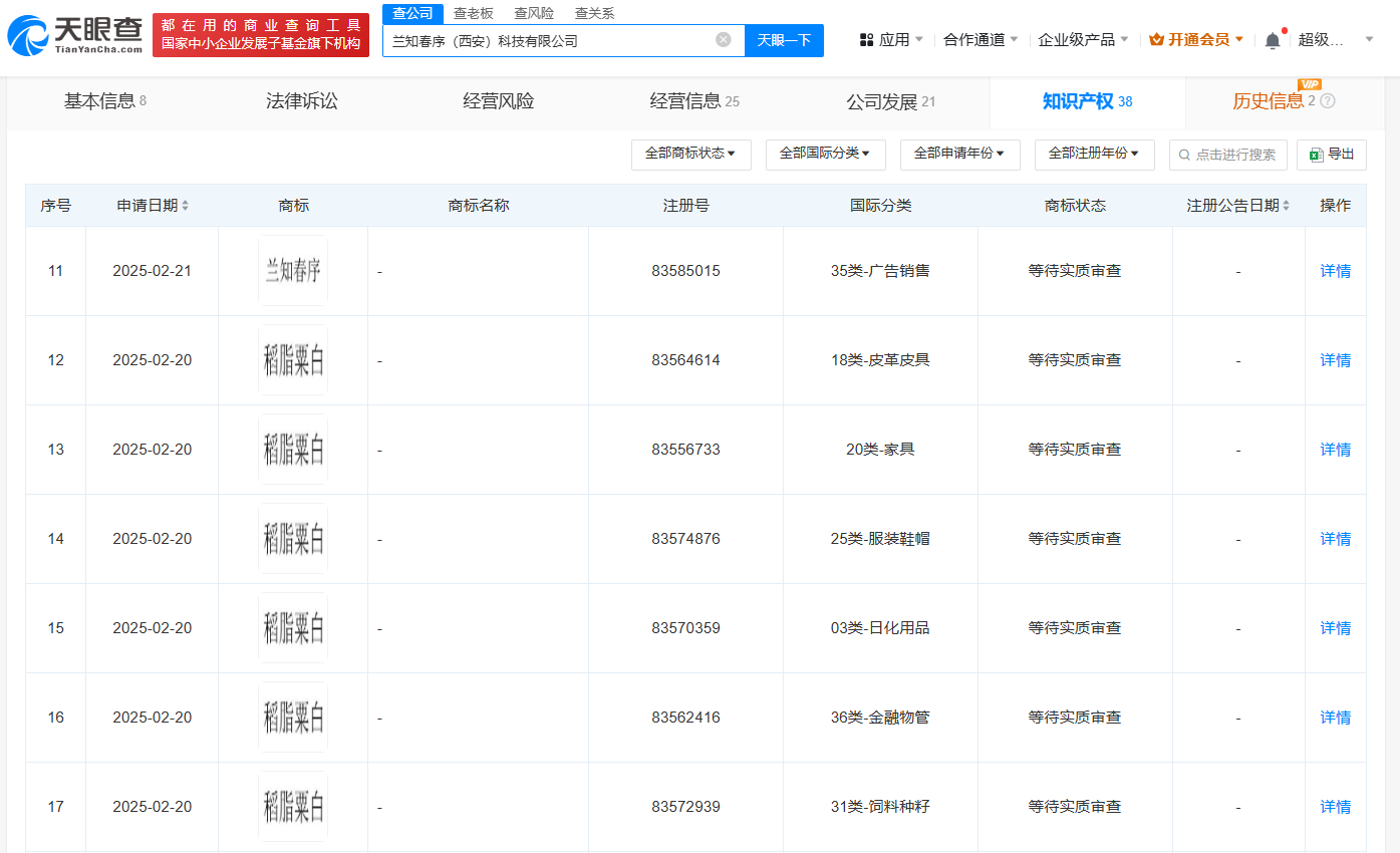
#董宇辉公司申请稻脂粟白商标#

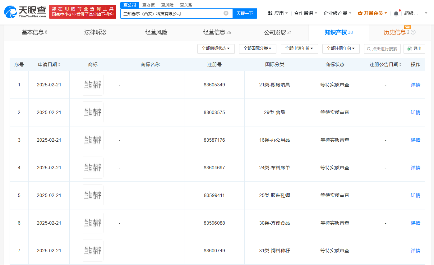
天眼查财产线索信息显示,近日,兰知春序(西安)科技有限公司申请注册多枚“兰知春序”“稻脂粟白”商标,国际分类涉及广告销售、运输工具等,当前商标状态均为等待实质审查。

董宇辉公司申请兰知春序商标

董宇辉公司申请兰知春序商标

董宇辉公司申请兰知春序商标

兰知春序(西安)科技有限公司成立于2024年12月,法定代表人为董宇辉,注册资本500万人民币,经营范围包括广播电视节目制作经营、演出经纪、食品销售、旅游业务等。股东信息显示,该公司由子三省(北京)科技有限公司全资持股,实际控制人为董宇辉。

天眼查信息:https://www.tianyancha.com/company/7348235173

本文来自投稿,不代表创造权威IP 赋能创业者——IP百创立场,如若转载,请注明出处:创造权威IP 赋能创业者——IP百创

(0)
打赏 微信扫一扫 微信扫一扫 支付宝扫一扫 支付宝扫一扫
上一篇 2025年3月17日
下一篇 2025年3月17日

相关推荐

  • 中国恒大及恒大汽车等被执行20.5亿

    #中国恒大累计被执行超146亿# 天眼查法律诉讼信息显示,近日,中国恒大集团、恒大新能源汽车投资控股集团有限公司等新增一则被执行人信息,执行标的20.5亿余元,执行法院为河南省郑州市中级人民法院。 风险信息显示,中国恒大集团现存10余条被执行人信息,被执行总金额超146亿元,此外还存在多条终本案件信息。 天眼查信息:https://www.tianyanch…

    2025年12月8日
  • 浙石化在舟山成立新材料公司注册资本5000万

    天眼查App显示,近日,浙石化新材料(舟山)有限公司成立,法定代表人为刘明辉,注册资本5000万人民币,经营范围包括基础化学原料制造、新型催化材料及助剂销售、新材料技术研发、新材料技术推广服务等。股东信息显示,该公司由浙江石油化工有限公司全资持股。 天眼查信息:https://www.tianyancha.com/company/7802976960

    2025年10月21日
  • 招银金融资产投资公司登记成立注册资本150亿

    天眼查工商信息显示,近日,招银金融资产投资有限公司成立,法定代表人为雷财华,注册资本150亿人民币,经营范围为非银行金融业务。股东信息显示,该公司由招商银行全资持股。 据媒体报道,招商银行11月23日公告称,招银金融资产投资有限公司已获金融监管总局批准开业,该公司将开展市场化债转股业务及股权投资试点业务。 天眼查信息:https://www.tianyanc…

    2025年11月24日
  • 中国信科集团等在武汉成立产业投资基金出资额50亿

    天眼查工商信息显示,近日,信科产业投资基金(武汉)合伙企业(有限合伙)成立,执行事务合伙人为武汉中信科资本创业投资基金管理有限公司,出资额50亿人民币,经营范围为创业投资,以私募基金从事股权投资、投资管理、资产管理等活动。合伙人信息显示,该基金由中国信息通信科技集团有限公司、武汉产业发展基金有限公司、湖北省铁路发展基金有限责任公司等共同出资。 天眼查信息:h…

    2025年10月28日
  • 国家电投在天津津南成立新能源公司# 注册资本1000万

    天眼查App显示,近日,天津津南国电投新能源有限公司成立,法定代表人为高孝祺,注册资本1000万人民币,经营范围包括太阳能发电技术服务、新兴能源技术研发、新材料技术推广服务、电力电子元器件销售等。股东信息显示,该公司由国家电投集团天津电力有限公司全资持股。 天眼查信息:https://www.tianyancha.com/company/7891432757

    2025年12月19日

发表回复

您的电子邮箱地址不会被公开。 必填项已用*标注

联系我们

邮件:939297903@qq.com

工作时间:周一至周五,9:30-18:30,节假日休息

关注微信