科大讯飞申请注册AI星朋友商标

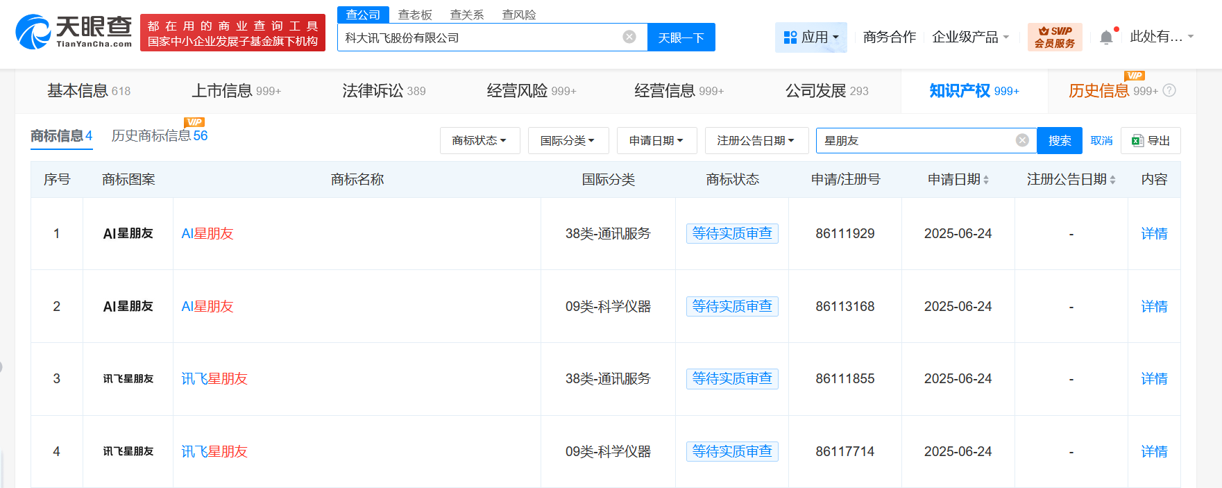
天眼查知识产权信息显示,近日,科大讯飞股份有限公司申请注册“AI星朋友”“讯飞星朋友”商标,国际分类为科学仪器、通讯服务,当前商标状态均为等待实质审查。

科大讯飞申请注册AI星朋友商标

科大讯飞申请注册AI星朋友商标

科大讯飞申请注册AI星朋友商标

公开信息显示,科大讯飞旗下AI产品“星朋友”是一款专注于虚拟社交与情感交互的智能应用,结合语音技术与AI生成能力,提供沉浸式互动体验。

天眼查信息:https://www.tianyancha.com/company/1186041/zhishi

本文来自投稿,不代表创造权威IP 赋能创业者——IP百创立场,如若转载,请注明出处:创造权威IP 赋能创业者——IP百创

(0)
打赏 微信扫一扫 微信扫一扫 支付宝扫一扫 支付宝扫一扫
上一篇 2025年7月31日
下一篇 2025年7月31日

相关推荐

  • 联想于北京成立联控前瞻技术公司# 注册资本1000万

    天眼查App显示,近日,北京联控前瞻技术有限公司成立,注册资本1000万人民币,法定代表人为于浩,经营范围含技术服务;新材料技术研发、工程和技术研究和试验发展、生物化工产品技术研发、科技中介服务、创业空间服务、知识产权服务等。股东信息显示,该公司由联想控股股份有限公司全资持股。 天眼查信息:https://www.tianyancha.com/company…

    行业动态 2023年4月25日
  • #建信投资等在珠海成立股权投资基金# 出资额20亿

    天眼查工商信息显示,近日,珠海建源华金股权投资基金合伙企业(有限合伙)成立,执行事务合伙人为珠海华金领创基金管理有限公司、建信金投私募基金管理(北京)有限公司,出资额20亿人民币,经营范围包括以私募基金从事股权投资、投资管理、资产管理等活动。合伙人信息显示,该基金由珠海市新质生产力投资基金合伙企业(有限合伙)、建信金融资产投资有限公司等共同出资。 天眼查信息…

    2025年9月11日
  • 创始人林盛任职钟薛高旗下食品公司

    天眼查App显示,近日,上海钟帆食品科技有限公司发生工商变更,周兵卸任法定代表人、执行董事,均由林盛接任。 该公司成立于2023年11月,注册资本300万人民币,经营范围含食品销售、食用农产品零售、日用百货销售、机械设备销售、互联网销售、餐饮管理、企业管理咨询、信息咨询服务等。股东信息显示,该公司由钟薛高食品(上海)有限公司全资持股。 天眼查信息:https…

    2024年6月4日
  • 向超高端进发!小米召开史上最“Ultra”发布会

    2月27日,Xiaomi 15 Ultra暨Xiaomi SU7 Ultra新品发布会在北京召开,小米集团创始人、董事长兼CEO雷军领衔发布了小米15 Ultra、小米SU7 Ultra,以及米家中央空调Pro、小米最强AIPC办公本REDMI Book 16 Pro 2025等多款「人车家全生态」高端重磅新品,同时宣布小米SU7 Ultra量产版将于今年正…

    2025年2月27日
  • 蚂蚁数科在武汉成立信息技术公司注册资本1000万

    天眼查工商信息显示,近日,数智天蚂(武汉)信息技术有限公司成立,法定代表人为张凯,注册资本1000万人民币,经营范围含软件开发、互联网安全服务、网络与信息安全软件开发、人工智能通用应用系统、信息技术咨询服务、网络技术服务、智能机器人销售、智能机器人的研发、人工智能基础软件开发等。股东信息显示,该公司由蚂蚁数科旗下蚂蚁数动未来(北京)科技有限公司全资持股。 天…

    2026年1月6日

发表回复

您的电子邮箱地址不会被公开。 必填项已用*标注

联系我们

邮件:939297903@qq.com

工作时间:周一至周五,9:30-18:30,节假日休息

关注微信