无语哥摊手表情已被申请注册为商标

7月31日,无语哥KhabyLame入驻微博,发布第一条内容:“你不一定认识我是谁,但一定用过我的表情包。”据悉,“无语哥”本名卡比·拉梅,是一名自媒体博主,因为经常用沉默无语的表情和经典的摊手手势,来吐槽一些无用又矫情的“生活小妙招”而走红。

无语哥摊手表情已被申请注册为商标

无语哥摊手表情已被申请注册为商标

无语哥摊手表情已被申请注册为商标

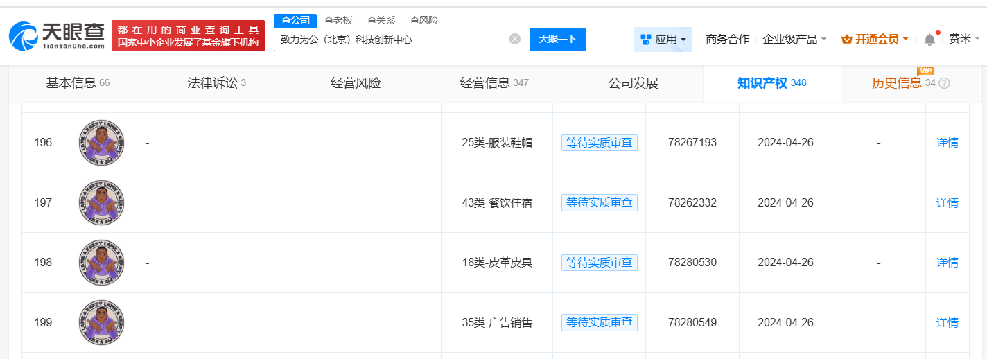
天眼查知识产权信息显示,致力为公(北京)科技创新中心于去年申请注册多枚“KHABY LAME”摊手的表情商标,国际分类包括服装鞋帽、餐饮住宿、皮革皮具等,当前商标状态为等待实质审查。

致力为公(北京)科技创新中心成立于2011年8月,法定代表人为尚云霞,注册资本100万人民币,经营范围包括以自有资金从事投资活动、社会经济咨询服务、单用途商业预付卡代理销售等,由尚云霞、尚明军共同持股。

天眼查信息:https://www.tianyancha.com/company/25372720/zhishi

本文来自投稿,不代表创造权威IP 赋能创业者——IP百创立场,如若转载,请注明出处:创造权威IP 赋能创业者——IP百创

(0)
打赏 微信扫一扫 微信扫一扫 支付宝扫一扫 支付宝扫一扫
上一篇 2025年8月1日
下一篇 2025年8月1日

相关推荐

  • 特斯联等在嘉兴成立具身机器人制造公司# 注册资本1000万

    天眼查App显示,近日,光特(嘉兴)具身机器人制造有限责任公司成立,法定代表人为刘烽,注册资本1000万人民币,经营范围包括服务消费机器人制造、智能机器人的研发、软件开发等。股东信息显示,该公司由特斯联科技集团有限公司、光特海智海洋科技(青岛)有限公司共同持股。 天眼查信息:https://www.tianyancha.com/company/7850700…

    行业动态 2025年11月17日
  • 极越汽车关联公司申请破产

    #上海集度汽车公司申请破产审查# 天眼查天眼风险信息显示,11月24日,极越关联公司上海集度汽车有限公司新增一则破产审查案件,申请人为该公司,经办法院为上海市第三中级人民法院。 该公司成立于2021年11月,法定代表人为夏一平,注册资本4亿美元,经营范围包括新能源汽车整车销售、汽车零部件及配件制造、汽车零配件批发、电动汽车充电基础设施运营等。股东信息显示,该…

    2025年11月24日
  • #联创光电成立数智科技公司# 注册资本1亿

    天眼查工商信息显示,近日,江西联创数智科技有限公司成立,法定代表人为伍锐,注册资本1亿人民币,经营范围含电子产品销售、金属材料销售、光电子器件销售、半导体照明器件销售、通信设备销售、光缆销售、电力电子元器件销售、企业管理咨询等。股东信息显示,该公司由联创光电全资持股。 天眼查信息:https://www.tianyancha.com/company/7707…

    2025年9月4日
  • 吉利1亿成立智芯动力系统公司

    天眼查App显示,近日,湖州智芯动力系统发展有限公司成立,法定代表人范现军,注册资本1亿人民币,经营范围含电池制造;电池零配件生产;新兴能源技术研发;新能源汽车废旧动力蓄电池回收及梯次利用;智能车载设备制造;电机制造等。股权穿透图显示,该公司由浙江吉利远程新能源商用车集团有限公司间接全资持股。 天眼查信息:https://www.tianyancha.com…

    2023年2月23日
  • 华能国际、中盐集团在常州成立盐穴储能公司# 注册资本1.2亿

    天眼查App显示,近日,中盐(常州)盐穴储能有限公司成立,法定代表人为谢卫炜,注册资本1.2亿人民币,经营范围包括储能技术服务等。股权全景穿透图显示,该公司由华能国际(600011)旗下华能国际电力江苏能源开发有限公司、中盐集团旗下中盐盐穴综合利用股份有限公司共同持股。 天眼查信息:https://www.tianyancha.com/company/785…

    行业动态 2025年11月18日

发表回复

您的电子邮箱地址不会被公开。 必填项已用*标注

联系我们

邮件:939297903@qq.com

工作时间:周一至周五,9:30-18:30,节假日休息

关注微信