揭秘东北雨姐夫妇公司现状

#东北雨姐丈夫多家企业曾申请注销又撤回##东北雨姐发博#

据报道,8月9日,曾因虚假宣传被处罚的网红东北雨姐时隔近一年发文后又删除。8月11日,本溪满族自治县互联网信息办公室工作人员回应称,东北雨姐的抖音账号将于今年10月解封,整改到位后理论上可继续从事直播带货,但必须遵守相关规定。

揭秘东北雨姐夫妇公司现状

揭秘东北雨姐夫妇公司现状

揭秘东北雨姐夫妇公司现状

揭秘东北雨姐夫妇公司现状

揭秘东北雨姐夫妇公司现状

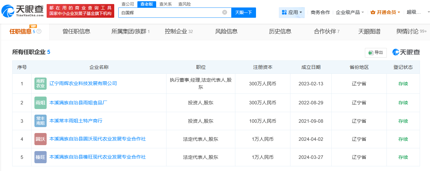
天眼查任职信息显示,东北雨姐(常小雨)名下仅辽宁雨姐电商直播孵化基地有限公司、忠县辰辉文化艺术工作室(个体工商户)为存续状态。 东北雨姐丈夫白国辉名下关联5家存续企业,通过直接或间接持股,白国辉拥有32家企业的实际控制权。近期,白国辉实控的本溪星前途创意广告策划有限公司等公司接连注销。此外,去年11月,白国辉实控的本溪叶莲娜传媒有限公司、本溪星未来创意广告策划有限公司等多家公司曾申请简易注销后又撤回。

天眼查信息:https://www.tianyancha.com/human/2086555745-c5145659214

本文来自投稿,不代表创造权威IP 赋能创业者——IP百创立场,如若转载,请注明出处:创造权威IP 赋能创业者——IP百创

(0)
打赏 微信扫一扫 微信扫一扫 支付宝扫一扫 支付宝扫一扫
上一篇 2025年8月12日
下一篇 2025年8月12日

相关推荐

  • 多个股东退出哪吒2电影配音公司

    #哪吒2电影配音公司发生高管变更# 天眼查工商信息显示,近日,成都声娱文化传播有限公司发生工商变更,杭州赤子之礼投资管理合伙企业(有限合伙)、杭州和山前行投资合伙企业(有限合伙)、杭州嘉植投资管理合伙企业(有限合伙)、杭州普鲁同投资有限公司退出股东行列,注册资本由约253.97万人民币增至约423.28万人民币,增幅约67%,同时,多位主要人员也发生变更。 …

    2025年8月27日
  • 《宁安如梦》表情包火遍全网,“待爆帝”们难扛S级古偶男主?

    作者| 连翘 编辑| 把青 《宁安如梦》虽已完结,戏外的讨论声却没完。 作为爱奇艺2023年Q4的S级古偶剧,《宁安如梦》在数据层面依旧能打,爱奇艺站内热度最高破万,连续近三周在云合、猫眼、灯塔等平台热度排名第一。并且,在11月25日举办的爱奇艺尖叫之夜上,主演白鹿和张凌赫分别获得了年度尖叫女演员奖和年度飞跃男演员奖,平台的重视程度可见一斑。 但与此同时,白…

    行业动态 2023年11月29日
  • 四川省矿业投资集团增资至16亿增幅约383%

    天眼查App显示,近日,四川省矿业投资集团有限责任公司发生工商变更,注册资本由3.31亿人民币增至16亿人民币,增幅约383%。 该公司成立于2009年4月,法定代表人为刘慎波,经营范围为项目投资、商品批发与零售、进出口业务、房屋租赁。股东信息显示,该公司由四川发展(控股)有限责任公司全资持股。 天眼查信息:https://www.tianyancha.co…

    2025年12月4日
  • 厦门钨业旗下金鹭合金成立切削技术公司注册资本4亿

    天眼查工商信息显示,近日,成都金鹭数智切削技术有限公司成立,法定代表人为孙东平,注册资本4亿人民币,经营范围包括锻件及粉末冶金制品制造、有色金属合金制造、非金属矿及制品销售等。股权全景穿透图显示,该公司由厦门金鹭特种合金有限公司全资持股,后者由厦门钨业和联合材料株式会社分别持股70%、30%。 天眼查信息:https://www.tianyancha.com…

    2025年10月17日
  • 江西省空地一体低空经济公司登记成立# 注册资本500万

    天眼查工商信息显示,近日,江西省空地一体低空经济有限公司成立,法定代表人为王法磊,注册资本500万人民币,经营范围含通用航空服务、测绘服务、飞行训练、软件开发、网络与信息安全软件开发、物联网技术研发、智能水务系统开发、卫星遥感应用系统集成、信息系统运行维护服务、人工智能基础资源与技术平台等。股东信息显示,该公司由江西翱翔星云科技有限公司、江西省青翼低空经济有…

    行业动态 2025年11月13日

发表回复

您的电子邮箱地址不会被公开。 必填项已用*标注

联系我们

邮件:939297903@qq.com

工作时间:周一至周五,9:30-18:30,节假日休息

关注微信