涉嫌猥亵儿童导演名下公司均异常

#郑某峰名下多家公司被吊销或注销# #起底涉嫌猥亵儿童导演投资版图##郑某峰涉嫌猥亵儿童已被批捕待起诉#

据媒体报道,8月12日,记者从海口政法部门获悉,演员兼导演郑某峰因涉嫌猥亵儿童,早前已被检察院批捕,目前正等待起诉。据悉,郑某峰曾在电影《美人鱼》扮演“郑总”一角。

涉嫌猥亵儿童导演名下公司均异常

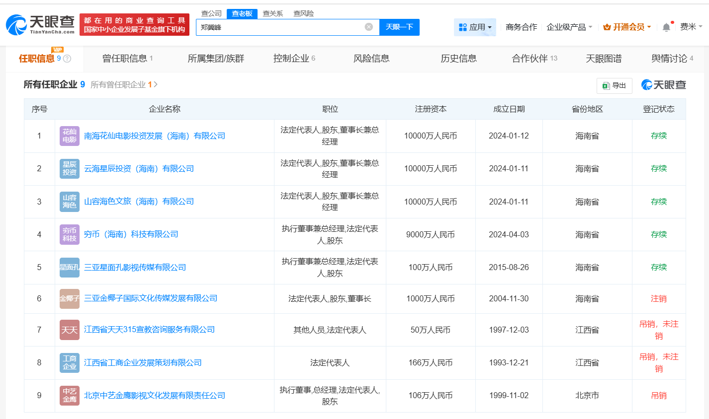
天眼查任职信息显示,郑某峰名下共关联9家企业,5家为存续状态,包括南海花仙电影投资发展(海南)有限公司、云海星辰投资(海南)有限公司、穷币(海南)科技有限公司等,郑某峰在上述公司担任执行董事、董事长、法定代表人等职务。近期,上述五家公司均因未依照期限公示年度报告,被列入经营异常名录,其余4家为注销或吊销状态,包括江西省工商企业发展策划有限公司、北京中艺金鹰影视文化发展有限责任公司等。

天眼查信息:https://www.tianyancha.com/human/2215751233-c104918344

本文来自投稿,不代表创造权威IP 赋能创业者——IP百创立场,如若转载,请注明出处:创造权威IP 赋能创业者——IP百创

(0)
打赏 微信扫一扫 微信扫一扫 支付宝扫一扫 支付宝扫一扫
上一篇 2025年8月13日 上午11:47
下一篇 2025年8月13日 下午12:31

相关推荐

  • 青岛财通集团增资至100亿# 增幅约67%

    天眼查工商信息显示,近日,青岛财通集团有限公司发生工商变更,注册资本由60亿人民币增至100亿人民币,增幅约67%。 青岛财通集团有限公司成立于2020年9月,法定代表人王振海,经营范围包括资产及股权的投资与并购、运营与管理等。股东信息显示,该公司由青岛市财政局全资持股。 天眼查信息:https://www.tianyancha.com/company/34…

    行业动态 2025年11月27日
  • 双11爆单了 面对泼天流量 飞猪接得并不稳

    融入电商事业群让飞猪有了更多“露脸”的机会,但能否“长脸”依赖的是飞猪自身供应链能力、履约水平、售后服务质量的提升,飞猪仍有许多功课要补。 记者丨张飞涛 实习生丨汗青 出品丨鳌头财经 加入阿里电商事业群后的首个双11,飞猪成绩斐然。 10月22日,飞猪官方公布了双11开卖24小时的“战报”,近300个商家活动商品成交额较去年翻倍;万豪酒店、长隆度假区、上海迪…

    2025年10月29日
  • 中金资本、榆林能源集团成立绿色低碳转型股权投资基金出资额5亿

    天眼查App显示,近日,中金榆能(榆林)绿色低碳转型股权投资基金合伙企业(有限合伙)成立,执行事务合伙人为中金资本运营有限公司,出资额5亿人民币,经营范围为以私募基金从事股权投资、投资管理、资产管理等活动,以自有资金从事投资活动,由陕西榆林能源集团有限公司、中金资本运营有限公司共同出资。 天眼查信息:https://www.tianyancha.com/co…

    2025年10月27日
  • 张权卸任极越汽车关联公司职务

    天眼查App显示,近日,极越汽车关联公司杭州极与越汽车科技有限公司发生工商变更,张权卸任法定代表人、执行董事,由戴庆接任法定代表人并担任董事。 杭州极与越汽车科技有限公司成立于2023年8月,注册资本1000万人民币,由吉利旗下浙江吉利产投控股有限公司、百度旗下上海幂航汽车有限公司分别持股65%、35%。 天眼查信息:https://www.tianyanc…

    2024年10月12日
  • 云意电气在南京成立机器人公司# 注册资本1亿

    天眼查App显示,近日,南京云意机器人有限公司成立,法定代表人为刘雨,注册资本1亿人民币,经营范围包括智能机器人的研发、工业机器人制造、工业机器人销售、集成电路制造等。股东信息显示,该公司由云意电气(300304)全资持股。 天眼查信息:https://www.tianyancha.com/company/7861300482  

    行业动态 2025年11月26日

发表回复

您的电子邮箱地址不会被公开。 必填项已用*标注

联系我们

邮件:939297903@qq.com

工作时间:周一至周五,9:30-18:30,节假日休息

关注微信