三亚虫子成群酒店注册人间天堂商标

#三亚虫子成群酒店去年更换老板# #三亚虫子成群酒店总公司被冻结股权##三亚7199元一晚的酒店虫子成群#

近日,有网友爆料,7月份在三亚亚龙湾鸟巢度假村的入住体验极差,花费7199元一晚的高价,却遭遇房间内出现成群小虫。对此,酒店方致歉称,已免费升级房型。

三亚虫子成群酒店注册人间天堂商标

三亚虫子成群酒店注册人间天堂商标

三亚虫子成群酒店注册人间天堂商标

三亚虫子成群酒店注册人间天堂商标

三亚虫子成群酒店注册人间天堂商标

天眼查工商信息显示,涉事公司三亚亚龙湾云天热带森林公园有限公司人间天堂鸟巢度假村成立于2009年5月,经营范围包括森林公园经营管理、旅业及游乐项目开发经营、保健服务等。变更记录显示,去年8月,毛剑峰卸任负责人,由李昌龙接任。知识产权信息显示,2021年,该公司已成功注册“人间天堂”商标,国际分类为日化用品、珠宝钟表。

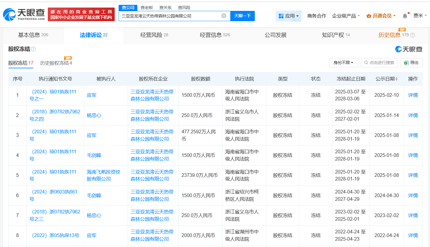
值得一提的是,总公司三亚亚龙湾云天热带森林公园有限公司成立于2003年10月,法定代表人为毛剑峰,经营范围包括餐饮、旅馆、农副产品加工与销售等。股东信息显示,该公司由海南飞帆投资控股有限公司、海南旅程投资有限公司、应军等共同持股。天眼风险信息显示,该公司现存多条股权冻结信息,被执行人包括该公司股东应军、海南飞帆投资控股有限公司、毛剑峰等。

天眼查信息:https://www.tianyancha.com/company/1467719125/zhishi

本文来自投稿,不代表创造权威IP 赋能创业者——IP百创立场,如若转载,请注明出处:创造权威IP 赋能创业者——IP百创

(0)
打赏 微信扫一扫 微信扫一扫 支付宝扫一扫 支付宝扫一扫
上一篇 2025年8月13日 下午12:31
下一篇 2025年8月13日 下午12:35

相关推荐

  • 比亚迪于深圳成立汽车销售公司

    #比亚迪同日在深圳成立2家销售公司# 天眼查App显示,3月29日,深圳比亚迪路骐汽车销售有限公司、深圳比亚迪新景腾飞汽车销售有限公司成立,法定代表人均为罗轶青,注册资本同为200万人民币,经营范围包括新能源汽车整车销售;汽车零配件零售;汽车装饰用品销售;充电桩销售;新能源汽车电附件销售;汽车零配件批发;二手车经纪等。股东信息显示,两家公司均由比亚迪汽车工业…

    2023年3月30日
  • #内蒙古银行增资至约84.1亿# 增幅约47%

    天眼查工商信息显示,近日,内蒙古银行股份有限公司发生工商变更,注册资本由约57.2亿人民币增至约84.1亿人民币,增幅约47%。 内蒙古银行股份有限公司成立于1999年11月,法定代表人为郭大勇,经营范围包括吸收公众存款、办理国内结算、办理票据承兑与贴现等。股东信息显示,该公司由内蒙古财信投资集团有限公司、包头市恒通(集团)有限责任公司、哈尔滨经济开发投资有…

    2025年9月1日
  • 没有“全民爆款”的2023年综艺,等待跳出“内容深井” | 年度复盘

    ​作者| 糖炒山楂 编辑| 赤木瓶子 2023年,后疫情时代下,文娱产业的主题正式转为“复苏”。院线经营好转,年初影史第二的成绩,宣告着电影产业的稳步复苏;剧集市场表现稳定,提质减量成效渐出,高分剧再次迈上新台阶。同时,短剧也成为资本抢滩的强势增量;力量型审美正在尝试为综艺内容注入新的活力;AIGC、影游互动概念,吸引着勇敢者们奋力一搏……文娱环境正在迅速完…

    行业动态 2024年2月1日
  • 时代旗舰尊界S800正式上市 以科技重构超豪华标准

    2025年5月30日,由中国汽车工业顶尖力量联合打造的时代旗舰车型——尊界S800正式上市,售价区间为70.8万元至101.8万元。作为华为与江淮汽车深度合作的里程碑式作品,尊界S800以“设计、体验、性能、安全”四大维度为核心,重新定义超豪华轿车价值标准,标志着中国高端制造在智能电动时代实现历史性突破。 科技与美学的巅峰融合:重塑豪华设计范式 尊界S800…

    2025年5月31日
  • 宁德时代在银川成立新能源科技公司注册资本2000万

    天眼查工商信息显示,近日,时代骐骥新能源科技(银川)有限公司成立,法定代表人为郭琪,注册资本2000万人民币,经营范围包括新兴能源技术研发、新能源汽车换电设施销售、在线能源计量技术研发等。股东信息显示,该公司由宁德时代旗下时代骐骥绿能科技(深圳)有限公司全资持股。 天眼查信息:https://www.tianyancha.com/company/772010…

    2025年9月17日

发表回复

您的电子邮箱地址不会被公开。 必填项已用*标注

联系我们

邮件:939297903@qq.com

工作时间:周一至周五,9:30-18:30,节假日休息

关注微信