赵露思助农品牌近期变更股东

#赵露思助农品牌前股东公司已申请其商标##赵露思陷假助农风波#

近期,赵露思助农事件引发热议,有网友发文称赵露思推荐的苹果干品牌“Aaaaapple”关联公司股东疑似赵露思熟人,质疑助农变自营。

赵露思助农品牌近期变更股东

赵露思助农品牌近期变更股东

赵露思助农品牌近期变更股东

赵露思助农品牌近期变更股东

天眼查App显示,“Aaaaapple”关联公司延安小小的果实农业科技有限公司成立于今年5月,法定代表人为宋文章,注册资本100万人民币,经营范围包括水果种植、供应链管理服务、农副产品销售等。股权全景穿透图显示,该公司由宋文章和厦门我很忙文化传媒有限公司分别持股70%、30%,后者由刘剑利和孙嘉蔓分别持股80%、20%。值得注意的是,有网友晒出自己在赵露思“ROSYWYLIE甜品店”的付款记录,图片显示商户全称为“商户_孙嘉蔓”。

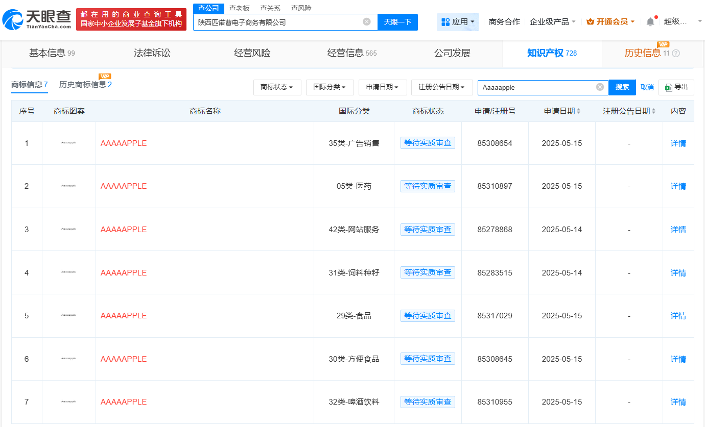
值得注意的是,变更记录显示,今年7月,该公司法定代表人、执行董事兼总经理、股东均发生变更。知识产权信息显示,该公司前股东李某某名下的陕西匹诺曹电子商务有限公司已于今年5月申请注册多枚“Aaaaapple”,当前商标状态均为等待实质审查。

天眼查信息:https://www.tianyancha.com/company/7555691432

本文来自投稿,不代表创造权威IP 赋能创业者——IP百创立场,如若转载,请注明出处:创造权威IP 赋能创业者——IP百创

(0)
打赏 微信扫一扫 微信扫一扫 支付宝扫一扫 支付宝扫一扫
上一篇 2025年8月13日
下一篇 2025年8月13日

相关推荐

  • 骄傲了!从今天开始,我也是跟无忧传媒雷彬艺一起跳过舞的男人了!!!

    7月6号,倪叔和@中欧高管教育部,@中欧校友CMO俱乐部一起举办了:第六届中国创新营销论坛。 不光担任了全场论坛的主持人,还成为了领舞!!! 是的,你没看错:领舞,而且还跟无忧传媒创始人雷彬艺老师进行了舞技大PK。 所以才有了标题:骄傲了!从今天开始,我也是跟无忧传媒雷彬艺一起跳过舞的男人了!!! 现场的状况是这样的: 好啦,气氛已经搞过了,我们言归正传,回…

    2024年7月9日
  • 中国建筑科学研究院公司增资至14亿

    天眼查工商信息显示,近日,中国建筑科学研究院有限公司发生工商变更,注册资本由12亿人民币增至14亿人民币,同时,多位高管发生变更。 该公司成立于2001年8月,法定代表人为许杰峰,经营范围含业务培训、工程管理服务、对外承包工程、工程技术服务、设备监理服务、地质灾害治理服务、安全技术防范系统设计施工服务、餐饮管理等。股东信息显示,该公司由国务院国有资产监督管理…

    行业动态 2025年11月19日
  • 从识别人到理解事,萤石用AI推动入户安全迎来“奇点时刻”

    萤石完成的不是单一产品的迭代,而是对“家的入口”价值的彻底重构

    2025年10月13日
  • 黑马《周处除三害》解析:集简洁与多面于一体

    文 | 零壹 进入三月后,先打头阵的新片是《阿盖尔:神秘特工》《蜘蛛夫人:超感觉醒》,这两部一脸“炮灰样”的进口片在海外市场口碑票房已然崩盘,而如今的中国电影市场也早对进口片不甚热情,果不其然两部电影扑得毫无声音,《蜘蛛夫人:超感觉醒》上映4天了甚至还不到500万票房。 和《蜘蛛夫人:超感觉醒》同一天上映的犯罪动作片《周处除三害》则成功压倒春节档豪强,成为节…

    2024年3月7日
  • 何秋亊演唱会主办方被执行4.7万

    #何秋亊演唱会主办方被执行# 天眼查天眼风险信息显示,3月3日,何秋亊演唱会主办方杭州西红柿控股有限公司新增一则被执行人信息,执行标的4.7万元,执行法院为杭州市余杭区人民法院。 杭州西红柿控股有限公司成立于2023年10月,法定代表人为王秀华,注册资本1000万人民币,经营范围包括互联网销售、文化娱乐经纪人服务、咨询策划服务等。股东信息显示,该公司由杭州金…

发表回复

您的电子邮箱地址不会被公开。 必填项已用*标注

联系我们

邮件:939297903@qq.com

工作时间:周一至周五,9:30-18:30,节假日休息

关注微信