哪吒汽车老赖信息被移除

#哪吒汽车失信被执行人信息被移除#

天眼查App显示,8月11日,哪吒汽车关联公司合众新能源汽车股份有限公司因违反财产报告制度,被广州市海珠区人民法院列为失信被执行人(老赖),履行情况为全部未履行。案件流程信息显示,今年7月,该公司因此案被执行5.7万余元。值得注意的是,目前,该公司已被移出失信被执行人名单。

哪吒汽车老赖信息被移除

哪吒汽车老赖信息被移除

哪吒汽车老赖信息被移除

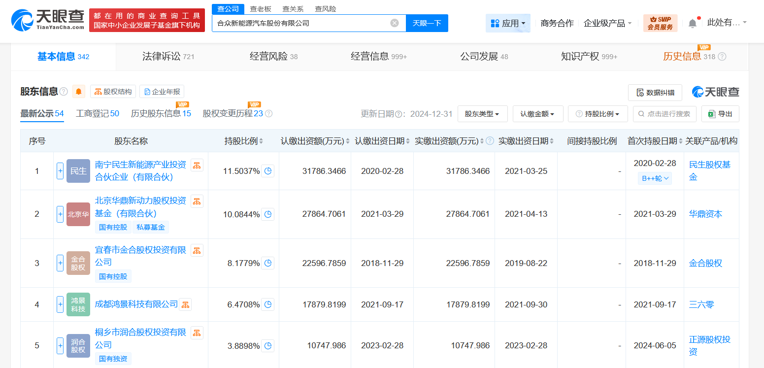
工商信息显示,合众新能源汽车股份有限公司成立于2014年10月,法定代表人为方运舟,注册资本约28.37亿人民币。股东信息显示,该公司由南宁民生新能源产业投资合伙企业(有限合伙)、北京华鼎新动力股权投资基金(有限合伙)、宜春市金合股权投资有限公司等共同持股。天眼风险信息显示,该公司现存多条被执行人、限制消费令及股权冻结信息。

天眼查信息:https://www.tianyancha.com/company/2322377088

本文来自投稿,不代表创造权威IP 赋能创业者——IP百创立场,如若转载,请注明出处:创造权威IP 赋能创业者——IP百创

(0)
打赏 微信扫一扫 微信扫一扫 支付宝扫一扫 支付宝扫一扫
上一篇 2025年8月14日
下一篇 2025年8月14日

相关推荐

  • 农银投资、浦东创投成立企航私募投资基金# 出资额33.34亿

    天眼查App显示,近日,上海浦创企航私募投资基金合伙企业(有限合伙)成立,执行事务合伙人为农银资本管理有限公司、上海浦东私募基金管理有限公司,出资额33.34亿人民币,经营范围包括以私募基金从事股权投资、投资管理、资产管理等活动。合伙人信息显示,该基金由农银金融资产投资有限公司、上海浦东创新投资发展(集团)有限公司、农银资本管理有限公司、上海浦东私募基金管理…

    行业动态 2025年11月19日
  • 宁波商业航天开发公司登记成立注册资本10亿

    天眼查工商信息显示,近日,宁波商业航天开发有限公司成立,法定代表人为竺海彬,注册资本10亿人民币,经营范围含民用航天发射技术服务、建设工程施工、建设工程设计、微小卫星测运控服务、火箭控制系统研发、微小卫星科研试验、以自有资金从事投资活动、自有资金投资的资产管理服务等。股东信息显示,该公司由宁波象保合作区投资开发有限公司、宁波开发投资集团有限公司共同持股。 天…

    2026年1月15日
  • #奇瑞汽车公布飞行汽车固定翼折叠专利# 可将飞行汽车停放进通用车位

    天眼查App显示,7月29日,奇瑞汽车股份有限公司申请的“飞行汽车的固定翼展开折叠机构及飞行汽车”专利公布。 摘要显示,固定翼展开折叠机构包括翼体板、两个固定翼和两组展开折叠组件,每一所述固定翼通过展开折叠组件与翼体板连接,两个所述固定翼关于YOZ平面对称分布,且两组展开折叠组件关于YOZ平面对称分布;展开折叠组件用于带动所述固定翼在展开状态和折叠状态之间切…

    2025年7月30日
  • 2023年世界孤独症日,腾讯音乐娱乐集团连续第7年发起音乐关爱企划

    4月2日世界孤独症日,腾讯音乐娱乐集团(TME)连续第7年开启音乐关爱企划,延续“如果音乐有形状”的破壁公益理念,邀约五月天、袁娅维TIA RAY、薛之谦、张靓颖、周深、华晨宇、刘雨昕、陈卓璇等50余组海内外歌手与音乐人爱心授权,与来自北京金羽翼残障儿童艺术康复服务中心的孤独症小画家们共绘出一幅幅“童画”,让更多人能看到“星星孩子”眼中的样子。4月2日-10…

    2023年4月2日
  • 深度诠释科技、越野、全球化优势 长城汽车六大品牌闪耀上海车展

    4月23日,第二十一届上海国际汽车工业展览会在国家会展中心(上海)隆重开幕,长城汽车以“科技长城 越野长城 世界长城”为主题参展,携旗下哈弗、魏牌新能源、坦克SUV、欧拉、长城炮、长城灵魂摩托六大品牌近40辆展车闪耀亮相。强大的产品矩阵、领先的智能科技、硬核的越野技术、创新的展台设计以及丰富的现场体验活动,全面展示了长城汽车在科技、越野和全球化等方面的精耕细…

    2025年4月24日

发表回复

您的电子邮箱地址不会被公开。 必填项已用*标注

联系我们

邮件:939297903@qq.com

工作时间:周一至周五,9:30-18:30,节假日休息

关注微信