集度科技武汉公司等被执行1.04亿

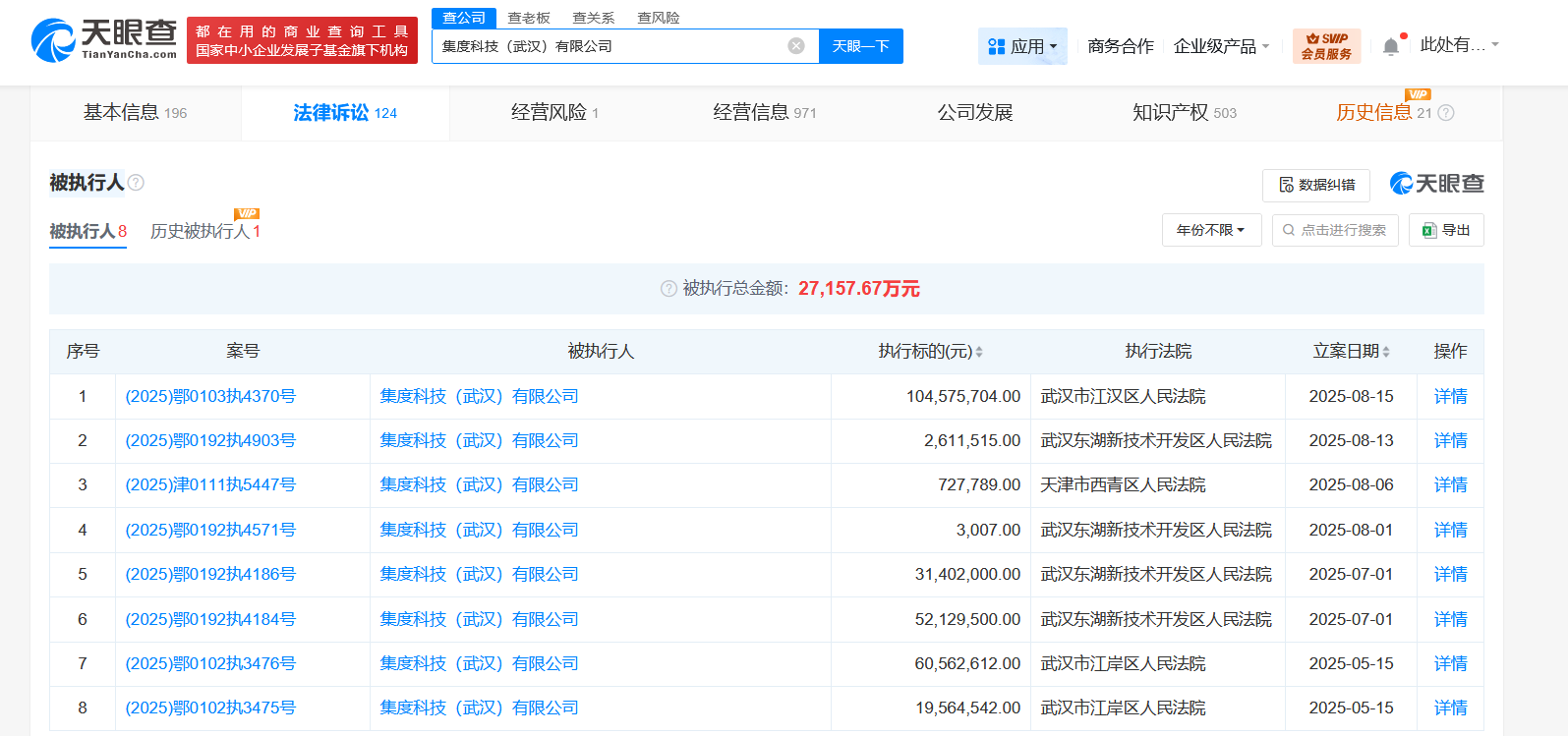
天眼查App显示,近日,集度科技(武汉)有限公司、武汉集度汽车服务有限公司新增一则被执行人信息,执行标的1.04亿余元,涉及金融借款合同纠纷案件,执行法院为武汉市江汉区人民法院。

集度科技武汉公司等被执行1.04亿

集度科技武汉公司等被执行1.04亿

集度科技武汉公司等被执行1.04亿

集度科技(武汉)有限公司成立于2022年11月,法定代表人为夏一平,注册资本4亿美元,经营范围含食品销售、互联网信息服务、餐饮服务、检验检测服务、汽车装饰用品销售、充电桩销售等。股东信息显示,该公司由集度汽车(香港)有限公司全资持股。天眼风险信息显示,该公司现存8条被执行人信息,被执行总金额超2.7亿元,此外,该公司所持多家公司股权已被冻结。

天眼查信息:https://www.tianyancha.com/company/5821313306

本文来自投稿,不代表创造权威IP 赋能创业者——IP百创立场,如若转载,请注明出处:创造权威IP 赋能创业者——IP百创

(0)
打赏 微信扫一扫 微信扫一扫 支付宝扫一扫 支付宝扫一扫
上一篇 2025年8月19日
下一篇 2025年8月19日

相关推荐

  • 雀巢中国旗下公司被罚35万

    #雀巢中国旗下公司因臭气超标排放被罚# 天眼查经营风险信息显示,近日,天津雀巢普瑞纳宠物食品有限公司因臭气浓度超标排放,被天津经济技术开发区生态环境局罚款35万元。 天津雀巢普瑞纳宠物食品有限公司成立于2006年4月,法定代表人为虞湛,注册资本2.4亿人民币,经营范围包括饲料生产、饲料添加剂生产、宠物食品及用品批发等。股东信息显示,该公司由雀巢(中国)有限公…

    2026年3月5日
  • Wind关联公司因欠税112万被公告

    天眼查经营风险信息显示,近日,Wind关联公司万得信息技术股份有限公司新增一则欠税公告,欠税余额112万余元,欠税税种为企业所得税。 万得信息技术股份有限公司成立于2005年4月,法定代表人为曹剑,注册资本约6.4亿人民币,经营范围包括第二类增值电信业务,计算机软硬件的开发、销售等。股东信息显示,该公司由上海万得投资管理有限公司、陆风、曹剑等共同持股。 天眼…

    行业动态 2025年11月14日
  • 紫金矿业等在福建成立股权投资基金# 出资额约2.8亿

    天眼查工商信息显示,3月11日,福建省紫金矿业隐山双循环股权投资基金合伙企业(有限合伙)成立,执行事务合伙人为厦门隐金企业管理有限公司,出资额约2.8亿人民币,经营范围为以私募基金从事股权投资、投资管理、资产管理等活动。合伙人信息显示,该基金由紫金矿业投资(上海)有限公司、厦门集美产业投资集团有限公司、福建省专精领航创业投资母基金合伙企业(有限合伙)等共同出…

    行业动态 2026年3月11日
  • 长城人寿保险增资至62亿

    天眼查App显示,近日,长城人寿保险股份有限公司发生工商变更,公司注册资本由约55.32亿人民币增至约62.19亿人民币,同时多位董事和监事发生变更。 该公司成立于2005年9月,法定代表人为白力,经营范围含人寿保险、健康保险、意外伤害保险等各类人身保险业务。股东信息显示,该公司由北京华融综合投资有限公司、北京金融街投资(集团)有限公司、中国二十二冶集团有限…

    2024年5月28日
  • 科技普惠:一把电动牙刷背后的产业革命

    过去半个月,“室温超导材料”热议度100%,一旦被证实之后的想象空间1000000%。 超导之所以被热议、被想象,本质上是因为“专业科技”与普通人的日常生活之间存在紧密的传导效应。因此,超导不只是超导,更体现了人们对于科技改变生活的向往。 还有一个很现实的原因,过去这些年已经有诸多专业科技被应用于日常生活,深刻地改变了生活场景。它不只是一种想象了。 比如电动…

    2023年8月8日

发表回复

您的电子邮箱地址不会被公开。 必填项已用*标注

联系我们

邮件:939297903@qq.com

工作时间:周一至周五,9:30-18:30,节假日休息

关注微信