上海世茂建设等被恢复执行8.5亿

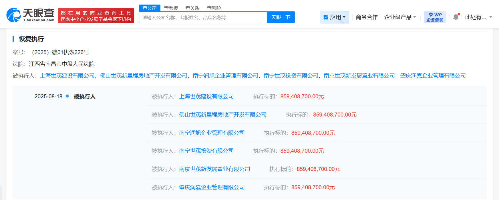
天眼查App显示,近日,上海世茂建设有限公司、佛山世茂新里程房地产开发有限公司、南宁润旭企业管理有限公司等新增1则恢复执行信息,执行标的8.5亿余元,执行法院为江西省南昌市中级人民法院。

上海世茂建设等被恢复执行8.5亿

上海世茂建设等被恢复执行8.5亿

上海世茂建设等被恢复执行8.5亿

上海世茂建设有限公司成立于2001年3月,法定代表人为颜华,注册资本31.4亿人民币,经营范围为房地产开发、经营、旧房改造及经营、物业管理、室内装潢、企业管理咨询。股东信息显示,该公司由世茂投资控股有限公司全资持股。天眼风险信息显示,该公司现存80余条被执行人信息,被执行总金额超342亿元,此外,该公司还存在多条限制消费令、失信被执行人(老赖)及终本案件信息。

天眼查信息:https://www.tianyancha.com/company/25272498

本文来自投稿,不代表创造权威IP 赋能创业者——IP百创立场,如若转载,请注明出处:创造权威IP 赋能创业者——IP百创

(0)
打赏 微信扫一扫 微信扫一扫 支付宝扫一扫 支付宝扫一扫
上一篇 2025年8月19日
下一篇 2025年8月19日

相关推荐

  • 曹操出行在天津成立投资合伙企业出资额3500万

    天眼查App显示,近日,天津优程智链投资合伙企业(有限合伙)成立,执行事务合伙人为天津吉利优行科技有限公司,出资额3500万人民币,经营范围包括以自有资金从事投资活动、自有资金投资的资产管理服务、信息系统集成服务等,由CaoCao Hong Kong Limited、曹操出行旗下天津吉利优行科技有限公司共同出资。 天眼查信息:https://www.tian…

    2025年10月22日
  • 沃尔玛旗下深圳、合肥公司发生高管变更

    天眼查App显示,近日,沃尔玛(深圳)商业零售有限公司发生工商变更,祝骏卸任法定代表人、董事,由赵诚宁接任。此前,沃尔玛(安徽)购物广场有限公司也发生工商变更,ANDREW PETER MILES卸任法定代表人、执行董事,赵诚宁任法定代表人、董事。 沃尔玛(深圳)商业零售有限公司成立于2009年9月,注册资本210万美元;沃尔玛(安徽)购物广场有限公司成立于…

    2025年10月16日
  • 内娱权力更迭,平台中心制正式来临?

    作者|耳东陈 监制|吴怼怼 2014年上海电影节期间,博纳总裁于冬有预言:电影公司未来都将给BAT打工,未来中国的影视集团只有三大,那就是BAT影视集团。 彼时明星话语权正在酝酿改写内娱权力机制,网剧网大网综正将迎来元年,懂年轻人还不是影视剧创作要思考的重中之重,蓬勃、无序、明星上市梦在内娱上空蔓延。 大众皆知的偶像和全民共追的热剧还在上演,视频平台最重要的…

    2022年11月3日
  • 京东供应链基础设施资产规模达1326亿元,过去三年新增700余座仓库

    配图来自Canva可画 3月9日,京东集团发布2022年全年业绩报告,全年净收入突破万亿元人民币,在过去三年新增加了29万员工。 创业二十年来,京东始终根植于实体经济,京东坚定不移推进供应链基础设施建设,截至2022年底,京东供应链基础设施资产规模达1326亿元。从2020年到2022年,三年间京东物流仓库数量从700多个增加到1500多个,新增仓库数量超过…

    2023年3月9日
  • #周深关联公司登记生米著作权#

    #周深关联公司登记嫑嫑著作权# 天眼查知识产权信息显示,近日,上海劲焱文化传媒有限公司登记“可可嫑嫑形象”“可可形象”“生米形象”作品著作权,作品类别均为美术。 上海劲焱文化传媒有限公司成立于2020年7月,法定代表人为张铭,注册资本100万人民币,经营范围包括演出经纪、营业性演出等,由周深、张铭共同持股。据悉,周嫑嫑是歌手周深在推理综艺《开始推理吧第一季》…

    2025年11月10日

发表回复

您的电子邮箱地址不会被公开。 必填项已用*标注

联系我们

邮件:939297903@qq.com

工作时间:周一至周五,9:30-18:30,节假日休息

关注微信