黄子韬卫生巾公司在金华成立新公司

#黄子韬卫生巾公司今年成立5家新公司#

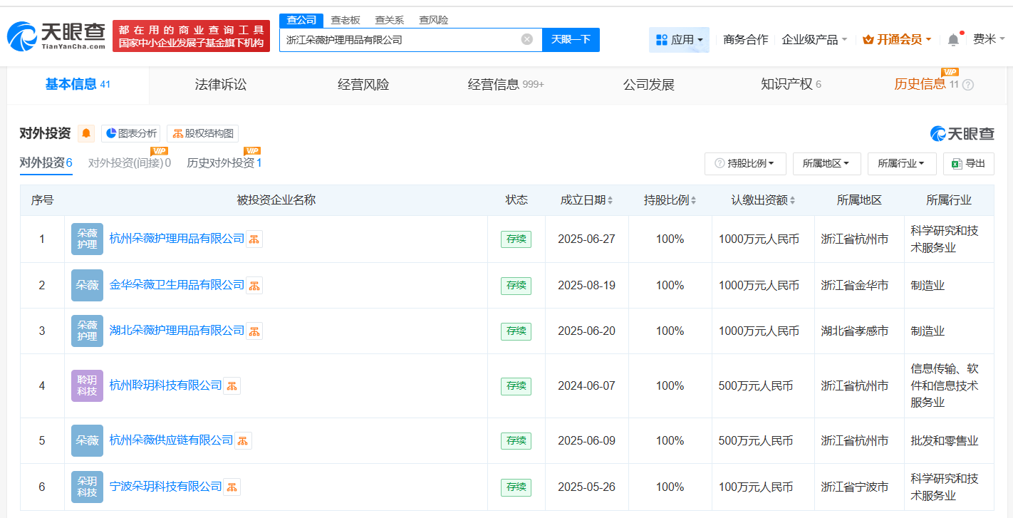
天眼查工商信息显示,近日,金华朵薇卫生用品有限公司成立,法定代表人为徐嘉斌,注册资本1000万人民币,经营范围包括卫生用品和一次性使用医疗用品生产、卫生用品和一次性使用医疗用品销售、个人卫生用品销售等。股东信息显示,该公司由浙江朵薇护理用品有限公司全资持股,后者由杭州衡研科技有限公司、杭州昕燕文化创意有限公司、杭州龙则灵网络科技有限公司、黄子韬共同持股。值得一提的是,今年以来,浙江朵薇护理用品有限公司已在杭州、宁波、孝感成立了4家公司。

黄子韬卫生巾公司在金华成立新公司

黄子韬卫生巾公司在金华成立新公司

黄子韬卫生巾公司在金华成立新公司

天眼查信息:https://www.tianyancha.com/company/7686522704

本文来自投稿,不代表创造权威IP 赋能创业者——IP百创立场,如若转载,请注明出处:创造权威IP 赋能创业者——IP百创

(0)
打赏 微信扫一扫 微信扫一扫 支付宝扫一扫 支付宝扫一扫
上一篇 2025年8月20日
下一篇 2025年8月20日

相关推荐

  • 四地藏匿15.58亿!许家印前妻丁玉梅更多资产曝光……

    还记得去年,媒体曝光了地产大佬许家印前妻丁玉梅“逃亡”英国后的“凄惨”生活,每个月只能领取2万英镑,也就是18万元人民币维持生活。 而这两万英镑还要养活许家印的两个未成年孩子和两个未成年孙子,可真是苦了首富的前“贤内助”,你看,要个生活费,还要被批准…… 然而,在哭穷卖惨的另一面,今年初,媒体又曝出,丁玉梅自2024年8月至2025年3月期间,花费约400万…

    2025年11月27日
  • 爱回收旗下信息技术公司增资至10亿

    天眼查App显示,近日,上海悦亿网络信息技术有限公司发生工商变更,注册资本由2500万人民币增至10亿人民币。 该公司成立于2015年9月,法定代表人为陈逸轲,经营范围含第二类增值电信业务、废弃电器电子产品处理、酒类经营、出版物零售、拍卖业务、再生资源回收等,由爱回收关联公司上海万物新生环保科技集团有限公司全资持股。 天眼查信息:https://www.ti…

    行业动态 2024年6月27日
  • 东阳光在宜昌成立数智科技公司注册资本1亿

    天眼查App显示,近日,宜昌东阳光数智科技有限公司成立,法定代表人为胡来文,注册资本1亿人民币,经营范围包括工业互联网数据服务、互联网数据服务、互联网安全服务、云计算装备技术服务等。股东信息显示,该公司由东阳光全资持股。 天眼查信息:https://www.tianyancha.com/company/7816797714

    2025年10月28日
  • 专访 |《巨齿鲨2》制片人:坚持等吴京两年半,为了“双雄cp”的极致体验

    ​作者| Mia 8月4日,中美合拍动作科幻冒险大片《巨齿鲨2:深渊》(以下简称《巨齿鲨2》)正式上映,以1.42亿+美元成绩拿下首周末全球票房冠军。 人们对大海的迷恋,大概可以追溯到“人类可能来自海洋”的起源观点。除了海边度假,在银幕上观看鲨鱼、大海也堪称夏日清凉避暑之选。这使得主打“爽”的《巨齿鲨》系列IP和暑期档分外适配。作为深海怪兽片,《巨齿鲨2》带…

    行业动态 2023年8月10日
  • 比亚迪原地掉头相关专利公布

    天眼查知识产权信息显示,8月9日,比亚迪股份有限公司申请的“原地掉头横向控制方法、设备、介质、控制系统和车辆”专利公布。 摘要显示,原地掉头横向控制方法包括:车辆满足原地掉头横向控制触发条件;根据原地掉头方向盘居中所需的目标转向力矩控制车辆的转向电机和转向轴锁结构,目标转向力矩至少由转向电机和转向轴锁结构分担。本发明的原地掉头横向控制方法和系统,在车辆原地掉…

    行业动态 2024年8月9日

发表回复

您的电子邮箱地址不会被公开。 必填项已用*标注

联系我们

邮件:939297903@qq.com

工作时间:周一至周五,9:30-18:30,节假日休息

关注微信