法法汽车增资至4.59亿

#法法汽车年内4次增资#

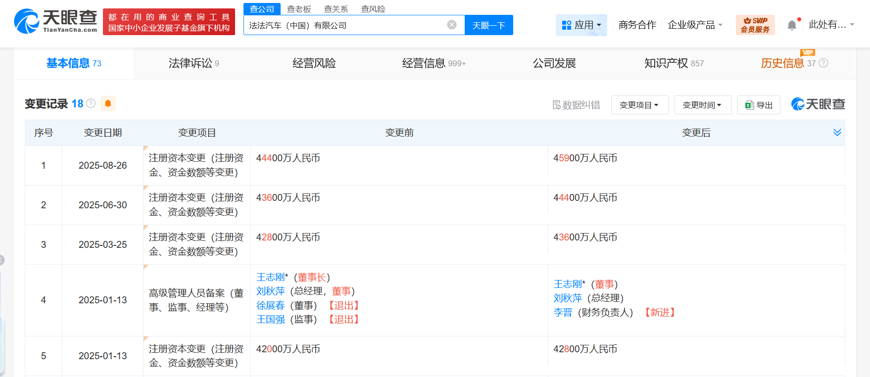
天眼查工商信息显示,近日,法法汽车(中国)有限公司发生工商变更,注册资本由4.44亿人民币增至4.59亿人民币。值得注意的是,这已是该公司今年第4次增资。

法法汽车增资至4.59亿

法法汽车增资至4.59亿

法法汽车增资至4.59亿

法法汽车(中国)有限公司成立于2017年3月,法定代表人为王志刚,经营范围含汽车销售、新能源汽车整车销售、汽车零部件及配件制造、汽车零配件批发、计算机软硬件及辅助设备批发、计算机软硬件及辅助设备零售等。股东信息显示,该公司由FF Hong Kong Holding Limited、乐视汽车科技(北京)有限公司共同持股。

天眼查信息:https://www.tianyancha.com/company/3031873994

本文来自投稿,不代表创造权威IP 赋能创业者——IP百创立场,如若转载,请注明出处:创造权威IP 赋能创业者——IP百创

(0)
打赏 微信扫一扫 微信扫一扫 支付宝扫一扫 支付宝扫一扫
上一篇 2025年8月28日
下一篇 2025年8月28日

相关推荐

  • 万达商管所持1亿股权被冻结

    #万达商管所持一万达广场股权被冻结# 天眼查法律诉讼信息显示,近日,大连万达商业管理集团股份有限公司新增一则股权冻结信息,股权被执行的企业为济宁太白路万达广场有限公司,冻结股权数额1亿人民币,冻结期限自2024年7月19日至2027年7月18日,执行法院为横琴粤澳深度合作区人民法院。 济宁太白路万达广场有限公司成立于2011年8月,法定代表人为吴华,注册资本…

    行业动态 2024年7月22日
  • 一声干妈捞走55万养老金,网红收割老人开始上剧情演绎了……

    大家都知道,靠段子、审丑等走红的网红们,因为集体性的弄虚作假,翻车的翻车,被封的被封,直播带货这条路子,他们是越走越难了。‍ 带不动货,从去年下半年开始就成了这类网红的宿命。 他们有人尝试刷单,骗取商家坑位费,有人盯上三无产品,上演最后的疯狂,然而,家人们对这类网红带货祛魅势不可挡。‍‍ 但俗话说,只要有流量,就能变现,带不动货的网红们开始换赛道了,这一次他…

    2025年1月13日
  • 恒大被强制执行5075万

    #恒大集团被执行总额近300亿# 天眼查App显示,近日,恒大集团有限公司及其旗下恒大地产集团有限公司、肇庆国声镭射技术制作有限公司新增一则被执行人信息,执行标的5075万余元,执行法院为肇庆市中级人民法院。 截至目前,恒大集团有限公司及恒大地产集团有限公司共存在百余条被执行人信息,其中恒大集团公司被执行总额近300亿。 天眼查信息:https://www….

    2023年5月8日
  • 佳兆业等被强制执行3亿

    天眼查法律诉讼信息显示,近日,佳兆业集团(深圳)有限公司、佳兆业城市更新集团(深圳)有限公司、深圳市皓晖商务咨询有限公司等新增一条被执行人信息,执行标的3亿余元,执行法院为深圳市福田区人民法院。 天眼风险信息显示,佳兆业集团(深圳)有限公司现存70余条被执行人信息,被执行总金额超181亿元。此外,该公司还存在多条限制消费令、失信被执行人(老赖)及终本案件信息…

    2024年9月14日
  • “抖快腾”+“咪咕”逐梦奥运,“蹭奥运流量”哪家强?

    作者| 赤木瓶子 编辑| Mia 这届奥运的热度明显没那么好“蹭”了。 当花少团来到巴黎奥运比赛现场,一边录制节目,一边为中国健将加油打气,嘉宾周雨彤在发布观赛博文后却引起网友强烈不满。有网友指出,“但凡做了功课,考虑一下赛况,都不会允许在这种场合,面对世界第一的选手痛失奥运金牌时,还发表喜悦自拍”。无独有偶,明星刘诗诗因几十次登陆热搜而被网友评为喧宾夺主、…

    行业动态 2024年8月9日

发表回复

您的电子邮箱地址不会被公开。 必填项已用*标注

联系我们

邮件:939297903@qq.com

工作时间:周一至周五,9:30-18:30,节假日休息

关注微信