盘点宇树科技商业版图

#宇树科技今年曾两次增资##宇树科技宣布将在四季度提交IPO申请#

据报道,9月2日,宇树科技在社交媒体上发帖称,预计将在2025年10月至12月期间向证券交易所提交上市申请文件,届时公司的相关运营数据将正式披露。

盘点宇树科技商业版图

盘点宇树科技商业版图

盘点宇树科技商业版图

盘点宇树科技商业版图

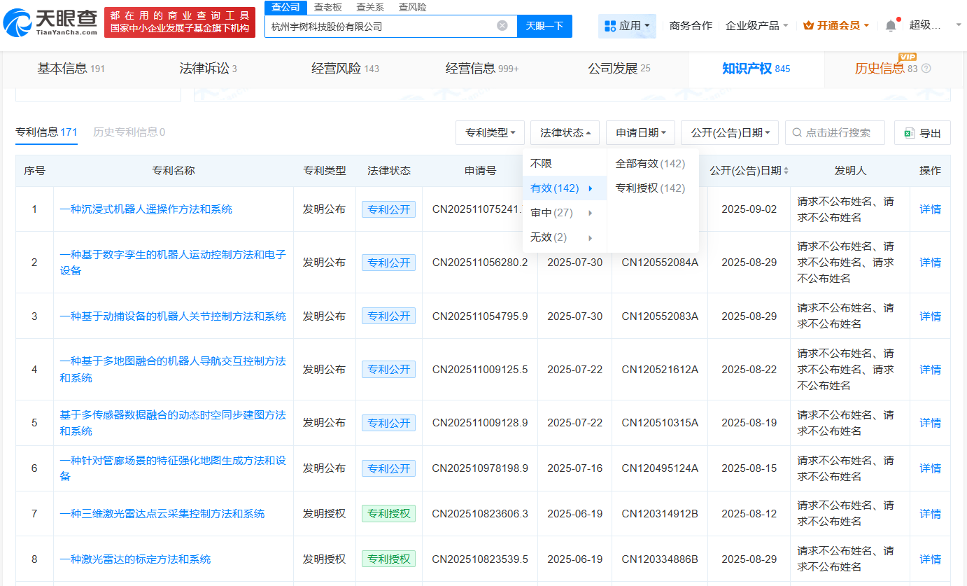
天眼查工商信息显示,杭州宇树科技股份有限公司成立于2016年8月,法定代表人为王兴兴,注册资本约3.6亿人民币,经营范围包括智能机器人的研发、智能机器人销售、工业机器人制造等。股东信息显示,该公司由王兴兴、汉海信息技术(上海)有限公司等共同持股。变更记录显示,今年5月,宇树科技更名为股份公司,今年6月,该公司曾两次增资。对外投资信息显示,该公司全资持股4家公司。知识产权信息显示,该公司已申请上百项机器人相关专利,其中多数已获授权。

值得注意的是,近期,该公司因侵害发明专利权纠纷被起诉,引发多方关注。

天眼查信息:https://www.tianyancha.com/company/2957612266/sifa

本文来自投稿,不代表创造权威IP 赋能创业者——IP百创立场,如若转载,请注明出处:创造权威IP 赋能创业者——IP百创

(0)
打赏 微信扫一扫 微信扫一扫 支付宝扫一扫 支付宝扫一扫
上一篇 2025年9月2日
下一篇 2025年9月2日

相关推荐

  • 宁德时代申请注册实证储能商标

    天眼查App显示,近期,宁德时代新能源科技股份有限公司申请注册一枚“实证储能”商标,国际分类为科学仪器,当前商标状态为等待实质审查。 宁德时代新能源科技股份有限公司成立于2011年12月,法定代表人为曾毓群,注册资本约44.03亿人民币。股东信息显示,该公司由厦门瑞庭投资有限公司、香港中央结算有限公司、黄世霖等共同持股。 天眼查信息:https://www….

    2025年9月11日
  • Valor Bet Application: Simple tips to Down load

    Inside now’s prompt-moving world, accessing your chosen gaming https://site-web-assureur.be/tarjetas-sobre-casino-valores-y-sobre-como-funcionan-sobre-2025/ program any time and yo…

    2026年1月26日
  • Die besten Echtgeld Angeschlossen Casinos 2025 inoffizieller mitarbeiter Kollationieren

    Inside Teutonia die erlaubnis haben insgesamt sämtliche Arten bei Spielen ausschließlich unserem live Casino angeboten sind. Dies beste erreichbar Spielbank Land der dichter und de…

    2026年1月9日
  • 春节档“再度起飞”,谁为行业插上了翅膀?

    ​作者| 明明 67.57亿!2023年春节档终于以“史上第二高”的成绩划下句号,同比增长11.89%,场均人次大幅增长33%至48.4人/场。猫眼专业版数据显示,2023年1月31日16时,2023年度大盘票房(含预售)破100亿,刷新中国影史年度票房最快破百亿纪录。出色的走势为诸多从业者注入了一针强心针,也为全年开了一个好头。 历经数年的蛰伏之后,中国电…

    行业动态 2023年2月1日
  • 偷税漏税被举报网红多家公司已注销

    #偷税漏税被举报网红控制20余家企业##5000万网红偷税漏税被实名举报# 据报道,12月10日,有网友反映某短视频平台主播“周周珍可爱625”(实名周珍)名下控股企业涉嫌逃税,已被国家税务总局佛山市税务局查处。根据网友提供的线索,被查处企业为“周周珍可爱625”名下的广东嘉星投资集团有限公司全资持股的广东嘉星文化传媒有限公司。 天眼查任职信息显示,周珍名下…

    2025年12月11日

发表回复

您的电子邮箱地址不会被公开。 必填项已用*标注

联系我们

邮件:939297903@qq.com

工作时间:周一至周五,9:30-18:30,节假日休息

关注微信