#上汽旗下基金等入股北斗智联科技# 后者为智能网联汽车研发商

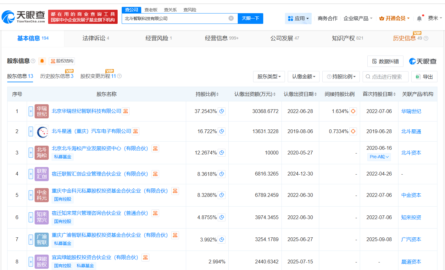
天眼查工商信息显示,近日,北斗智联科技有限公司发生工商变更,新增上汽旗下河南尚颀汇融尚成一号产业基金合伙企业(有限合伙)、重庆广渝智联私募股权投资基金合伙企业(有限合伙)等为股东,注册资本由约7.5亿人民币增至约8.2亿人民币,同时部分高管发生变更。

#上汽旗下基金等入股北斗智联科技# 后者为智能网联汽车研发商

#上汽旗下基金等入股北斗智联科技# 后者为智能网联汽车研发商

#上汽旗下基金等入股北斗智联科技# 后者为智能网联汽车研发商

#上汽旗下基金等入股北斗智联科技# 后者为智能网联汽车研发商

北斗智联科技有限公司成立于2019年6月,法定代表人为张敬锋,经营范围包括检验检测服务、测绘服务、智能车载设备制造等。股东信息显示,该公司现由北京华瑞世纪智联科技有限公司、北斗星通(重庆)汽车电子有限公司及上述新增股东等共同持股。官网显示,该公司专注于智能网联汽车专业领域。

天眼查信息:https://www.tianyancha.com/company/3346216763

本文来自投稿,不代表创造权威IP 赋能创业者——IP百创立场,如若转载,请注明出处:创造权威IP 赋能创业者——IP百创

(0)
打赏 微信扫一扫 微信扫一扫 支付宝扫一扫 支付宝扫一扫
上一篇 2025年9月9日
下一篇 2025年9月9日

相关推荐

  • 抖音电商业绩猛增500%的背后,三只松鼠做对了什么?

    12月20日,超百位抖音达人云集芜湖,参加三只松鼠达人联盟大会暨年货节招商会。抖音方面听说之后,惊叹:“松鼠是首个独立召开大型选品会的抖音品牌方。”在短直领域,以前都是抖音达人开会,品牌方来捧场,三只松鼠却反了过来,品牌方开会,达人来捧场。 变化背后,是找到了经营抖音电商的方法。 三只松鼠2020年入驻抖音电商,三年累计销售14.55亿,在抖音零食类目创造了…

    2023年12月25日
  • 河北建投新能源公司增资至69.9亿增幅约7%

    天眼查App显示,近日,河北建投新能源有限公司发生工商变更,注册资本由约65.5亿人民币增至约69.9亿人民币,增幅约7%。 该公司成立于2006年7月,法定代表人为郭艳旬,经营范围含开展风电、太阳能、核能等新能源项目的投资,承担新能源项目的规划、开发及相关的技术咨询、技术服务、技术开发、技术合作、人员培训的服务等,由新天绿能全资持股。 天眼查信息:http…

    2025年12月23日
  • 快手:要享老铁的福,得治老铁的“病”

    文 | 螳螂观察 作者 | 易芳 一档并非S级的离婚综艺《再见爱人》,在出到第四季之后,突然因为素人嘉宾麦琳自我献祭式的暴露,火爆至全网讨论、热搜频频的局面。 这场赛博猎巫的狂欢,在节目飞行嘉宾张泉灵在小红书做直播探讨几对夫妇之后,更是达到了至高点。厌恶麦琳成了一种新型的政治正确。一旦有人试图分析麦琳行为模式形成的原因有丈夫李行亮的推波助澜,就可能会得到一句…

    2024年12月2日
  • 东方“神秘力量”频频亮相巴黎奥运场,中国游泳队身上盖满“火罐印”

    7月24日,法国巴黎。中国游泳队现身拉德芳斯体育馆,进行赛前的场地适应训练,最引人注目的除了他们矫健的身姿,还有他们背上满满的火罐印痕迹,迅速在网上引发了热议。 有网友对此评价称,游泳队因常年都会接触水,比普通人泡在水里的时间更长,他们身上有着中医所认为的“寒气”,因此,通过拔火罐可以疏散关节和经络中的湿气、寒气,一定程度也有助于赛场发挥。 虽然进来拔火罐等…

    行业动态 2024年7月26日
  • 百亿补贴商标申请多被驳回

    #百亿补贴曾被多方抢注商标# #京东百亿补贴已上线测试# 据媒体报道,京东内部邮件曝光证实“百亿补贴”将上线,已开启内测。此前,行业传闻京东计划在3月初上线百亿补贴频道,向拼多多开战。 天眼查App显示,“百亿补贴”已被多方申请注册商标,申请人包括拼多多关联公司上海寻梦信息技术有限公司等多个公司,国际分类涉及广告销售、网站服务、方便食品等,目前,除2022年…

    2023年2月24日

发表回复

您的电子邮箱地址不会被公开。 必填项已用*标注

联系我们

邮件:939297903@qq.com

工作时间:周一至周五,9:30-18:30,节假日休息

关注微信