华为申请注册有为青年商标

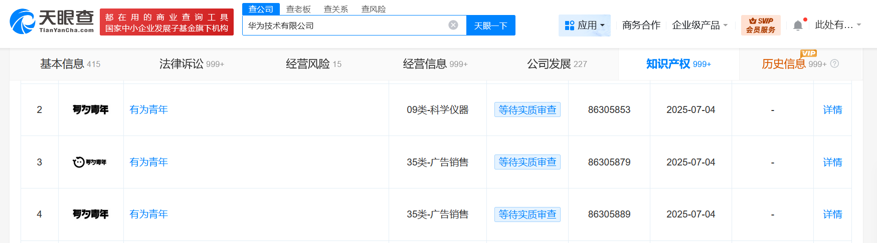
天眼查App显示,近期,华为技术有限公司申请注册3枚“有为青年”商标,国际分类为科学仪器、广告销售,当前商标状态均为等待实质审查。

华为申请注册有为青年商标

华为申请注册有为青年商标

华为技术有限公司成立于1987年9月,法定代表人为赵明路,注册资本约410.4亿人民币,由华为投资控股有限公司全资持股。

天眼查信息:https://www.tianyancha.com/company/24416401

本文来自投稿,不代表创造权威IP 赋能创业者——IP百创立场,如若转载,请注明出处:创造权威IP 赋能创业者——IP百创

(0)
打赏 微信扫一扫 微信扫一扫 支付宝扫一扫 支付宝扫一扫
上一篇 2025年9月11日
下一篇 2025年9月11日

相关推荐

  • 东风汽车旗下两家公司增资

    天眼查App显示,近日,东风华神汽车有限公司发生工商变更,公司注册资本由约9.4亿人民币增至约10.4亿人民币。此外,近期东风卓联汽车服务有限公司注册资本由5.11亿人民币增资至9.91亿人民币。 东风华神汽车有限公司成立于1998年3月,法定代表人为孙振义,由东风汽车集团旗下东风特种商用车有限公司全资持股。东风卓联汽车服务有限公司成立于2010年10月,法…

    行业动态 2024年9月5日
  • #中远海发在海南成立航运公司# 注册资本1亿

    天眼查App显示,近日,海南中远海发航运有限公司成立,法定代表人为蔡磊,注册资本1亿人民币,经营范围含国际客船、散装液体危险品船运输,省际普通货船运输、省内船舶运输,水路普通货物运输,水路危险货物运输,国内船舶管理业务等。股东信息显示,该公司由中远海发(601866)全资持股。 天眼查信息:https://www.tianyancha.com/company…

    行业动态 2024年9月2日
  • 姚振华及观致汽车等被执行5038万

    天眼查法律诉讼信息显示,近日,观致汽车有限公司、姚振华等新增一则被执行人信息,执行金额5038万余元,执行法院为广东省深圳市罗湖区人民法院。 观致汽车有限公司成立于2007年12月,法定代表人为何华,注册资本约169.3亿人民币,经营范围包括观致品牌机动车辆的生产、销售等。股东信息显示,该公司由杭州诚茂投资有限公司、芜湖奇瑞汽车投资有限公司、Quantum(…

    2026年3月10日
  • 世贸股份被强制执行14亿

    #ST世茂被强执14亿# 天眼查App显示,近日,上海世茂股份有限公司、绍兴世茂投资发展有限公司新增两则被执行人信息,执行标的合计14亿余元,关联案件涉及招商银行股份有限公司绍兴分行、上海分行与上述两公司金融借款合同纠纷,执行法院分别为绍兴市中级人民法院、上海金融法院。 上海世茂股份有限公司成立于1992年7月,于1994年2月在A股上市,法定代表人为吴凌华…

    2023年5月15日
  • 长安汽车申请长安赤兔商标

    #长安汽车申请长安元霸商标# 天眼查知识产权信息显示,近日,长安汽车申请注册多枚“长安赤兔”“长安元霸”“长安的卢”“长安绝影”“长安青骓”等商标,国际分类均为运输工具,当前商标状态均为等待实质审查。 长安汽车成立于1996年10月,法定代表人为朱华荣,注册资本约99.22亿人民币,由中国长安汽车集团有限公司、中国兵器装备集团有限公司、南方工业资产管理有限责…

    2024年10月24日

发表回复

您的电子邮箱地址不会被公开。 必填项已用*标注

联系我们

邮件:939297903@qq.com

工作时间:周一至周五,9:30-18:30,节假日休息

关注微信