万达集团被执行4亿

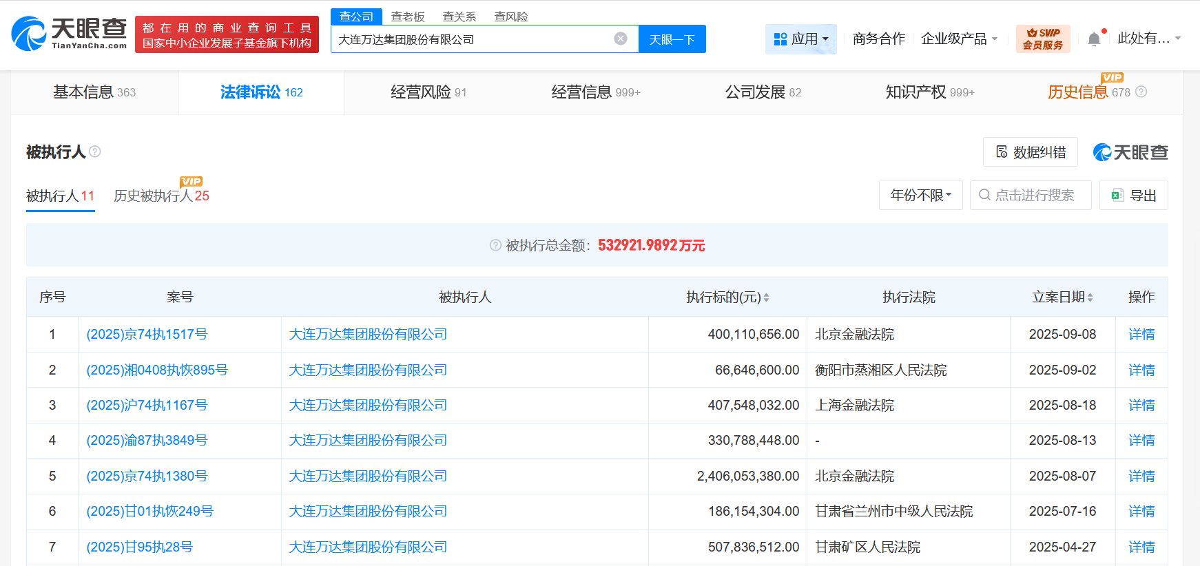
天眼查App显示,近日,大连万达集团股份有限公司新增一则被执行人信息,执行标的4亿余元,执行法院为北京金融法院。

万达集团被执行4亿

万达集团被执行4亿

万达集团被执行4亿

大连万达集团股份有限公司成立于1992年9月,法定代表人为王健林,注册资本10亿人民币,经营范围包括货物进出口、技术进出口、国内一般贸易等。股东信息显示,该公司由大连合兴投资有限公司、王健林共同持股。天眼风险信息显示,该公司现存11条被执行人信息,被执行总金额超53亿元,此外,该公司所持多家公司股权已被冻结。

天眼查信息:https://www.tianyancha.com/company/651442

本文来自投稿,不代表创造权威IP 赋能创业者——IP百创立场,如若转载,请注明出处:创造权威IP 赋能创业者——IP百创

(0)
打赏 微信扫一扫 微信扫一扫 支付宝扫一扫 支付宝扫一扫
上一篇 2025年9月11日
下一篇 2025年9月11日

相关推荐

  • 《人世间》狂揽白玉兰5项大奖,阅文如何屡出精品?

    ​6月23日晚,“白玉兰绽放”上海电视节颁奖典礼在上海梅赛德斯奔驰文化中心举行,备受剧迷期待的第28届白玉兰奖各大奖项一一揭晓。国家广播电视总局副局长、党组成员朱咏雷,上海市委常委、宣传部部长赵嘉鸣,上海市副市长刘多,上海市政协副主席金兴明等领导出席了颁奖典礼。 本届上海电视节经过两年聚势凝力,白玉兰奖各类别的入围名单,呈现“质”、“量”双升的特点,展示出中…

    行业动态 2023年6月24日
  • 天马发布“天工屏”:从“硬件制造”到“感官体验创造者”,中国显示技术点亮全球

    2025年9月19日,天马微电子在厦门隆重举办“天工屏 定乾坤”高端OLED技术品牌发布会,正式推出全新高端OLED技术品牌——天马“天工屏”。此次发布不仅是天马42年发展的重要里程碑,更以“超级护眼、极致通透、畅快高刷”三大突破性屏幕技术体验,重新定义高端显示新标准,推动行业进入以健康体验为核心的感官革命新阶段。 发布会现场,中国科学院院士、理论物理研究所…

    2025年9月19日
  • 华为发布首款鸿蒙折叠电脑,定义“未来电脑态”

    笔记本电脑在历经上世纪90年代到本世纪初的“性能时代”,和最近20年左右的“轻薄时代”,走到了新的变革十字路口。 如果说“性能”对应的是多媒体与互联网兴起,“轻薄”伴随的是移动办公方式的风靡,那么新的变革需求显然来自于万物智联时代。 当用户人均使用约5台设备,跨设备成为刚需,当AI的发展浪潮不可阻挡,万物智联时代,到底需要什么样的电脑? 最近,华为重磅发布两…

    行业动态 2025年5月23日
  • 康师傅违反安全生产法被罚10万

    天眼查App显示,近日,康师傅旗下天津顶津食品有限公司因违反安全生产法,被天津经济技术开发区应急管理局责令改正并罚款10万元。 处罚事由显示,当事人二期立体库(较大风险)未按照安全风险分级,采取设置隔离栏(防护栏)的管控措施;从业人员超过100人,未设置专门的安全生产管理机构且未配备二名以上专职安全生产管理人员;未与承包单位签署安全生产管理协议,也未在承包合…

    2023年3月27日
  • 即将揭晓:思迈特软件如何用AI Agent引领商业智能格局?

    随着人工智能技术的飞速发展,AI Agent正迅速成为现代商业和技术领域的重要驱动力。AI Agent通常被视为一种融合感知、分析、决策和执行能力的智能体,它可以具备相当显著的主动性, 成为人类的理想智能助手。 当AI Agent成为新的数字生产力,数据处理与智能决策组合能力将成为企业致胜的关键。 “春江水暖鸭先知”,具有前瞻性的AI应用厂商已经敏锐地洞察到…

    2024年7月24日

发表回复

您的电子邮箱地址不会被公开。 必填项已用*标注

联系我们

邮件:939297903@qq.com

工作时间:周一至周五,9:30-18:30,节假日休息

关注微信