李佳琦退出美愿公司股东行列

#李佳琦退出名下美愿公司#

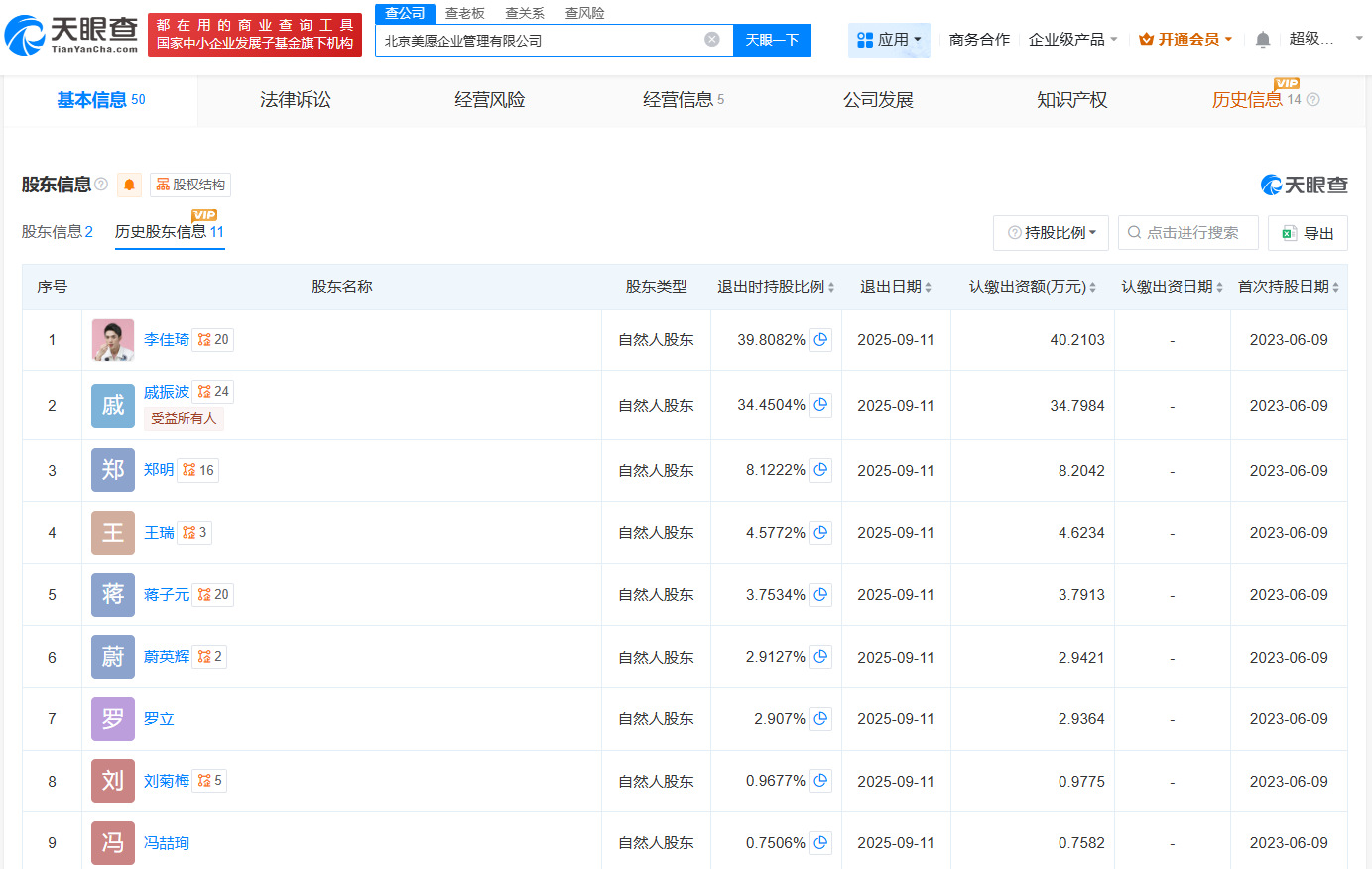
天眼查工商信息显示,近日,北京美愿企业管理有限公司发生工商变更,李佳琦、戚振波等人退出股东行列,新增冰吉零(上海)网络科技有限公司为股东。

李佳琦退出美愿公司股东行列

李佳琦退出美愿公司股东行列

李佳琦退出美愿公司股东行列

北京美愿企业管理有限公司成立于2023年6月,法定代表人为戚振波,注册资本约101万人民币,经营范围包括企业管理、企业管理咨询、信息咨询服务等。股东信息显示,该公司现由冰吉零(上海)网络科技有限公司和YI LU分别持股99%、1%。

天眼查信息:https://www.tianyancha.com/company/6233464538

本文来自投稿,不代表创造权威IP 赋能创业者——IP百创立场,如若转载,请注明出处:创造权威IP 赋能创业者——IP百创

(0)
打赏 微信扫一扫 微信扫一扫 支付宝扫一扫 支付宝扫一扫
上一篇 2025年9月13日
下一篇 2025年9月13日

相关推荐

  • “我们的新征程”主题好视听作品征集展示活动启动

    3月30日下午,“我们的幸福生活”短视频征集展示活动优秀作品发布仪式暨“我们的新征程”主题好视听作品征集展示活动启动仪式,在第十届中国网络视听大会“网络视听高质量发展”主论坛上举办。全国政协常委、文化文史和学习委员会副主任,中国网络视听节目服务协会会长聂辰席,中国网络视听节目服务协会常务副会长高建民出席仪式。 “我们的幸福生活”短视频征集展示活动于2022年…

    2023年3月31日
  • #珠海市低空产业投资运营公司增资至1.54亿# 增幅54%

    天眼查工商信息显示,近日,珠海市低空产业投资运营有限公司发生工商变更,新增珠海红宝石建设开发集团有限公司为股东,注册资本由1亿人民币增至1.54亿人民币,增幅54%,同时,部分主要人员也发生变更。 珠海市低空产业投资运营有限公司成立于2013年10月,法定代表人为周斌,经营范围含通用航空服务、民用航空维修人员培训、飞行训练、民用机场运营、建设工程施工、以自有…

    2025年8月20日
  • #中国信达在天津成立信凯企业管理合伙企业# 出资额19.01亿

    天眼查工商信息显示,近日,天津信凯企业管理合伙企业(有限合伙)成立,执行事务合伙人为鑫盛利保股权投资有限公司,出资额19.01亿人民币,经营范围为企业管理、企业管理咨询。合伙人信息显示,该合伙企业由中国信达旗下鑫盛利保股权投资有限公司、中国信达资产管理股份有限公司四川省分公司共同出资。 天眼查信息:https://www.tianyancha.com/com…

    2025年8月27日
  • 演出黄牛真的不可避免?

    抵制黄牛并不是一件非常困难的事情,近些年的持续宣传,已经让许多粉丝能够守住信念拒绝黄牛票,这样的行为与信念需要被行业看到。

    行业动态 2023年6月14日
  • 商家侵权刘诗诗拒不道歉被强执

    天眼查App显示,近日,北京互联网法院公告刘诗施(刘诗诗)与被告上海贝富网络科技有限公司网络侵权责任纠纷一案执行文书。文书显示,被告上海贝富网络科技有限公司在微信公众号中使用原告刘诗施的多张肖像,构成了对原告肖像权的侵犯,法院判决被告立即停止侵权,向原告赔礼道歉并赔偿其经济损失7.5万元。上述判决生效后,上海贝富网络科技有限公司未履行致歉义务,刘诗施申请强制…

    2023年4月4日

发表回复

您的电子邮箱地址不会被公开。 必填项已用*标注

联系我们

邮件:939297903@qq.com

工作时间:周一至周五,9:30-18:30,节假日休息

关注微信