西贝餐饮集团及贾国龙商业版图盘点

#西贝餐饮集团直接控股上百家企业##西贝承认部分菜品是隔夜菜#

据媒体报道,9月12日,“西贝”“预制菜”“罗永浩”等话题引发热议。西贝承认部分菜品存在隔夜情况,煮好的羊排赏味期是三餐,今天上午一餐、下午一餐、明天上午还能卖,厨师长称隔夜使用不会影响出餐品质。

西贝餐饮集团及贾国龙商业版图盘点

西贝餐饮集团及贾国龙商业版图盘点

西贝餐饮集团及贾国龙商业版图盘点

天眼查App显示,西贝餐饮集团关联公司内蒙古西贝餐饮集团有限公司成立于2017年10月,法定代表人为贾国龙,注册资本约 8990万人民币,经营范围含餐饮服务、食品生产、食品互联网销售、食品销售、餐饮管理、普通货物仓储服务、企业总部管理、以自有资金从事投资活动等。股东信息显示,该公司由北京西贝企业管理有限公司、贾国龙、呼和浩特市人生喜悦企业管理中心(有限合伙)等共同持股。对外投资信息显示,该公司直接持股近190家企业,其中150余家企业为存续状态,包括天津西贝商业保理有限公司、内蒙古贾国龙功夫菜食品科技有限公司、北京西贝天然派供应链管理有限公司等,除餐饮外,其商业版图还涉及金融、农牧、教育等。

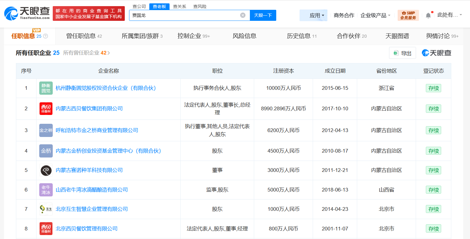
天眼查显示,西贝创始人贾国龙名下关联20余家企业,包括北京西贝餐饮管理有限公司、内蒙古赛诺种羊科技有限公司、山西老牛湾冰滴醋酿造有限公司等。贾国龙在上述企业中担任执行董事、监事、经理等职务。

天眼查信息:https://www.tianyancha.com/company/3103240364

本文来自投稿,不代表创造权威IP 赋能创业者——IP百创立场,如若转载,请注明出处:创造权威IP 赋能创业者——IP百创

(0)
打赏 微信扫一扫 微信扫一扫 支付宝扫一扫 支付宝扫一扫
上一篇 2025年9月14日
下一篇 2025年9月14日

相关推荐

  • 「求你别再骗我妈救命钱」的呐喊,抖音们敢出来应一声吗?

    「这社会病了!」 这是小柴看完一个北科大女生硬刚一个百万粉网红的视频后的第一感受。 在整个事件中,这位网红、直播平台……为了赚钱,都将基本的良知扔进了垃圾桶。 然而,讽刺的是,他们榨干癌症患者的救命钱,依然可以相安无事的住着带大泳池的别墅,换着开法拉利和劳斯莱斯风花雪月…… 作为一个唯物主义者,在这一刻,小柴多么希望报应是真的存在的。 事情是这样的,这两天的…

    2024年4月23日
  • 北京人工智能产业基金等入股比特智路后者为AI基础设施研发商

    天眼查App显示,近日,北京比特智路信息技术有限公司发生工商变更,新增北京市人工智能产业投资基金(有限合伙)、湖北省基石中小发展创业投资基金合伙企业(有限合伙)、北京市先进制造和智能装备产业投资基金(有限合伙)为股东,注册资本由约126.5万人民币增至约143.3万人民币。 北京比特智路信息技术有限公司成立于2023年6月,法定代表人为郭传雄,经营范围含集成…

    2025年12月12日
  • 这个投资350亿元的显示产业项目,将给TCL带来什么?

    去年3月开工,仅用时19个月,9月29日,TCL华星t9项目在广州市黄埔区正式投产。 如此速度,TCL华星的战略执行力可见一斑。 而随着这个投资350亿元的显示产业项目正式投产,TCL华星也在显示技术产业内再次登上了新的高地。 对于企业自身、区域经济发展、中国显示产业在全球的话语权等等,都将带来新的变化。 1 透视TCL华星的战略雄心 据悉,TCL华星t9项…

    2022年10月4日
  • 元气森林等在咸宁成立食品科学研究公司注册资本1亿

    天眼查App显示,近日,华中食品科学研究(咸宁)有限公司成立,法定代表人为董亚,注册资本1亿人民币,经营范围含自然科学研究和试验发展、新材料技术研发、发酵过程优化技术研发、新材料技术推广服务、工程和技术研究和试验发展、饮料生产、食品生产等,由咸宁高新产业发展有限公司、元气森林(北京)食品科技集团有限公司分别持股90%、10%。 天眼查信息:https://w…

    2025年11月28日
  • 开发商已注册多个幻兽帕鲁商标

    #幻兽帕鲁已被多方抢注商标##任天堂起诉幻兽帕鲁开发商# 据媒体报道,今日,任天堂发文宣布起诉《幻兽帕鲁》开发商 Pocket Pair。任天堂称《幻兽帕鲁》游戏侵犯了多项专利,要求被告公司禁止侵权行为并进行赔偿。 天眼查知识产权信息显示,“幻兽帕鲁”已被多方申请注册为商标,申请人包括科技、物流、贸易公司及自然人等,国际分类涉及广告销售、健身器材、方便食品等…

    2024年9月19日

发表回复

您的电子邮箱地址不会被公开。 必填项已用*标注

联系我们

邮件:939297903@qq.com

工作时间:周一至周五,9:30-18:30,节假日休息

关注微信