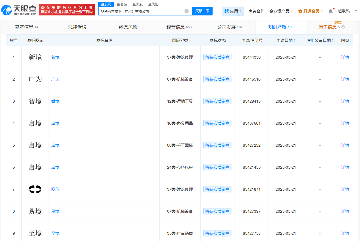
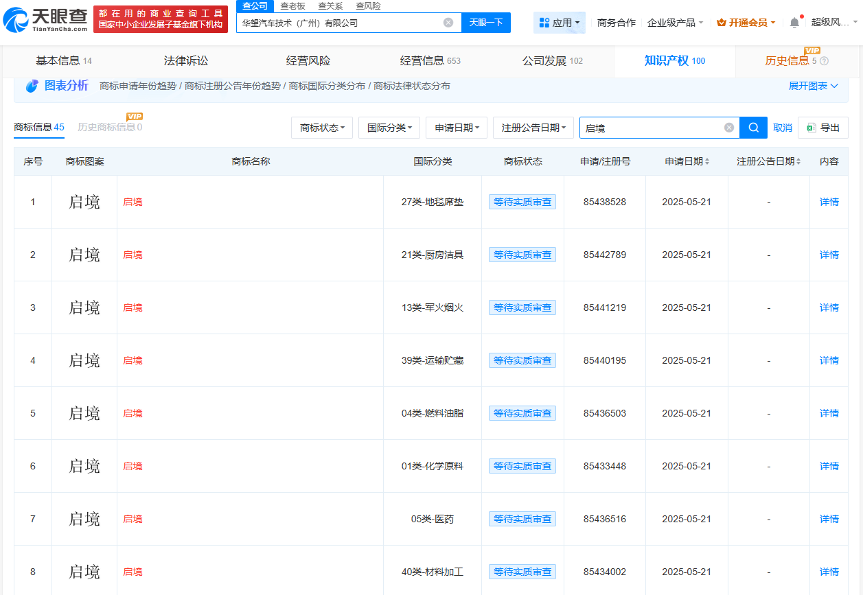
华为广汽合作公司已申请多枚启境商标

#华望汽车已申请多枚境系列商标##华为广汽官宣新品牌启境汽车#

据报道,近日,广汽集团与华为乾崑联合打造的全新高端智能新能源汽车品牌“启境”正式官宣,引发多方关注。

华为广汽合作公司已申请多枚启境商标

华为广汽合作公司已申请多枚启境商标

华为广汽合作公司已申请多枚启境商标

华为广汽合作公司已申请多枚启境商标

天眼查App显示,广汽集团与华为合作的华望汽车技术(广州)有限公司成立于2025年3月,法定代表人为閤先庆,注册资本15亿人民币,经营范围包括汽车销售、汽车零部件及配件制造、汽车零配件批发等,由广汽集团全资持股。知识产权信息显示,该公司已申请注册多枚“启境”商标,国际分类为运输工具、教育娱乐等,当前商标状态为等待实质审查。此外,该公司还申请注册了“新境”“智境”“至境”“易境”等商标。

天眼查信息:https://www.tianyancha.com/company/7464310689/zhishi

本文来自投稿,不代表创造权威IP 赋能创业者——IP百创立场,如若转载,请注明出处:创造权威IP 赋能创业者——IP百创

(0)
打赏 微信扫一扫 微信扫一扫 支付宝扫一扫 支付宝扫一扫
上一篇 2025年9月19日
下一篇 2025年9月19日

相关推荐

  • 特来电等在四川成立充电网运营公司注册资本1000万

    天眼查工商信息显示,近日,四川瑞达特来电充电网运营有限公司成立,法定代表人为李佑松,注册资本1000万人民币,经营范围含电动汽车充电基础设施运营、集中式快速充电站、机动车充电销售、充电桩销售、新能源汽车电附件销售、物联网设备销售、互联网销售、信息咨询服务等。股东信息显示,该公司由资阳市雁江区能源投资有限责任公司、特来电新能源股份有限公司共同持股。 天眼查信息…

    2025年10月27日
  • 农银投资、浦东创投成立企航私募投资基金出资额33.34亿

    天眼查App显示,近日,上海浦创企航私募投资基金合伙企业(有限合伙)成立,执行事务合伙人为农银资本管理有限公司、上海浦东私募基金管理有限公司,出资额33.34亿人民币,经营范围包括以私募基金从事股权投资、投资管理、资产管理等活动。合伙人信息显示,该基金由农银金融资产投资有限公司、上海浦东创新投资发展(集团)有限公司、农银资本管理有限公司、上海浦东私募基金管理…

    2025年11月19日
  • 又开始了?前Flyme负责人杨颜扬言要让魅族22完全卖不掉……

    最近社交媒体上隔空内涵、对撕、喊话的戏码是接二连三,网友直呼,这瓜多的真吃不完! 格力和小米高管之间一来一回的喊话刚停息,郑刚和罗永浩这对冤家用社交媒体昵称满级阴阳内涵。 还有UU跑腿盯上淘宝闪购骑手新工装,连续开炮。火出圈上福布斯的淘宝闪购工装,被UU跑腿满级阴阳撞衫…… 今日一大早,喊话魅族好久,又称算了的前Flyme负责人杨颜又给魅族放话了。 其在社交…

    2025年9月3日
  • 多方申请100%椰子水相似商标

    #申请100%椰子水相似商标均被驳回##多款100%椰子水被曝兑水加糖# 据报道,多款标称“100%椰子水”的产品疑似存在兑水、加糖甚至加入淀粉糖浆的情况。 天眼查App显示,“100%椰子水”“100椰子水”等商标已被多方申请注册,申请人包括某某集团有限公司、安徽某食品有限公司、杭州某科技有限公司,国际分类均为啤酒饮料,不过,当前上述商标状态为无效或驳回复…

    行业动态 2026年3月13日
  • 二手电商的新焦虑:闲鱼、万物新生急需新故事

    配图来自Canva可画 年轻人口中的:“不是全新买不起,而是二手更有性价比”,可不是说说而已。 据央视网数据,目前全国闲置商品日均交易额已突破10亿元,每天都有400万件闲置物品在平台上发布,二手闲置市场规模已突破万亿元。闲置交易中,“95后”的年轻人最为活跃,仅去年就有3000万“95后”新用户涌入二手交易平台。 显然,“买二手、用二手”不再是什么让人难以…

    2024年6月24日

发表回复

您的电子邮箱地址不会被公开。 必填项已用*标注

联系我们

邮件:939297903@qq.com

工作时间:周一至周五,9:30-18:30,节假日休息

关注微信