恒大地产集团等被恢复执行38.9亿

天眼查App显示,近日,恒大地产集团有限公司、恒大地产集团(深圳)有限公司、珠海经济特区恒隆房产开发有限公司等新增一则恢复执行信息,执行标的38.9亿余元,执行法院为广东省深圳市中级人民法院。

恒大地产集团等被恢复执行38.9亿

恒大地产集团等被恢复执行38.9亿

恒大地产集团等被恢复执行38.9亿

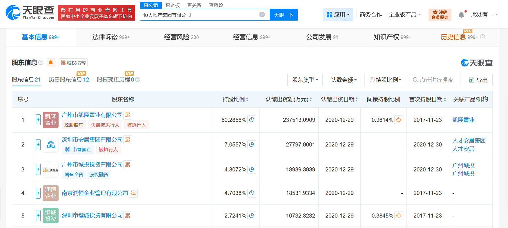
恒大地产集团有限公司成立于1996年6月,法定代表人为赵长龙,注册资本约39.4亿人民币,由广州市凯隆置业有限公司、深圳市安居集团有限公司、广州市城投投资有限公司等共同持股。风险信息显示,该公司现存500余条被执行人信息,被执行总金额超615亿元,此外,该公司还存在多条限制消费令、失信被执行人(老赖)及终本案件信息。

天眼查信息:https://www.tianyancha.com/company/7219966

本文来自投稿,不代表创造权威IP 赋能创业者——IP百创立场,如若转载,请注明出处:创造权威IP 赋能创业者——IP百创

(0)
打赏 微信扫一扫 微信扫一扫 支付宝扫一扫 支付宝扫一扫
上一篇 2025年9月23日
下一篇 2025年9月23日

相关推荐

  • 宁德时代与广汽合资公司换帅

    #时代广汽动力电池公司董事长变更# 天眼查工商信息显示,近日,时代广汽动力电池有限公司发生工商变更,丁爱军卸任法定代表人、董事兼总经理,席忠民卸任董事长,由罗慧萍接任法定代表人、并担任副董事长、经理,由江秀云接任董事长。 时代广汽动力电池有限公司成立于2018年12月,注册资本20亿人民币,经营范围为其他电池制造、锂离子电池制造、电池销售、软件开发、软件服务…

  • 华晨宇演唱会主办方已注册演唱会商标

    #火星演唱会已被申请注册为商标##华晨宇 欢迎同行来抄# 近日,华晨宇在2025年火星演唱会海口站宣布正式告别独创的”火星乐园1.0″演唱会模式,并公开表示”欢迎同行来抄1.0版本”,引发网友讨论。公开信息显示,火星演唱会主办单位包括天娱传媒、亚美娱乐、华晨宇工作室。 天眼查知识产权信息显示,北京亚美时代文化传媒有限公司曾…

    行业动态 2025年12月1日
  • 理想汽车在临汾成立能源服务公司

    天眼查App显示,近日,车和家(临汾)能源服务有限公司成立,注册资本100万人民币,法定代表人为陈昊,经营范围含技术服务;工程和技术研究和试验发展;新能源汽车废旧动力蓄电池回收及梯次利用(不含危险废物经营);光伏设备及元器件制造;太阳能发电技术服务等。股东信息显示,该公司由理想汽车旗下北京车和家能源服务有限公司全资持股。 天眼查信息:https://www….

    2023年3月28日
  • 洽洽食品商业版图盘点

    #洽洽食品旗下关联44家企业# #洽洽食品旗下多家企业已注销##洽洽瓜子疑似内涵杨紫# 据媒体报道,洽洽官微12月2日发布“瓜子干燥无水分”推广内容,并在评论区回复“洽洽瓜紫≠洽洽瓜子”,被指玩梗杨紫剧集注水黑称“瓜紫”,相关话题引发网友热议。 天眼查App显示,洽洽食品成立于2001年8月,法定代表人为陈先保,注册资本约5.1亿人民币,经营范围包括食品生产…

    2025年12月3日
  • 智能小程序再进化,行业经营者跃入生态大海

    小程序,技术发展史上的一小步,却是商业服务发展史上的一大步。 6年前业界首次出现小程序这一概念,此后各大平台纷纷入局推出自己的小程序,这一行业也进入了高速发展期。 作为一种无需下载安装即可实现部分服务功能需求的轻应用,小程序天生就带有缩短用户与商户连接路径的优势。 所以,如今行业内各平台入局小程序的直接原因正是“服务”,一方面为消费者提供更便捷的信息与交易等…

    2022年9月24日

发表回复

您的电子邮箱地址不会被公开。 必填项已用*标注

联系我们

邮件:939297903@qq.com

工作时间:周一至周五,9:30-18:30,节假日休息

关注微信