猫耳涉多起侵权纠纷

#猫耳已登记多部广播剧著作权##猫耳 广播剧下架#

据媒体报道,2025年9月下旬,猫耳FM爆发大规模广播剧下架事件,引发用户强烈反响。

猫耳涉多起侵权纠纷

猫耳涉多起侵权纠纷

猫耳涉多起侵权纠纷

猫耳涉多起侵权纠纷

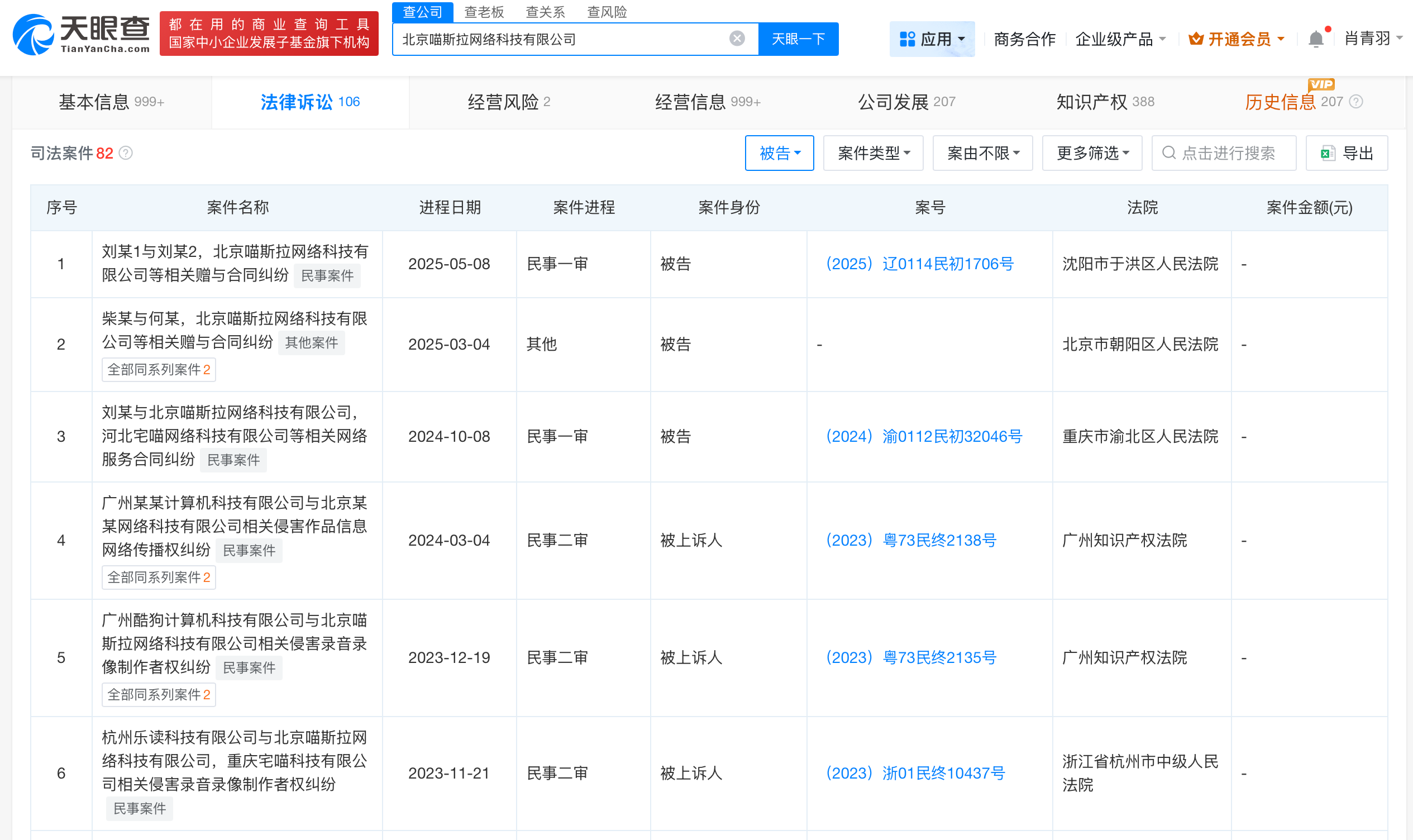
天眼查App显示,猫耳FM关联公司北京喵斯拉网络科技有限公司成立于2014年7月,法定代表人为郑彬炜,注册资本约186.4万人民币,经营范围包括从事互联网文化活动、广播电视节目制作、演出经纪、音像制品制作等,由上海幻电信息科技有限公司全资持股。风险信息显示,该公司涉及多起诉讼案件,案由包括侵害录音录像制作者权纠纷、侵害作品信息网络传播权及不正当竞争纠纷等。作品著作权信息显示,北京喵斯拉网络科技有限公司已登记《撒野》《魔道祖师》《伪装学渣》等作品著作权,作品类别涉及录音制品、录音。

天眼查信息:https://www.tianyancha.com/company/95051965

本文来自投稿,不代表创造权威IP 赋能创业者——IP百创立场,如若转载,请注明出处:创造权威IP 赋能创业者——IP百创

(0)
打赏 微信扫一扫 微信扫一扫 支付宝扫一扫 支付宝扫一扫
上一篇 2025年9月25日
下一篇 2025年9月25日

相关推荐

  • 是时候重新认识薇娅了

    最近关于谦寻、关于薇娅的一些新闻甚嚣尘上,比如“谦寻拿地”“薇娅复出”之类。 前几天的那篇文章《谦寻拿地被误读,背后是人们的三个“不了解”》聊了谦寻拿地背后的误解,今天这篇文章就再聊聊“薇娅复出”背后的“误读”。 有人肯定要问,薇娅的事情跟倪叔有啥关系?在此也声明一下,倪叔作为长期扎根杭州的电商观察者,同时也作为与薇娅深度沟通过的直播业内人,对这些外部的说法…

    2023年4月26日
  • 乐乐茶旗下乐田餐饮管理公司增资至6900万# 增幅6800%

    天眼查工商信息显示,近日,上海乐田餐饮管理有限公司发生工商变更,注册资本由100万人民币增至6900万人民币,增幅6800%。 上海乐田餐饮管理有限公司成立于2018年9月,法定代表人为李明博,经营范围包括餐饮管理、货物进出口、技术进出口、企业管理等。股权全景穿透图显示,该公司由上海吉茶餐饮管理有限公司全资持股,后者由乐乐茶关联公司上海茶田餐饮管理有限公司全…

    行业动态 2026年1月9日
  • 海螺水泥分宜公司因事故被罚70万

    天眼查经营风险信息显示,近日,分宜海螺水泥有限责任公司因检修安全管理不到位,对员工的安全生产教育和培训不到位,对本单位规章制度和操作规程执行督促检查不力,导致发生安全生产责任事故,被分宜县应急管理局罚款70万元。 分宜海螺水泥有限责任公司成立于2001年8月,法定代表人为柯卫东,注册资本1.1亿人民币,由海螺水泥(600585)全资持股。据悉,今年3月,分宜…

    行业动态 2024年8月22日
  • 以“新歌”为锚,《有歌2024》要做音综市场的“大冒险家”

    作者| 糖炒山楂 “我们是抱着一点自杀式的心态在做这个节目,甚至我觉得赌上了自己的整个职业生涯。” 抖音话题播放量超538亿、打造了这几年音综最多的出圈舞台,《天赐的声音》的IP影响力已然算是音综市场的独一档,导演孙竞仍然决定去做一次大冒险:打造一档做原创音乐的音综。 这便是浙江卫视将于今晚上线的《有歌2024》:主打不迎合时代和市场、回归音乐初心,在洪流巨…

    行业动态 2024年10月11日
  • 章子怡持股公司等被强执8377万

    #章子怡持股飞宝传媒被强执# 天眼查法律诉讼信息显示,近日,上海飞宝文化传媒有限公司、喀什飞宝文化传媒有限公司以及穆某新增2条被执行人信息,执行标的合计8377万余元,执行法院均为北京市朝阳区人民法院。 上海飞宝文化传媒有限公司成立于2013年1月,法定代表人为郑旻栋,注册资本约575万人民币,经营范围含演出经纪、营业性演出、文化艺术活动交流与策划、企业形象…

    行业动态 2024年7月18日

发表回复

您的电子邮箱地址不会被公开。 必填项已用*标注

联系我们

邮件:939297903@qq.com

工作时间:周一至周五,9:30-18:30,节假日休息

关注微信