宏胜集团多枚娃小宗商标通过初审

#娃小宗商标遭多方抢注##娃哈哈将换标娃小宗#

据财新报道,宗馥莉执掌下的娃哈哈正在尝试换标、关停工厂、渠道等。9月,一份娃哈哈《关于开展2026销售年度经销商沟通工作的通知》流出,通知显示,为维护“娃哈哈”品牌使用的合规性,娃哈哈集团决定从2026年新的销售年度起,更换使用新品牌“娃小宗”。

宏胜集团多枚娃小宗商标通过初审

宏胜集团多枚娃小宗商标通过初审

宏胜集团多枚娃小宗商标通过初审

宏胜集团多枚娃小宗商标通过初审

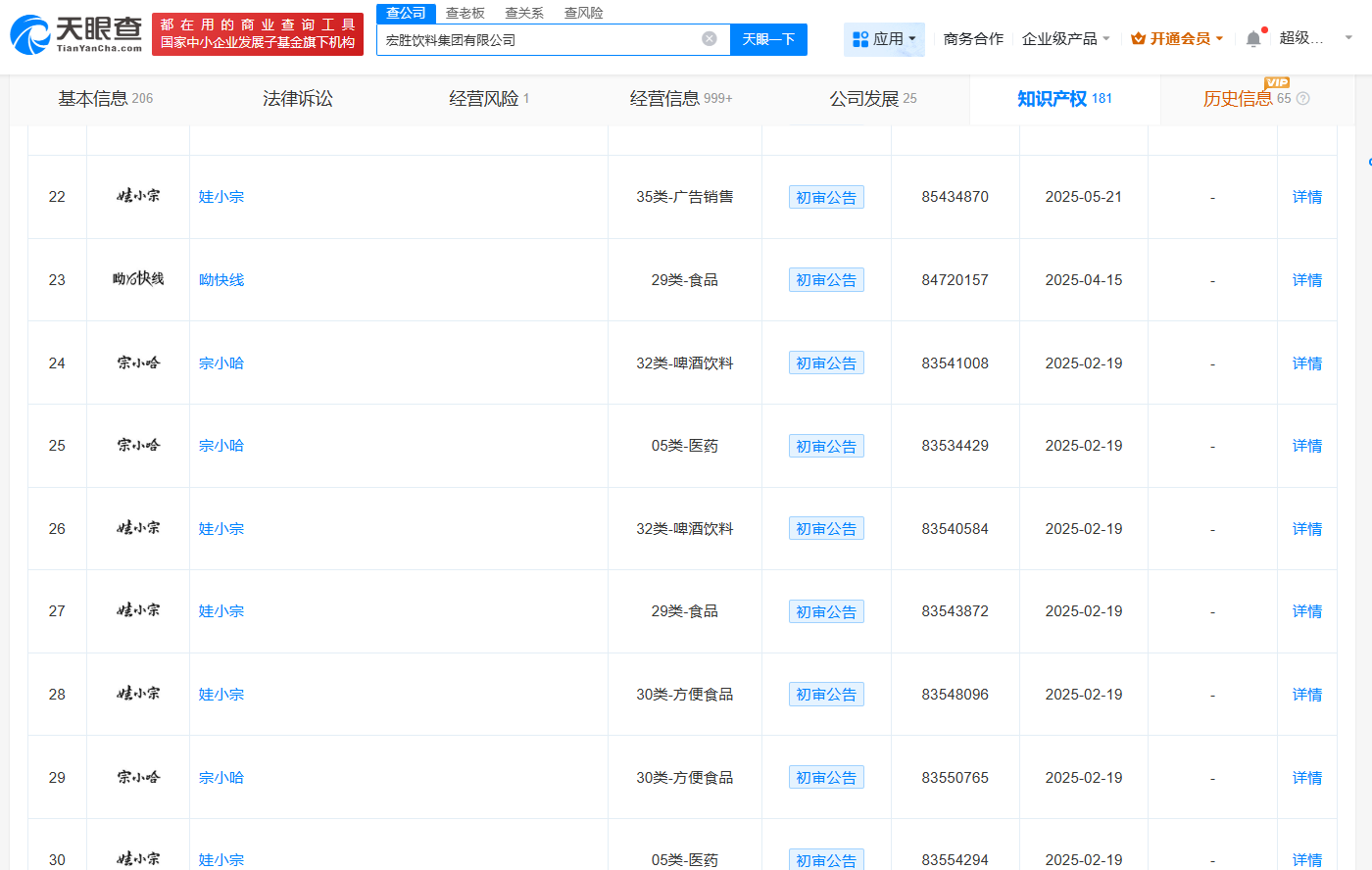
天眼查知识产权信息显示,今年以来,宏胜饮料集团有限公司已申请注册多枚“娃小宗”“宗小哈”“娃小哈”商标,国际分类涉及食品、啤酒饮料、广告销售等。其中,多枚“娃小宗”“宗小哈”商标状态为初审公告。

值得注意的是,河南某健康产业公司、新吴某电子商务公司、九江某科技公司等均已申请注册“娃小宗”商标,当前商标状态为等待实质审查。

天眼查信息:https://www.tianyancha.com/company/280820339/zhishi

本文来自投稿,不代表创造权威IP 赋能创业者——IP百创立场,如若转载,请注明出处:创造权威IP 赋能创业者——IP百创

(0)
打赏 微信扫一扫 微信扫一扫 支付宝扫一扫 支付宝扫一扫
上一篇 2025年9月25日
下一篇 2025年9月25日

相关推荐

  • 华润雪花啤酒公司被强执208万

    天眼查法律诉讼信息显示,近日,华润雪花啤酒(中国)有限公司、华润雪花啤酒(中国)有限公司天津分公司新增一则被执行人信息,执行标的208.7万余元,执行法院为天津市南开区人民法院。 华润雪花啤酒(中国)有限公司成立于2003年6月,法定代表人为赵春武,注册资本约2.47亿美元,由华润雪花啤酒(中国)投资有限公司全资持股。 天眼查信息:https://www.t…

    行业动态 2024年7月26日
  • 现场手动改价牛杂店已成立10年

    #现场手动改价牛杂店已经营异常##官方通报牛杂店现场手动改价# 10月7日,广东连州市市场监督管理局发布情况通报:10月5日,我局接到消费者投诉,反映我市某牛杂店存在未尽告知义务乱涨价的情况。经核查,该牛杂店经营场所内有公示商品销售价目表,但未提前告知消费者国庆节期间价格上涨的情况,目前已责令其退回该消费者多付的价款50元,并处以罚款3500元的行政处罚。 …

    2025年10月8日
  • #国家大基金二期等在太原成立硅材料公司# 注册资本55亿

    天眼查App显示,近日,太原晋科硅材料技术有限公司成立,法定代表人为李炜,注册资本55亿人民币,经营范围含半导体分立器件制造、半导体分立器件销售、电子专用材料制造、电子专用材料销售、电子专用材料研发、电子元器件制造等。股东信息显示,该公司由太原晋科半导体科技有限公司、国家集成电路产业投资基金二期股份有限公司、太原市汾水资本管理有限公司共同持股。 天眼查信息:…

    行业动态 2024年7月17日
  • 《鬼灭之刃》首周末票房破3.7亿,IP联名热下“破圈”难题?

    作者| Mia 编辑| 李寻欢 “冷冷的冰雨在脸上胡乱地拍”的影市,已经许久没有迎来这样的狂欢。 截至公映日,《鬼灭之刃:无限城篇第一章 猗窝座再袭》(以下简称“《鬼灭之刃2》”,区别剧场版前作《无限列车篇》)预售票房(含零点场)已超1.81亿,登顶进口动画电影最高预售纪录,跻身内地市场动画电影预售票房TOP3,仅次于《哪吒2》和《姜子牙》。 猫眼专业版显示…

    行业动态 2025年11月17日
  • 大润发回应月饼禁用添加剂系去年文案!网友:配料表可随便写?

    今日,大润发多个话题意外地冲上了热搜,但这些热搜让吃惯群众们吃出了一身接一身的冷汗,就像看剧情跌宕的惊悚片那样。 我们先来看第一个话题——大润发一月饼配料表含已禁用添加剂…… 再看第二个,大润发回应月饼配料表含有已禁用添加剂,配料表中的“脱氢乙酸钠”是员工复制去年信息未更新导致。 好家伙,这么大的品牌一开始被爆料月饼里面有禁用添加剂,用户觉得自己被坑了,然后…

    2025年9月29日

发表回复

您的电子邮箱地址不会被公开。 必填项已用*标注

联系我们

邮件:939297903@qq.com

工作时间:周一至周五,9:30-18:30,节假日休息

关注微信