宗馥莉公司今年申请多枚娃小宗商标

#娃小宗商标遭多方抢注##宗馥莉将独立经营娃小宗#

据媒体报道,记者从接近娃哈哈的人士了解到,宗馥莉已于9月12日向娃哈哈集团有限公司辞去公司法人代表、董事及董事长等相关职务并已通过集团股东会和董事会的相关程序。一名消息人士表示,宗馥莉此次辞职,是因为商标使用“不合规”,宗馥莉决定经营自己的品牌“娃小宗”。

宗馥莉公司今年申请多枚娃小宗商标

宗馥莉公司今年申请多枚娃小宗商标

宗馥莉公司今年申请多枚娃小宗商标

宗馥莉公司今年申请多枚娃小宗商标

宗馥莉公司今年申请多枚娃小宗商标

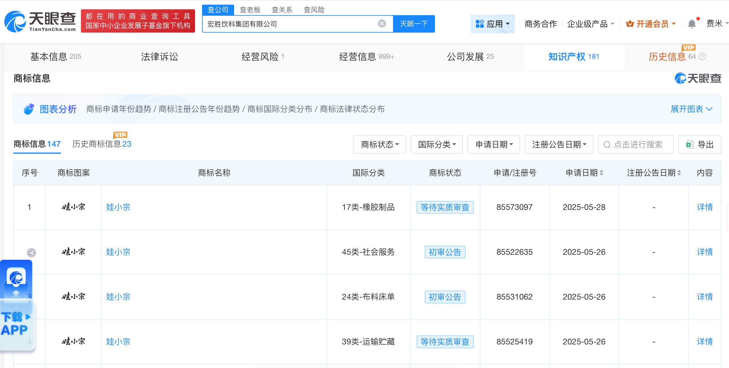
天眼查知识产权信息显示,今年以来,宏胜饮料集团有限公司已申请注册多枚“娃小宗”“宗小哈”“娃小哈”商标,国际分类涉及食品、啤酒饮料、广告销售等。其中,多枚“娃小宗”“宗小哈”商标状态为初审公告。宏胜饮料集团有限公司成立于2003年10月,法定代表人为祝丽丹,注册资本1025万美元,经营范围包括食品销售、食品添加剂销售、塑料制品销售等,由恒枫贸易有限公司全资持股,宗馥莉在该公司担任董事。

值得注意的是,河南某健康产业公司、新吴某电子商务公司、九江某科技公司等均已申请注册“娃小宗”商标,当前商标状态为等待实质审查。

天眼查信息:https://www.tianyancha.com/company/280820339

本文来自投稿,不代表创造权威IP 赋能创业者——IP百创立场,如若转载,请注明出处:创造权威IP 赋能创业者——IP百创

(0)
打赏 微信扫一扫 微信扫一扫 支付宝扫一扫 支付宝扫一扫
上一篇 2025年10月12日
下一篇 2025年10月12日

相关推荐

  • TCL华星:拟投建第8.6代印刷OLED产线

    9月12日,TCL科技集团股份有限公司(000100.SZ)发布公告,公司、旗下子公司TCL华星与广州市人民政府、广州经济技术开发区管理委员会共同签署项目合作协议,拟共同出资于广州市建设一条月加工2290mm×2620mm玻璃基板能力约2.25万片的第8.6代印刷OLED显示面板生产线(简称“t8项目”),主要产品涵盖平板、笔记本电脑、显示器等应用领域,预计…

    2025年9月13日
  • 牛约堡关联公司揭秘

    #牛约堡关联公司去年变更高管# 据报道,近期牛约堡屡次被曝出食品安全问题及宣传与实际不符的情况,引发公众信任危机。 天眼查工商信息显示,牛约堡关联上海牛约堡餐饮集团有限公司成立于2021年5月,注册资本110万人民币,经营范围包括餐饮管理、食品销售、市场营销策划、企业形象策划等。股东信息显示,该公司由上海瑞轮企业管理有限公司全资持股。变更记录信息显示,去年4…

    2026年3月15日
  • 武汉创新投资集团增资至50亿# 增幅约285%

    天眼查App显示,近日,武汉创新投资集团有限公司发生工商变更,注册资本由13亿人民币增至50亿人民币,增幅约285%。 该公司成立于2016年6月,法定代表人为夏伟,经营范围包括私募股权投资基金管理、创业投资基金管理服务、以自有资金从事投资活动等,由武汉国有资本投资运营集团有限公司全资持股。 天眼查信息:https://www.tianyancha.com/…

    2026年4月2日
  • 犇耀巴黎!中国品牌真牛气

    奥运会如火如荼,巴黎成为全球体育瞩目的中心。在这样一个激动人心的舞台上,中国品牌的身影与运动员们的英姿组成了华丽的圆舞曲。 蒙牛作为中国优秀品牌代表,在奥运周期干了三件大事: 第一件,时隔16年后,双奥导演张艺谋团队再次操刀提气大片《开幕》,几乎与巴黎奥运开幕式一样成了热门话题。《开幕》凝聚了乐曲华章,作为各种世界级体育盛事的老熟人,蒙牛讲出了中国品牌的世界…

    2024年7月30日
  • 招银金融资产投资公司登记成立注册资本150亿

    天眼查工商信息显示,近日,招银金融资产投资有限公司成立,法定代表人为雷财华,注册资本150亿人民币,经营范围为非银行金融业务。股东信息显示,该公司由招商银行全资持股。 据媒体报道,招商银行11月23日公告称,招银金融资产投资有限公司已获金融监管总局批准开业,该公司将开展市场化债转股业务及股权投资试点业务。 天眼查信息:https://www.tianyanc…

    2025年11月24日

发表回复

您的电子邮箱地址不会被公开。 必填项已用*标注

联系我们

邮件:939297903@qq.com

工作时间:周一至周五,9:30-18:30,节假日休息

关注微信