#揭秘鸭腿套餐现活蛆餐饮店# #鸭腿套餐现活蛆餐饮店已成立4年#

#套餐现活蛆门店老板关联3家餐饮公司#

#官方通报鸭腿套餐发现有活蛆#

据媒体报道,10月13日,上海市浦东新区市场监督管理局发布情况通报称,该局关注到有消费者在网上反映,10月11日中午在本辖区“闻闻香餐饮店”食用鸭腿套餐时,发现有“活蛆”。目前,涉事经营户已自行停业整改,该局对相关情况正在进一步调查核实。

#揭秘鸭腿套餐现活蛆餐饮店# #鸭腿套餐现活蛆餐饮店已成立4年#

#揭秘鸭腿套餐现活蛆餐饮店# #鸭腿套餐现活蛆餐饮店已成立4年#

天眼查App显示,涉事的上海市浦东新区祝桥镇闻闻香餐饮店成立于2021年9月,为个体工商户,经营者为倪某某,经营范围为餐饮服务。

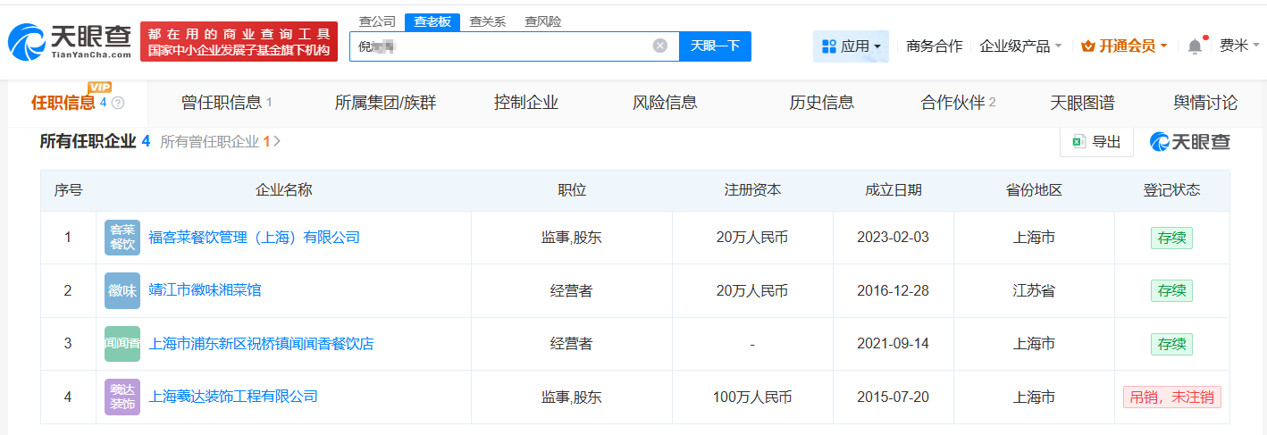
任职信息显示,倪某某名下关联4家企业,其中3家处于存续状态,分别为福客莱餐饮管理(上海)有限公司、靖江市徽味湘菜馆、上海市浦东新区祝桥镇闻闻香餐饮店,而上海羲达装饰工程有限公司已被吊销。

天眼查信息:https://www.tianyancha.com/company/5153212793

本文来自投稿,不代表创造权威IP 赋能创业者——IP百创立场,如若转载,请注明出处:创造权威IP 赋能创业者——IP百创

(0)
打赏 微信扫一扫 微信扫一扫 支付宝扫一扫 支付宝扫一扫
上一篇 2025年10月14日
下一篇 2025年10月14日

相关推荐

  • 4K三分频「新物种」,天猫精灵「哇哦闺蜜机」带你抢先步入智慧家居生活

    如果你想在客厅、卧室、厨房甚至洗手间看电视、玩游戏,还要学教程,你又嫌手机屏幕太小,电视屏幕太大,你会选择什么?对,闺蜜机或许是你当下最好的选择。 那一款合格的闺蜜机应该具备什么标准呢? 8月5日,天猫精灵于北京召开高端品牌暨新品发布会,正式推出旗下全新高端品牌「哇哦」及其首款智能交互平板「哇哦闺蜜机」,这就是一个极佳的答案。 「哇哦闺蜜机」是一款可不受供电…

    2024年8月6日
  • 曾有公司申请小米卫生巾商标

    #抢注小米卫生巾商标申请被驳回##网友在雷军评论区刷屏小米做卫生巾# 3月15日,央视财经3·15晚会曝光劣质卫生巾和纸尿裤,且数量巨大。众多网友纷纷跑到雷军评论区刷屏,希望小米能生产卫生巾和纸尿裤等产品。 天眼查知识产权信息显示,“小米卫生巾”已于去年9月被申请注册为商标,申请人为成都某塑料包装有限公司,国际分类为医药。目前,该商标申请已被驳回。 天眼查信…

    2025年3月16日
  • 杨紫起诉家居销售中心侵权

    #杨紫诉家居销售中心侵权案将开庭# 天眼查App显示,近日,北京市朝阳区人民法院向沈阳市铁西区宏福家居销售中心、邹某某、张某公告送达杨紫与上述被告肖像权、姓名权、名誉权纠纷一案诉讼材料及开庭传票,自公告之日起经过30日即视为送达,并定于举证期满后第1日开庭审理此案。 天眼查信息:https://www.tianyancha.com/court/5343463…

    2023年3月30日
  • 留白影视“狂飙”2023|专访创始人徐康、制片人徐泰

    ​作者| 无花果 蛰伏三年的影视行业在2023年迎来复苏的第一个佐证,就是电视剧《狂飙》在Q1以迅雷之势席卷全国的案例。 自1月14日《狂飙》上线爱奇艺并迅速发酵,一路经历了以11000刷新爱奇艺历史热度、先后登上央视八套与北京卫视、包揽台网各大数据平台热度TOP1、豆瓣评分最高9.1、阅读量破亿话题近30个的历程,其惊人的传播力度甚至远超制作方的预期,“一…

    行业动态 2023年2月3日
  • 从《长相思2》到《墨雨云间》“拆CP”,热播剧到底该如何进行CP营业?

    ​作者| 肖晓 编辑| 李寻欢 火热了大半年的剧集市场,在暑期档突然有点“降温”。最典型的,便是“准剧王”《长相思2》开播以来的表现略失“水准”。 当然,这主要是以去年暑期档《长相思》的成绩为参照系:截至目前,《长相思第二季》虽然在腾讯视频站内热度破三万,但在云合、灯塔、猫眼等数据平台上的播放市占率仅维持在13%—17%,并未与同期热播剧形成断层优势。而这也…

    行业动态 2024年7月19日

发表回复

您的电子邮箱地址不会被公开。 必填项已用*标注

联系我们

邮件:939297903@qq.com

工作时间:周一至周五,9:30-18:30,节假日休息

关注微信