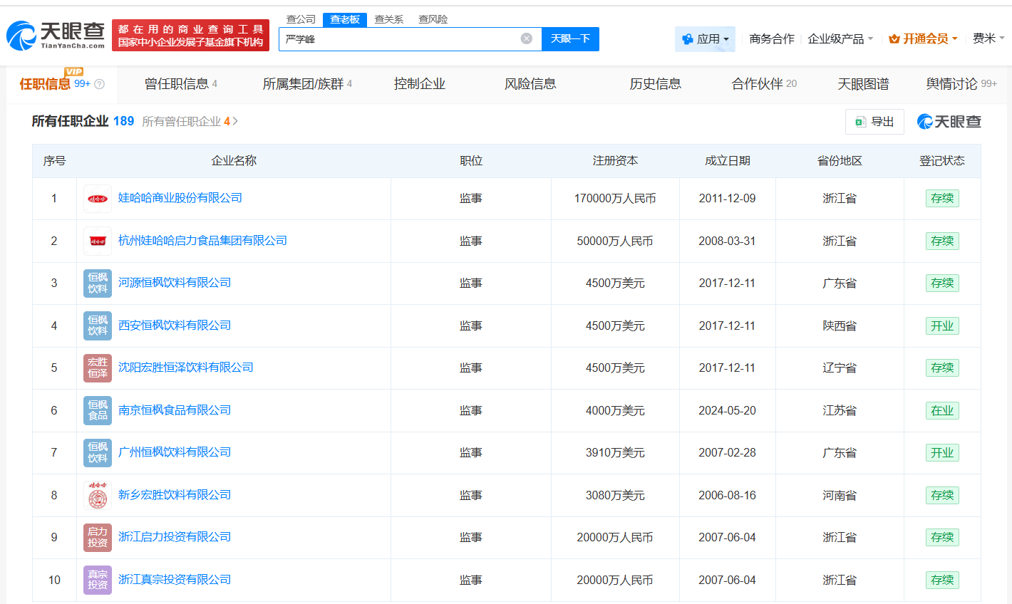
#严学峰名下关联180余家企业#
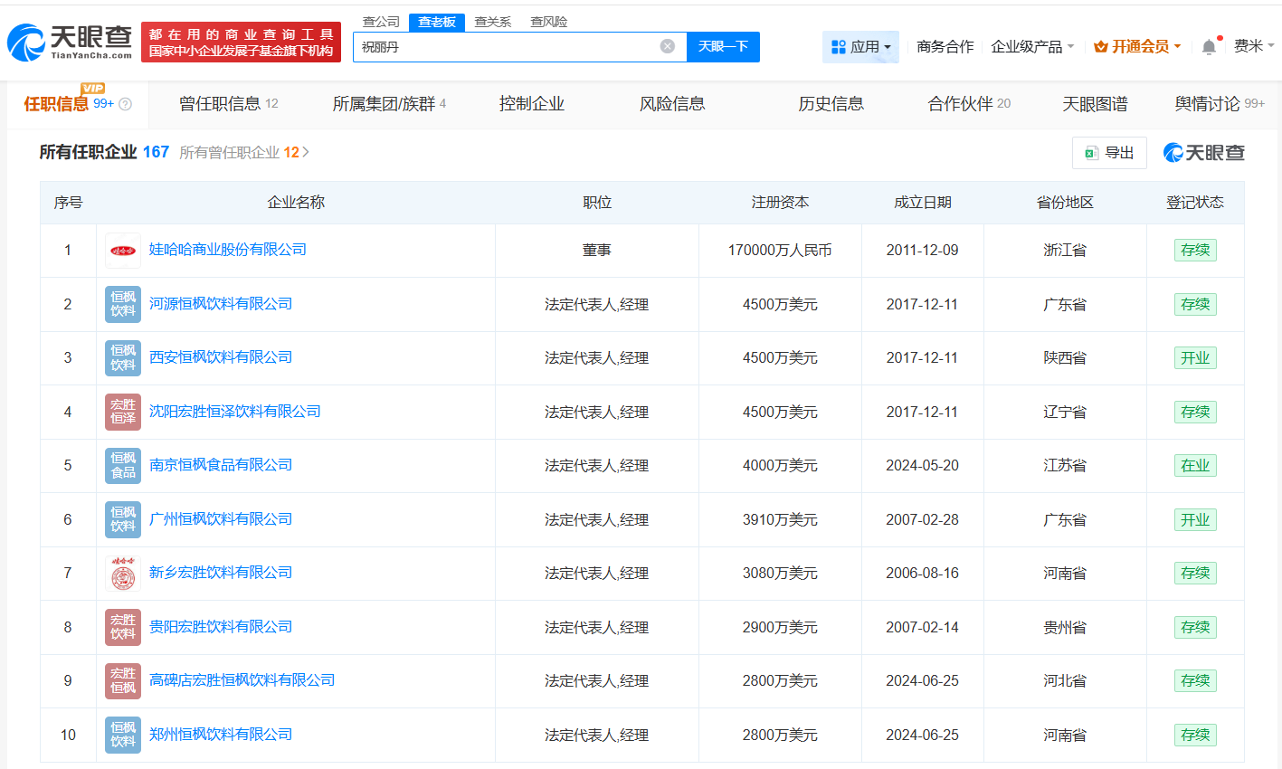
#祝丽丹在娃哈哈旗下多家公司担任经理#
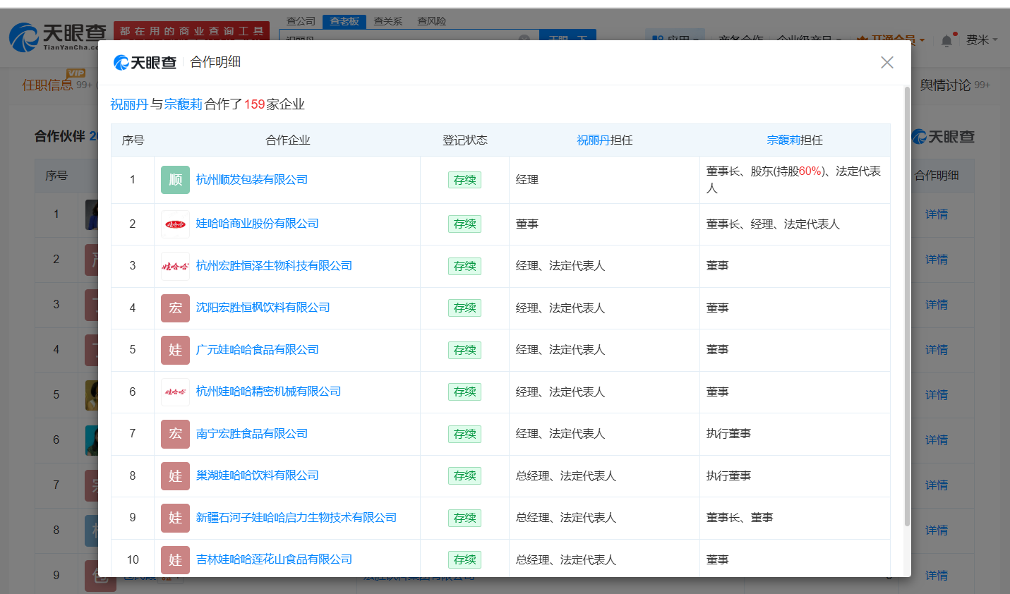
#祝丽丹名下关联160余家企业#
#宏胜严学峰祝丽丹岗位已变更为待定#10月14日,澎湃新闻记者获悉,宏胜饮料集团有限公司内部系统中,严学峰、祝丽丹岗位显示“待定”。有消息称,上述两人已申请离职。澎湃新闻记者拨打严学峰、祝丽丹两人电话,电话均未接听。
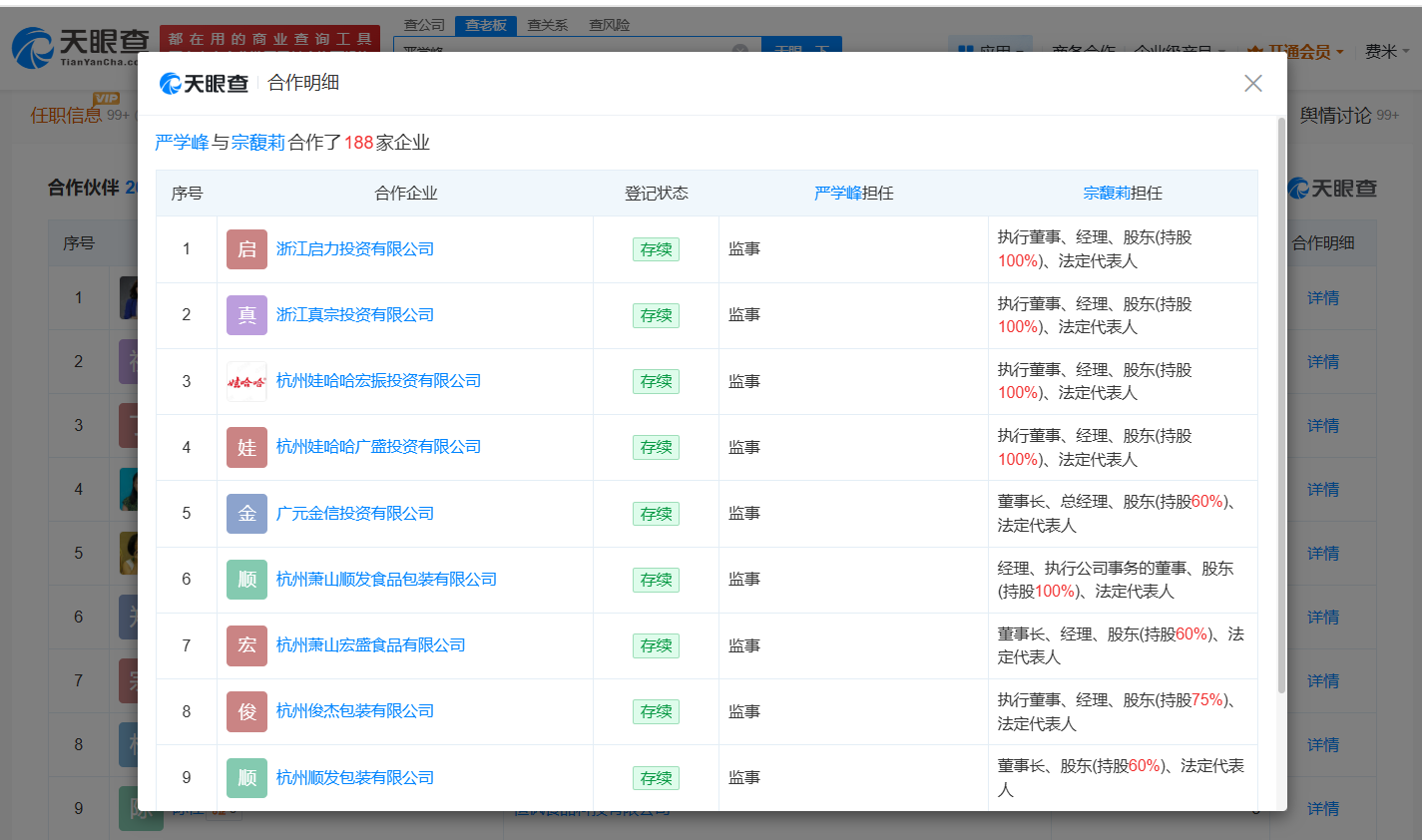
天眼查App显示,严学峰名下关联近190家企业,其中180余家处于存续状态,包括娃哈哈商业股份有限公司、河源恒枫饮料有限公司、浙江迅尔城通货运有限公司等。值得一提的是,严学峰名下关联近百家娃哈哈企业,包括杭州娃哈哈启力食品集团有限公司、杭州娃哈哈乐维食品有限公司等,严学峰在上述公司担任监事。合作伙伴信息显示,严学峰与宗馥莉共同关联188家企业,包括浙江启力投资有限公司、浙江真宗投资有限公司等。





祝丽丹名下关联160余家存续企业,包括娃哈哈商业股份有限公司、河源恒枫饮料有限公司、西安恒枫饮料有限公司等,值得一提的是,祝丽丹名下关联近百家娃哈哈企业,包括杭州娃哈哈乐维食品有限公司、杭州娃哈哈非常可乐饮料有限公司等,祝丽丹在上述公司担任法定代表人、经理。合作伙伴信息显示,祝丽丹与宗馥莉共同关联150余家企业,包括杭州顺发包装有限公司、南宁宏胜食品有限公司等。
天眼查信息:https://www.tianyancha.com/human/1760704601-c280820339
https://www.tianyancha.com/human/2094451661-c280820339
本文来自投稿,不代表创造权威IP 赋能创业者——IP百创立场,如若转载,请注明出处:创造权威IP 赋能创业者——IP百创
微信扫一扫