上海世茂建设公司等被执行9.2亿

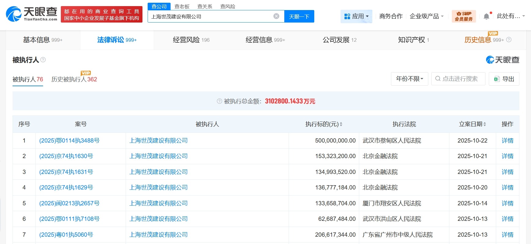
天眼查App显示,10月20日至22日,上海世茂建设有限公司新增4条被执行人信息,执行标的合计9.2亿余元,部分案件被执行人还包括长沙世茂房地产有限公司、牡丹江世茂新城房地产开发有限公司等,执行法院为武汉市蔡甸区人民法院、北京金融法院。

上海世茂建设公司等被执行9.2亿

上海世茂建设公司等被执行9.2亿

上海世茂建设公司等被执行9.2亿

上海世茂建设有限公司成立于2001年3月,法定代表人为颜华,注册资本31.4亿人民币,经营范围为房地产开发、经营、旧房改造及经营、物业管理、室内装潢、企业管理咨询,由世茂投资控股有限公司全资持股。天眼风险信息显示,该公司现存70余条被执行人信息,被执行总金额超310亿元,此外,该公司还存在多条限制消费令、失信被执行人(老赖)及终本案件信息。

天眼查信息:https://www.tianyancha.com/company/25272498

本文来自投稿,不代表创造权威IP 赋能创业者——IP百创立场,如若转载,请注明出处:创造权威IP 赋能创业者——IP百创

(0)
打赏 微信扫一扫 微信扫一扫 支付宝扫一扫 支付宝扫一扫
上一篇 2025年10月23日
下一篇 2025年10月23日

相关推荐

  • 荣耀李健称友商会起名销量涨价格涨,他在内涵谁?

    荣耀Magic8系列,小柴感觉预热好久好久了,预热期间,给小柴留下深刻记忆的信息点,就是荣耀首席影像工程师罗巍。 比如在9月29日,罗巍发文言辞激烈地怒批友商vivo抄袭连名字都不改:这么快就成行业标杆了吗?刚叫了大小王,现在来蹭荣耀Magic…… “的确是一般说啥缺啥,说有钱的都缺钱,说以德服人的都缺德,说本分的都不本分,说没水军的。那基本是可以水漫金山……

    2025年10月16日
  • 揭秘禁止学生用企鹅舞表情包涉事高校

    #禁用企鹅舞表情包高校近期被执行450万##贵州一高校禁止学生用企鹅舞表情包# 据媒体报道,11月25日,一则落款为11月24日“校团委组织部”的致“各级二级学院负责人”的通知引发关注,通知明确禁止在校内组织“企鹅舞”集体活动及使用相关表情包,多名网友指认该通知来自贵州铜仁学院。 天眼查App显示,铜仁学院法定代表人为石维,开办资金约2亿人民币,宗旨和业务范…

    2025年11月26日
  • 腾讯音乐Q2增长33%:情绪消费是“电子鸦片”还是“新战场”?

    作者| 赤木瓶子 编辑| 李寻欢 在线音乐的下半场正深入情绪经济的“新战场”。 腾讯音乐这边,在线音乐业务几乎没有悬念的再“上分”。腾讯音乐2025年第二季度总收入为84.4亿元,同比增长17.9%,调整后净利润为26.4亿元,同比增长33.0%。其中,在线音乐服务收入同比增长26.4%至68.5亿元。 网易云音乐的业绩公告也给出了一组反差数字:网易云音乐2…

    行业动态 2025年8月20日
  • Z世代“打工人神剧”虽迟但到,《今日宜加油》开启00后职场剧新视角

    ​作者| 无花果 “李天然,天赋异禀,先天性的眼力见缺乏患者,脑积水晚期病例,社会性死亡和坑死队友的骨灰级大师,他是一切计划的变数,万分之一的失误,自带黑洞的buff,完成这个任务,非他莫属。” 近日的热播剧《今日宜加油》是难得的都市职场情景喜剧,以Z世代语境网罗大量年轻人嗨点与笑点,其无厘头的形式,和足够奇葩且具有代表性的人物组合在一起,足以令人捧腹。男主…

    行业动态 2023年3月7日
  • #招商蛇口、中国旅游集团成立置业公司# 注册资本14亿

    天眼查工商信息显示,近日,上海招鼎置业有限公司成立,法定代表人为黄俊杰,注册资本14亿人民币,经营范围包括房地产开发经营、住宅室内装饰装修、物业管理等。股权全景穿透图显示,该公司由招商蛇口旗下上海虹润置业有限公司、中国旅游集团旗下杭州旅投房地产开发有限公司共同持股。 天眼查信息:https://www.tianyancha.com/company/76838…

    2025年8月20日

发表回复

您的电子邮箱地址不会被公开。 必填项已用*标注

联系我们

邮件:939297903@qq.com

工作时间:周一至周五,9:30-18:30,节假日休息

关注微信