碧桂园地产等被执行3.8亿

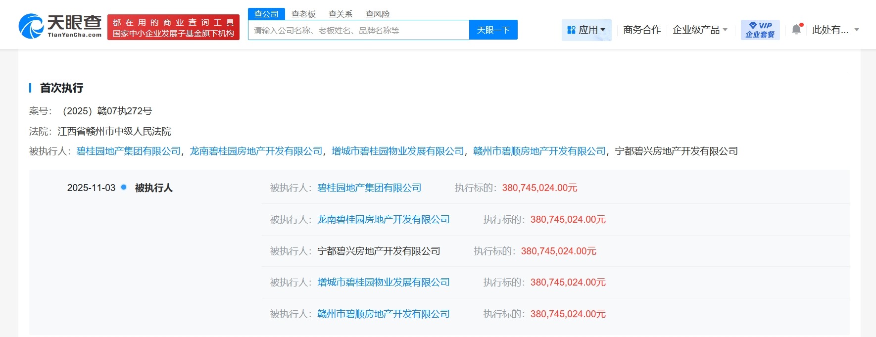
天眼查App显示,近日,碧桂园地产集团有限公司新增3条被执行人信息,执行标的合计3.8亿余元,被执行人还包括龙南碧桂园房地产开发有限公司、增城市碧桂园物业发展有限公司等,执行法院为江西省赣州市中级人民法院、山东省济南市中级人民法院。

碧桂园地产等被执行3.8亿

碧桂园地产等被执行3.8亿

天眼风险信息显示,碧桂园地产集团有限公司现存57条被执行人信息,被执行总金额超57亿元,此外,该公司还存在多条限制消费令、失信被执行人(老赖)及终本案件信息。

天眼查信息:https://www.tianyancha.com/company/3053723260

本文来自投稿,不代表创造权威IP 赋能创业者——IP百创立场,如若转载,请注明出处:创造权威IP 赋能创业者——IP百创

(0)
打赏 微信扫一扫 微信扫一扫 支付宝扫一扫 支付宝扫一扫
上一篇 2025年11月5日
下一篇 2025年11月5日

相关推荐

  • 2025蔚来日在杭州成功举办

    9 月 20 日,2025 蔚来日(NIO Day 2025)在杭州大会展中心举行。本届 NIO Day 首次在秋季举办,以“生长 Grow with the Light”为主题,与全球用户分享蔚来最新产品和技术创新成果。 围绕“生长 Grow with the Light”主题,700 余位蔚来用户与优秀创作者深度参与本届 NIO Day 共创。完全由蔚来…

    2025年9月20日
  • #海南交投成立低空经济基础投资公司# 注册资本3000万

    天眼查工商信息显示,近日,海南省低空经济基础投资有限公司成立,法定代表人为王俊,注册资本3000万人民币,经营范围包括通用航空服务、公共航空运输、人工智能通用应用系统、人工智能公共数据平台等。股东信息显示,该公司由海南省交通投资控股有限公司全资持股。 天眼查信息:https://www.tianyancha.com/company/7664043788

    2025年8月11日
  • 《摇太阳》《红毯先生》等逃离“80亿春节档”,薛之谦开启“屏摄元年” ? | 复盘

    ​作者| Mia 编辑| 赤木瓶子 得益于史上最长的春节假期,且八天假期不包含惯例上无新片排映的除夕,加上初五叠加情人节,2024春节档创下了新高。 据猫眼专业版数据,截至2月17日21时,2024春节档期(2月10日—17日)总票房(含预售)达80.23亿元,总放映场次393.7万场,总观影人次1.63亿人,刷新中国影史春节档票房、场次、观影人次等多项影史…

    行业动态 2024年2月19日
  • 开心麻花旗下北京一公司注销

    天眼查App显示,近日,北京开心麻花悦品文化传播有限公司登记状态由存续变更为注销。此前,该公司已发布简易注销公告。 该公司成立于2021年10月,法定代表人为才喻钧,注册资本300万人民币,经营范围包括餐饮服务、食品经营、组织文化艺术交流活动等,由天津开心麻花剧院管理有限公司、北京佳客悦品文化传播有限公司共同持股。 天眼查信息:https://www.tia…

    行业动态 2025年12月5日
  • 丝芭称将起诉曾艳芬

    #丝芭就曾艳芬言论报警# 12月18日,@天尚律师事务所发文:本所接受上海丝芭文化传媒集团有限公司委托,发表维权声明。就“曾艳芬”等用户肆意发布针对委托人的侮辱、诽谤、贬损性言论,严重侵害其名誉权等权益的行为,委托人已于2025年12月17日晚向上海市公安局虹口分局报案,律师已根据委托人的委托依法对相关侵权内容完成取证。 天眼查工商信息显示,上海丝芭文化传媒…

    2025年12月18日

发表回复

您的电子邮箱地址不会被公开。 必填项已用*标注

联系我们

邮件:939297903@qq.com

工作时间:周一至周五,9:30-18:30,节假日休息

关注微信