小米通话关联公司涉多起纠纷案件

#揭秘小米通话关联公司##小米通话将停服#

据媒体报道,小米通话发布公告称,将于2025年12月3日停止服务。公开信息显示,小米通话关联公司为北京瓦力网络科技有限公司。

小米通话关联公司涉多起纠纷案件

小米通话关联公司涉多起纠纷案件

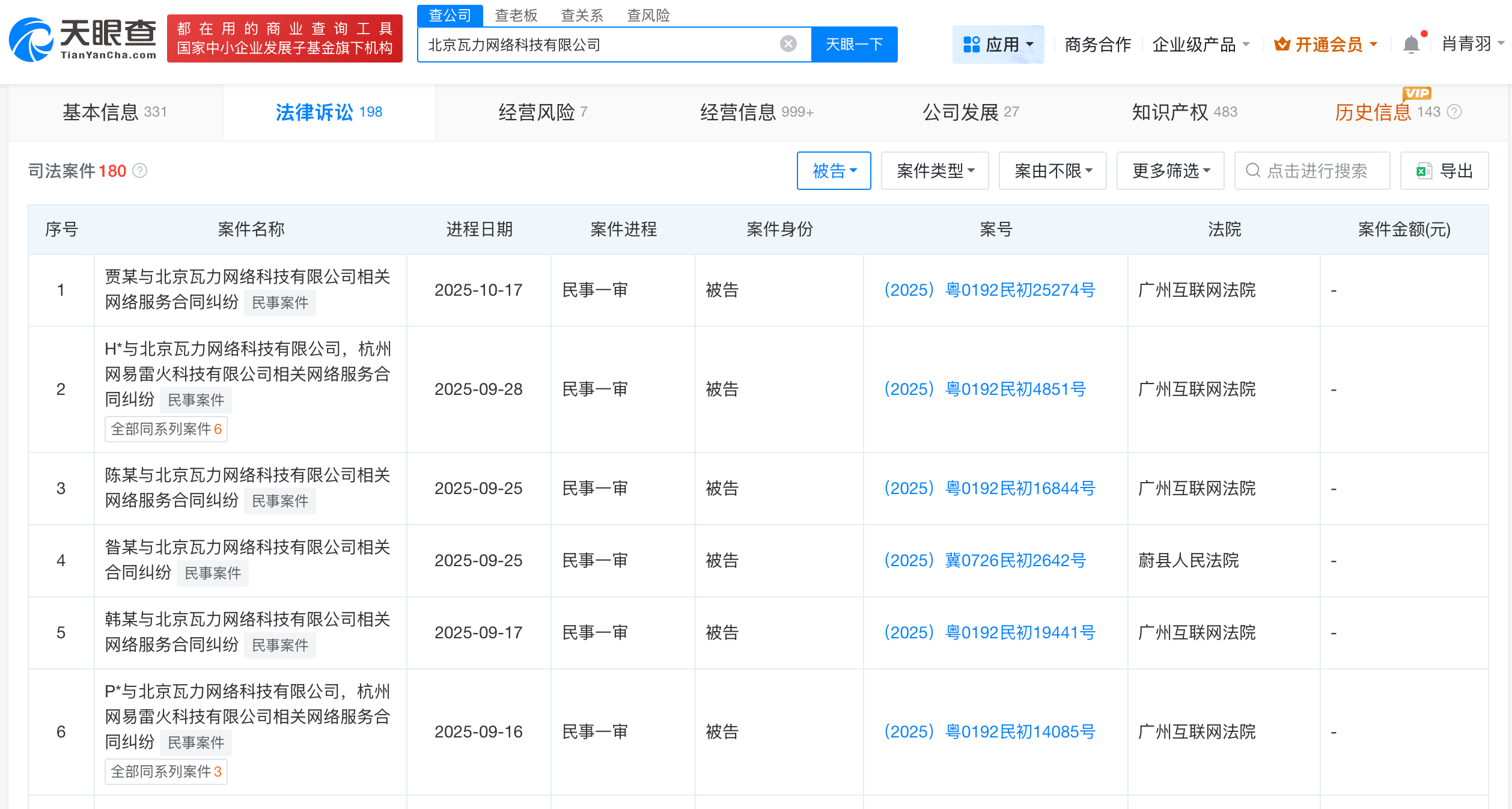
天眼查App显示,北京瓦力网络科技有限公司成立于2009年6月,法定代表人为刘婵,注册资本为210万人民币,经营范围包括第二类增值电信业务、互联网信息服务、网络文化经营、互联网游戏服务等,由刘泱、梁秋实、雷军等共同持股。风险信息显示,该公司涉及多起纠纷案件,案由涉及网络服务合同纠纷等。

天眼查信息:https://www.tianyancha.com/company/2160381

本文来自投稿,不代表创造权威IP 赋能创业者——IP百创立场,如若转载,请注明出处:创造权威IP 赋能创业者——IP百创

(0)
打赏 微信扫一扫 微信扫一扫 支付宝扫一扫 支付宝扫一扫
上一篇 2025年11月6日
下一篇 2025年11月6日

相关推荐

  • 年代江湖+暴力美学,年度狠剧《似火流年》给男频赛道打了个样

    ​作者| 连翘 说到文牧野和徐峥最为备受瞩目的合作,当属实现票房和奖项双神话的电影《我不是药神》,现实主义手法+小人物叙事+人性救赎的立意让其在2018年大放异彩,改编自真实事迹又让这部作品披上了一层现实“英雄主义”的光环。而如今,两人又在网剧领域携手共创,这一次硬核男性题材成为了这道大菜的主料。 由文牧野和徐峥共同担任总监制、韩晓邯导演的网剧《似火流年》近…

    行业动态 2023年11月23日
  • 金龙鱼在连云港成立科技新公司注册资本1.71亿

    天眼查工商信息显示,9月15日,丰益(连云港)科技有限公司成立,法定代表人为朱天松,注册资本1.71亿人民币,经营范围包括新材料技术研发、新材料技术推广服务、生物化工产品技术研发等。股东信息显示,该公司由金龙鱼全资持股。 天眼查信息:https://www.tianyancha.com/company/7722296519

    2025年9月15日
  • #中金资本等在成都成立股权投资合伙企业# 出资额10亿

    天眼查工商信息显示,近日,四川省成眉环投金瑞绿色股权投资合伙企业(有限合伙)成立,执行事务合伙人为中金资本运营有限公司,出资额10亿人民币,经营范围含以私募基金从事股权投资、投资管理、资产管理等活动。合伙人信息显示,该合伙企业由成都环投资本管理有限公司、眉山市环境投资有限公司、眉山市国有资本投资运营集团有限公司、眉山市彭山工投产业发展有限公司、中金资本运营有…

    2025年8月23日
  • 小米汽车车标外观专利获授权

    天眼查App显示,近日,小米汽车科技有限公司申请的“车标”外观专利获授权。摘要显示,本外观设计产品的用途为用于汽车的标识。设计要点在于形状和图案。 小米汽车科技有限公司成立于2021年11月,法定代表人为雷军,注册资本10亿人民币,由小米科技有限责任公司全资持股。

    2025年8月12日
  • 恒大地产等被执行2.59亿

    #恒大地产累计被执行371亿# 天眼查App显示,4月23日,恒大地产集团有限公司新增8条被执行人信息,执行标的合计超2.59亿元,被执行人还包括哈尔滨市恒大伟业房地产开发有限公司、哈尔滨市恒大兴业房地产开发有限公司等。目前,恒大地产集团有限公司被执行总金额已超371亿元。 天眼查信息:https://www.tianyancha.com/company/7…

    行业动态 2023年4月24日

发表回复

您的电子邮箱地址不会被公开。 必填项已用*标注

联系我们

邮件:939297903@qq.com

工作时间:周一至周五,9:30-18:30,节假日休息

关注微信