罗福莉与Deepseek创始人仍存商业关联

#罗福莉与DeepSeek创始人关联1家企业##前DeepSeek研究员罗福莉已加入小米#

据媒体报道,11月12日,前DeepSeek研究员罗福莉在朋友圈官宣加入小米。她在朋友圈表示,“智能终将从语言迈向物理世界。我正在Xiaomi MiMo,和一群富有创造力、才华横溢且真诚热爱的研究员,致力于构建这样的未来,全力奔赴我们心目中的AGI。”

罗福莉与Deepseek创始人仍存商业关联

罗福莉与Deepseek创始人仍存商业关联

罗福莉与Deepseek创始人仍存商业关联

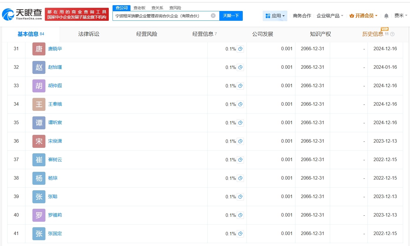
天眼查App显示,罗福莉与DeepSeek创始人梁文锋仍共同关联宁波程采旃蒙企业管理咨询合伙企业(有限合伙)。该合伙企业成立于2021年11月,执行事务合伙人为宁波程禾商务咨询有限公司,出资额1万人民币,经营范围为企业管理咨询、信息咨询服务、企业管理。合伙人信息显示,该合伙企业由梁文锋、管金燕、罗福莉等共同出资,其中梁文锋出资比例为96%,罗福莉出资比例为0.1%。

天眼查信息:https://www.tianyancha.com/company/5232932957

本文来自投稿,不代表创造权威IP 赋能创业者——IP百创立场,如若转载,请注明出处:创造权威IP 赋能创业者——IP百创

(0)
打赏 微信扫一扫 微信扫一扫 支付宝扫一扫 支付宝扫一扫
上一篇 2025年11月12日
下一篇 2025年11月12日

相关推荐

  • 一场特殊路演背后:“联想生态舰队”在AI时代乘风破浪

    中小企业正在跑出创新加速度。 赛迪智库的报告显示,专精特新中小企业以全国千分之二的企业数量创造全国11%的创新技术成果,人工智能领域专精特新小巨人企业平均专利申请高达217件。 不过,中小企业们也有不少成长的烦恼。 中小企业们的“成长烦恼”首当其冲的,是融资难。同样来自赛迪智库的报告显示,人工智能专精特新中小企业近三成企业获得过投资,但被连投的仅占获投企业数…

    行业动态 2024年12月25日
  • 富士康等在河南成立鸿创科技公司# 注册资本20亿

    天眼查App显示,近日,河南鸿创科技有限公司成立,法定代表人为王雪,注册资本20亿人民币,经营范围包括电子元器件制造、电子元器件批发、电子元器件零售、集成电路制造、集成电路设计、集成电路销售等。股东信息显示,该公司由富士康郑州关联公司鸿富锦精密电子(郑州)有限公司、郑州航空港创投集团有限公司共同持股。 天眼查信息:https://www.tianyancha…

    行业动态 2025年12月8日
  • 科大讯飞在合肥成立潮汐力科技公司注册资本200万

    天眼查工商信息显示,近日,合肥潮汐力科技有限公司成立,法定代表人为宫韬,注册资本200万人民币,经营范围含人工智能通用应用系统、人工智能理论与算法软件开发、计算机系统服务、物联网技术服务、信息系统集成服务、人工智能硬件销售、计算机软硬件及外围设备制造、智能仪器仪表制造等。股东信息显示,该公司由科大讯飞旗下浙江潮汐力科技有限公司全资持股。 天眼查信息:http…

    2025年10月23日
  • 月鳞绮纪出品方由郭敬明全资持股

    #揭秘月鳞绮纪出品方##曝月鳞绮纪又撤档了# 据媒体报道,近日,网传古装奇幻剧《月鳞绮纪》开播时间引发争议。 天眼查App显示,该剧出品方之一上海最世文化发展有限公司成立于2010年3月,法定代表人为郭敬明,注册资本500万人民币,经营范围包括广播电视节目制作、发行等,由郭敬明全资持股。 天眼查信息:https://www.tianyancha.com/co…

    行业动态 2026年3月26日
  • 李彦宏百度世界最新演讲:智能体是AI应用的最主流形态,即将迎来爆发点

    “过去24个月,AI行业发生的最大变化是什么?是大模型基本消除了幻觉。”11月12日,百度创始人李彦宏在百度世界2024大会上,发表了主题为《应用来了》的演讲,发布两大赋能应用的AI技术:检索增强的文生图技术(iRAG)和无代码工具“秒哒”。文心iRAG用于解决大模型在图片生成上的幻觉问题,极大提升实用性;无代码工具“秒哒”让每个人都拥有程序员的能力,将打造…

    2024年11月12日

发表回复

您的电子邮箱地址不会被公开。 必填项已用*标注

联系我们

邮件:939297903@qq.com

工作时间:周一至周五,9:30-18:30,节假日休息

关注微信