疯狂英语李阳名下公司近期经营异常

#疯狂英语李阳名下多家公司吊注销##李阳说董宇辉英语差发音怪#

据媒体报道,11月10日,有网友发视频,在11月8日-9日的疯狂英语线下活动中,创始人李阳公开讨论董宇辉与外国外交官的交流情况,引发热议。

疯狂英语李阳名下公司近期经营异常

疯狂英语李阳名下公司近期经营异常

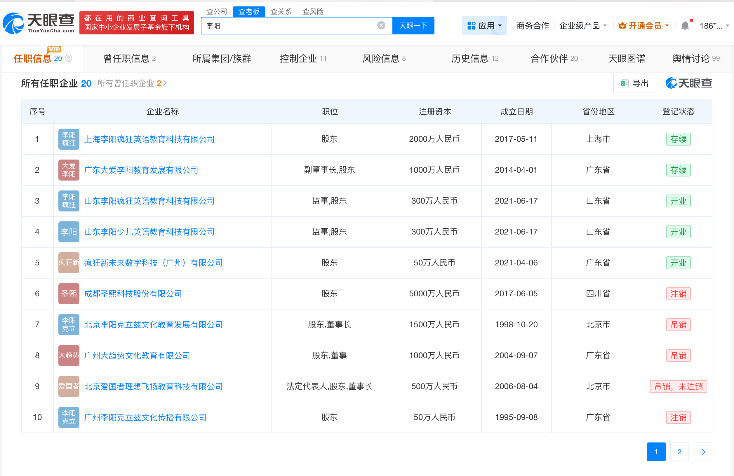
天眼查App显示,李阳名下关联20家企业,其中5家处于存续或开业状态,分别是上海李阳疯狂英语教育科技有限公司、广东大爱李阳教育发展有限公司等,其余15家企业已注销或被吊销,分别是成都圣熙科技股份有限公司、北京李阳克立兹文化教育发展有限公司等。

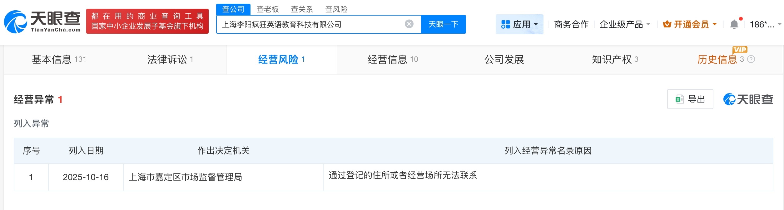
值得注意的是,10月16日,上海李阳疯狂英语教育科技有限公司因通过登记的住所或者经营场所无法联系,被上海市嘉定区市场监督管理局列入经营异常名录。

天眼查信息:https://www.tianyancha.com/human/1992388494-c3052927148

本文来自投稿,不代表创造权威IP 赋能创业者——IP百创立场,如若转载,请注明出处:创造权威IP 赋能创业者——IP百创

(0)
打赏 微信扫一扫 微信扫一扫 支付宝扫一扫 支付宝扫一扫
上一篇 2025年11月15日
下一篇 2025年11月15日

相关推荐

  • 陕西金融控股集团增资至53.1亿# 增幅约23%

    天眼查工商信息显示,近日,陕西金融控股集团有限公司发生工商变更,注册资本由约43.1亿人民币增至约53.1亿人民币,增幅约23%。 陕西金融控股集团有限公司成立于2012年3月,法定代表人为王作全,经营范围包括资本运作及资产管理、股权投资及管理、受托管理专项资金、信用担保和再担保等。股东信息显示,该公司由陕西省财政厅全资持股。 天眼查信息:https://w…

    行业动态 2026年1月7日
  • 天津三星电子公司注销

    天眼查App显示,近日,天津三星电子有限公司经营状态由存续变更为注销。 该公司成立于1993年4月,法定代表人为YUN JONGCHUL(尹钟撤),注册资本约1.93亿美元,经营范围含货物进出口、三星电子产品展示、厂房租赁等。股东信息显示,该公司由三星电子株式会社、三星(中国)投资有限公司、天津中环信息产业集团有限公司、天津通信广播集团有限公司共同持股。 天…

    2024年9月10日
  • AIMV,如何重新定义打歌?

    “奇点降临”的序曲。

    2025年5月31日
  • #科沃斯在浙江成立具身智能科技公司# 注册资本5000万

    天眼查工商信息显示,近日,擎鼎具身智能科技(浙江)有限公司成立,法定代表人为李钱欢,注册资本5000万人民币,经营范围含服务消费机器人制造、服务消费机器人销售、智能机器人的研发、智能机器人销售、机械设备研发、通用设备制造、信息技术咨询服务、人工智能应用软件开发、人工智能通用应用系统、人工智能硬件销售等。股东信息显示,该公司由科沃斯全资持股。 天眼查信息:ht…

    2025年8月8日
  • 蚂蚁集团旗下公司等入股星能玄光# 后者为可控核聚变技术研发商

    天眼查工商信息显示,近日,合肥星能玄光科技有限责任公司发生工商变更,新增蚂蚁集团旗下上海云玚企业管理咨询有限公司、紫金矿业股权投资管理(厦门)有限公司等为股东,同时,注册资本由约665万人民币增至约902.5万人民币。 合肥星能玄光科技有限责任公司成立于2024年3月,法定代表人为杨智达,经营范围包括新兴能源技术研发、电子产品销售、电子专用设备制造、电子专用…

    行业动态 2025年11月24日

发表回复

您的电子邮箱地址不会被公开。 必填项已用*标注

联系我们

邮件:939297903@qq.com

工作时间:周一至周五,9:30-18:30,节假日休息

关注微信