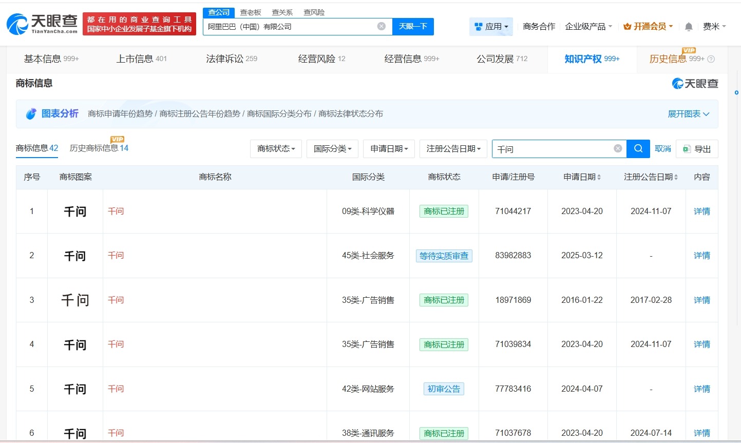
阿里已注册多枚千问商标

据媒体报道,11月17日,阿里巴巴正式宣布“千问”项目,全力进军AI to C市场。金沙江朱啸虎点评“千问”,对此高度评价,称硬刚ChatGPT的国产AI出现了,“在硅谷屠榜的Qwen模型杀回国内”,直接拉高了千问App的起点,还称赞其思考逻辑清晰、专业能力扎实,是中国市场真正需要的AI产品。

阿里已注册多枚千问商标

阿里已注册多枚千问商标

天眼查知识产权信息显示,阿里巴巴(中国)有限公司已成功注册多枚“千问”商标,国际分类包括科学仪器、广告销售、通讯服务等。此外,该公司已成功注册多枚“TONGYI QWEN”商标,国际分类包括广告销售、通讯服务、网站服务等。

天眼查信息:https://www.tianyancha.com/company/59837300/zhishi

本文来自投稿,不代表创造权威IP 赋能创业者——IP百创立场,如若转载,请注明出处:创造权威IP 赋能创业者——IP百创

(0)
打赏 微信扫一扫 微信扫一扫 支付宝扫一扫 支付宝扫一扫
上一篇 2025年11月18日
下一篇 2025年11月18日

相关推荐

  • 营收百亿 净利45亿,卡游的「卡牌炼金术」

    文 | 周天财经 周天财经 原创出品 一组石破天惊的IPO招股书财务数据震惊了2025年的资本市场。 这家冲击上市的公司是主营奥特曼卡牌的卡游公司,在2022年至2024年,营收分别为41.31亿元、26.62亿元和100.57 亿元;经调整净利润分别为16.20 亿元、9.34 亿元和44.66亿元。 如此高的营收和净利润率,来自于其在卡牌市场的绝对垄断,…

    2025年4月15日
  • 萝卜快跑在雄安成立科技公司注册资本500万

    天眼查App显示,近日,萝卜运力(雄安)科技有限公司成立,法定代表人为李英照,注册资本500万人民币,经营范围包括人工智能基础软件开发、人工智能应用软件开发、计算机系统服务等,由萝卜快跑关联公司萝卜运力(北京)科技有限公司全资持股。 天眼查信息:https://www.tianyancha.com/company/7816891599

    2025年10月28日
  • 杭州西部创新创业投资基金登记成立# 出资额10亿

    天眼查App显示,近日,杭州西部创新创业投资基金合伙企业(有限合伙)成立,执行事务合伙人为杭州国舜股权投资有限公司,出资额10亿人民币,经营范围为创业投资,由杭州产业投资有限公司、桐庐科技创新产业发展投资有限公司、杭州资向未来企业管理有限公司等共同出资。 天眼查信息:https://www.tianyancha.com/company/7885948817 …

    行业动态 2025年12月15日
  • 网红长沙㉕丨生育补贴落地,民生政策组合拳缓解人口压力

    就在上周,第一批申领国家育儿补贴的宝爸宝妈,已经把这笔钱揣到了兜里。 7月,《育儿补贴制度实施方案》正式发布,方案明确对符合法律法规规定生育的3周岁以下婴幼儿发放补贴,每孩每年3600元。国家卫生健康委介绍,8月31日之前各地全面开放育儿补贴的申领。 根据规定,符合条件的家庭可享受一次性生育补贴和0-3岁育儿津贴,补贴标准根据家庭生育孩次而有所不同。这项政策…

    2025年9月2日
  • 荣盛石化旗下舟山新材料公司增资至100亿# 增幅100%

    天眼查App显示,近日,荣盛新材料(舟山)有限公司发生工商变更,注册资本由50亿人民币增至100亿人民币,增幅100%。 该公司成立于2022年1月,法定代表人为项炯炯,经营范围包括石油制品销售、石油制品制造、合成材料制造等,由荣盛石化(002493)全资持股。 天眼查信息:https://www.tianyancha.com/company/5348600…

    行业动态 2025年12月12日

发表回复

您的电子邮箱地址不会被公开。 必填项已用*标注

联系我们

邮件:939297903@qq.com

工作时间:周一至周五,9:30-18:30,节假日休息

关注微信