胖东来集团发生高管变更

#胖东来集团多位高管变更#

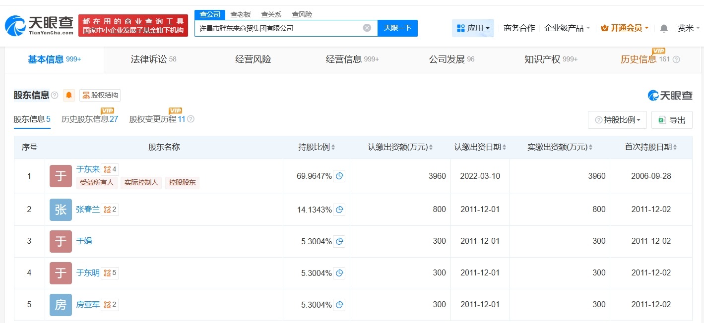
天眼查工商信息显示,近日,许昌市胖东来商贸集团有限公司发生工商变更,于东来增任董事,同时多位高管发生变更。

胖东来集团发生高管变更

胖东来集团发生高管变更

胖东来集团发生高管变更

许昌市胖东来商贸集团有限公司成立于1997年9月,法定代表人为于东来,注册资本5660万人民币,经营范围包括服装洗涤、鞋类修理、房地产开发销售等。股东信息显示,该公司由于东来、张春兰、于东明等共同持股。

天眼查信息:https://www.tianyancha.com/company/480167657

本文来自投稿,不代表创造权威IP 赋能创业者——IP百创立场,如若转载,请注明出处:创造权威IP 赋能创业者——IP百创

(0)
打赏 微信扫一扫 微信扫一扫 支付宝扫一扫 支付宝扫一扫
上一篇 2025年11月18日
下一篇 2025年11月18日

相关推荐

  • 起底承重墙被砸小区物业

    #承重墙被砸小区物业0人参保# #承重墙被砸1.6亿赔款谁来出# 据报道,近日,哈尔滨松北区一小区楼栋因业主私自拆改房屋承重墙,导致楼体出现裂缝,200多户居民被紧急疏散。该消息引发关注后,损失如何赔偿等引起网友热议。据悉,涉事小区物业公司为哈尔滨竣华物业管理有限公司。 天眼查App显示,哈尔滨竣华物业管理有限公司成立于2011年7月,法定代表人为曲国忠,注…

    行业动态 2023年5月6日
  • 暂停视频广告放大逼疯网友!明明想看细节视频网站却只想赚钱……

    中文互联网,不知道从什么时候开始,铺满了广告。 还记得很多年前,互联网还没那么普及的时候,大家看电视都吐槽,广告里插了电视剧,现在是互联网广告里,插了互联网服务。 从几乎所有的APP都将开屏摇一摇广告当成了标配,硬控十几亿网友,到支付工具各种看不完的广告,再到电商APP,打开每一个页面,消耗心气的疯狂地弹窗,把这一届网友都快逼疯了! 当然,说到广告,最让用户…

    2025年12月16日
  • 新石器无人车等在义乌成立科技公司# 注册资本1000万

    天眼查工商信息显示,近日,新石器慧达(浙江)科技有限公司成立,法定代表人为李子夷,注册资本1000万人民币,经营范围包括智能机器人的研发、新能源汽车换电设施销售、人工智能硬件销售等。股东信息显示,该公司由新石器慧通(北京)科技有限公司、义乌市中寰贸易有限公司共同持股。 天眼查信息:https://www.tianyancha.com/company/7916…

    行业动态 2026年1月8日
  • 严学峰在娃哈哈旗下多家公司担任监事

    #严学峰名下关联180余家企业# #祝丽丹在娃哈哈旗下多家公司担任经理# #祝丽丹名下关联160余家企业# #宏胜严学峰祝丽丹岗位已变更为待定#10月14日,澎湃新闻记者获悉,宏胜饮料集团有限公司内部系统中,严学峰、祝丽丹岗位显示“待定”。有消息称,上述两人已申请离职。澎湃新闻记者拨打严学峰、祝丽丹两人电话,电话均未接听。天眼查App显示,严学峰名下关联近1…

    2025年10月14日
  • 奇瑞汽车公布车载K歌专利# 可改善车载K歌效果

    天眼查App显示,近日,奇瑞汽车股份有限公司申请的“车载K歌方法、系统、车载终端及车辆”专利公布。 摘要显示,移动终端将其内置的麦克风获取到的原始音频数据进行降噪后,无线传输至车载终端采用预先训练好的机器学习模型进行优化并采用预设声学模型进行声场补偿,车载终端对声场补偿后音频数据进行混音并对混音后音频数据进行输出,无需使用专用车载麦克风即可通过移动终端与车载…

    行业动态 2025年12月10日

发表回复

您的电子邮箱地址不会被公开。 必填项已用*标注

联系我们

邮件:939297903@qq.com

工作时间:周一至周五,9:30-18:30,节假日休息

关注微信